Аэродинамическая схема квадроплан

0
Экраноплан Орленок
Экраноплан Орленок
Аэродинамические схемы самолетов бесхвостка
Аэродинамические схемы самолетов бесхвостка
Схемы пайки FPV квадрокоптера
Схемы пайки FPV квадрокоптера
Аэродинамические схемы самолетов бесхвостка
Аэродинамические схемы самолетов бесхвостка
Аэродинамическая схема самолета летающее крыло
Аэродинамическая схема самолета летающее крыло
Тяжелый транспортный самолет интегральной схемы (ТТС-ИС)
Тяжелый транспортный самолет интегральной схемы (ТТС-ИС)
Аэродинамическая схема
Аэродинамическая схема
Правило знаков самолет
Правило знаков самолет
Центроплан самолета схема

Фотография Центроплан самолета схема

Аэродинамические схемы самолетов бесхвостка
Аэродинамические схемы самолетов бесхвостка
Повышение аэродинамического качества самолета
Повышение аэродинамического качества самолета
Аэродинамическая схема самолета утка
Аэродинамическая схема самолета утка
Плакаты по авиамоделированию
Плакаты по авиамоделированию
Моделист конструктор архив журналов
Моделист конструктор архив журналов
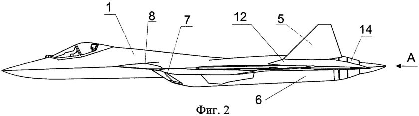
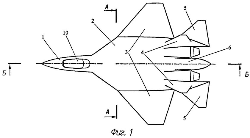
Су 57 аэродинамическая схема
Су 57 аэродинамическая схема
Клепка летательных аппаратов
Клепка летательных аппаратов
Аэродинамическая схема самолета утка
Аэродинамическая схема самолета утка
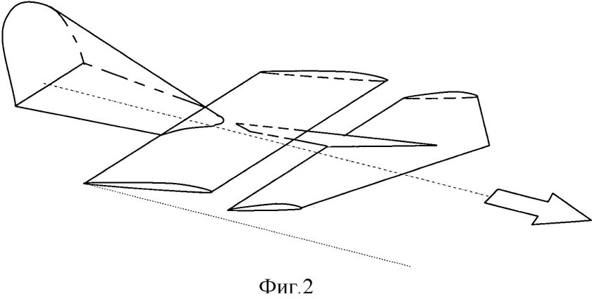
Конвертируемая аэродинамическая схема самолета
Конвертируемая аэродинамическая схема самолета
Схема вращения пропеллеров квадрокоптера
Схема вращения пропеллеров квадрокоптера
Чертежи советских самолетов

Фотография Чертежи советских самолетов

Нормальная аэродинамическая схема
Нормальная аэродинамическая схема
Практическая аэродинамика ил-76
Практическая аэродинамика ил-76
Книга Кондратьев самолет своими руками
Книга Кондратьев самолет своими руками
Буран космический корабль чертежи
Буран космический корабль чертежи
Самолет с кольцевым крылом
Самолет с кольцевым крылом
Кондратьев самолет своими руками
Кондратьев самолет своими руками
Миг 29 чертеж
Миг 29 чертеж
Поворотное крыло
Поворотное крыло
Сверхзвуковой пассажирский самолет ту 144
Сверхзвуковой пассажирский самолет ту 144
Аэродинамическая схема компоновки
Аэродинамическая схема компоновки
Miles m.35 libellula
Miles m.35 libellula
Самолёт Горацио Филлипса
Самолёт Горацио Филлипса
Бесхвостка аэродинамическая схема
Бесхвостка аэродинамическая схема
Аэродинамическая схема Су 27
Аэродинамическая схема Су 27
Экраноплан конструкция Алексеева
Экраноплан конструкция Алексеева
Планер ЦАГИ-2
Планер ЦАГИ-2
Шасси самолета АН-140 чертеж
Шасси самолета АН-140 чертеж
Продольная устойчивость самолета
Продольная устойчивость самолета
Вертолет поперечной схемы двухвинтовой
Вертолет поперечной схемы двухвинтовой
Посадка самолета при боковом ветре

Фотография Посадка самолета при боковом ветре

Схема ПТРК 9к111
Схема ПТРК 9к111
Чертежи БПЛА самолетного типа
Чертежи БПЛА самолетного типа
Чертежи самолетов ультралайт
Чертежи самолетов ультралайт
Armstrong Whitworth f.k.10
Armstrong Whitworth f.k.10
Чертежи БПЛА самолетного типа
Чертежи БПЛА самолетного типа
Бесхвостка аэродинамическая схема
Бесхвостка аэродинамическая схема
Аэродинамическая и балансировочные схемы самолетов
Аэродинамическая и балансировочные схемы самолетов
Аэродинамическая компоновка самолета
Аэродинамическая компоновка самолета
Ла-17р беспилотный летательный аппарат
Ла-17р беспилотный летательный аппарат
Ш (ЛБШ) Кочеригин
Ш (ЛБШ) Кочеригин
Ту-135 стратегический сверхзвуковой бомбардировщик
Ту-135 стратегический сверхзвуковой бомбардировщик
БПЛА Орлан-10 чертеж
БПЛА Орлан-10 чертеж
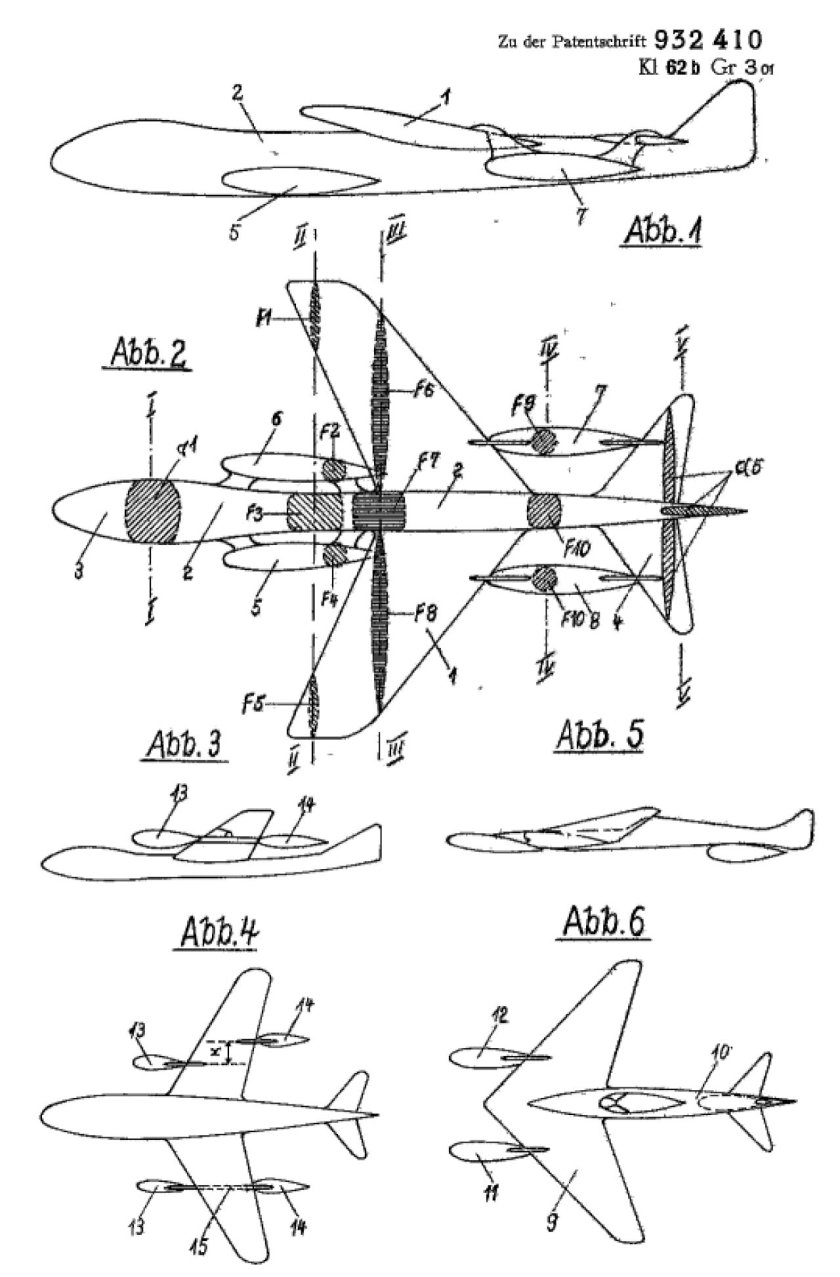
Продольный триплан аэродинамическая схема
Продольный триплан аэродинамическая схема
Биплан чертеж
Биплан чертеж
Низкоплан схема
Низкоплан схема
Аэродинамические схемы беспилотников
Аэродинамические схемы беспилотников
Расположение двигателей на самолете
Расположение двигателей на самолете
Аэродинамика планера
Аэродинамика планера
Хв-70 Валькирия

Фотография Хв-70 Валькирия

Як 40 крыло чертеж
Як 40 крыло чертеж
Конвертируемая аэродинамическая схема самолета
Конвертируемая аэродинамическая схема самолета
Бесхвостка аэродинамическая схема
Бесхвостка аэродинамическая схема
Летательный аппарат на эффекте Коанда
Летательный аппарат на эффекте Коанда
Крыло обратной стреловидности аэродинамика
Крыло обратной стреловидности аэродинамика
Циклолет летательный аппарат
Циклолет летательный аппарат
Бесхвостка аэродинамическая схема
Бесхвостка аэродинамическая схема
0

Похожие фотографии

Комментарии (0)

Кликните на изображение чтобы обновить код, если он неразборчив