Аэродинамика крыла самолета

0
Средняя аэродинамическая хорда крыла самолета
Средняя аэродинамическая хорда крыла самолета
Аэродинамика крыла самолета подъемная сила
Аэродинамика крыла самолета подъемная сила
Аэродинамика полета птицы
Аэродинамика полета птицы
Обтекание крыла самолета потоком воздуха
Обтекание крыла самолета потоком воздуха
Подъемная сила профиля крыла
Подъемная сила профиля крыла
Эффект экрана экранопланы
Эффект экрана экранопланы
Схема воздушных потоков вокруг крыла самолета
Схема воздушных потоков вокруг крыла самолета
Аэродинамика фокус крыла самолета
Аэродинамика фокус крыла самолета
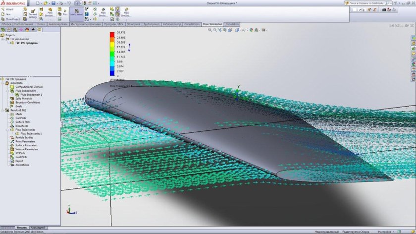
Модель самолета в Солид Воркс

Фотография Модель самолета в Солид Воркс

Аэродинамика крыла самолета подъемная сила
Аэродинамика крыла самолета подъемная сила
Аэродинамика фокус крыла самолета
Аэродинамика фокус крыла самолета
Сваливание аэродинамика
Сваливание аэродинамика
Аэродинамика крыла самолета подъемная сила
Аэродинамика крыла самолета подъемная сила
Закрылки Элероны интерцепторы
Закрылки Элероны интерцепторы
Аэродинамика 757
Аэродинамика 757
Аэродинамика турбулентность
Аэродинамика турбулентность
Индукционное сопротивление крыла
Индукционное сопротивление крыла
Сваливание аэродинамика
Сваливание аэродинамика
Сверхзвуковой профиль крыла
Сверхзвуковой профиль крыла
Аэродинамика крыла самолета подъемная сила

Фотография Аэродинамика крыла самолета подъемная сила

Солид Воркс 2021
Солид Воркс 2021
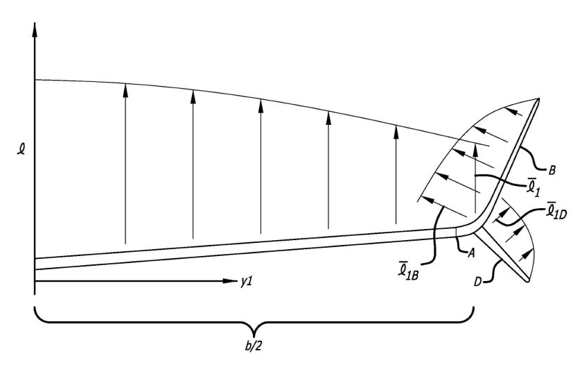
Эпюра подъемной силы крыла
Эпюра подъемной силы крыла
Аэродинамическая труба аэромеханики
Аэродинамическая труба аэромеханики
HEXAFLY-INT самолет
HEXAFLY-INT самолет
Аэродинамический профиль крыла самолета
Аэродинамический профиль крыла самолета
Поляра крыла аэродинамика
Поляра крыла аэродинамика
Аэродинамика бла
Аэродинамика бла
Продольная управляемость самолета
Продольная управляемость самолета
Аэродинамика обтекания потоком профиля крыла
Аэродинамика обтекания потоком профиля крыла
Гиперзвукового летательного аппарата «аякс»
Гиперзвукового летательного аппарата «аякс»
Профиль крыла самолета аэродинамика
Профиль крыла самолета аэродинамика
Угол атаки аэродинамика
Угол атаки аэродинамика
Аэродинамика крыла самолета подъемная сила
Аэродинамика крыла самолета подъемная сила
Аэродинамический профиль крыла самолета
Аэродинамический профиль крыла самолета
Диаграмма распределения давления по поверхности крыла
Диаграмма распределения давления по поверхности крыла
Аэродинамика космических аппаратов
Аэродинамика космических аппаратов
Диаграмма давления на профиле крыла
Диаграмма давления на профиле крыла
Центр тяжести пилотажного самолета
Центр тяжести пилотажного самолета
Обтекание симметричного профиля крыла самолета
Обтекание симметричного профиля крыла самолета
Закрылок ил 76

Фотография Закрылок ил 76

Схема бесхвостка аэродинамика
Схема бесхвостка аэродинамика
Турбулизатор крыла
Турбулизатор крыла
Веер разрежения аэродинамика
Веер разрежения аэродинамика
Аэродинамика крыла самолета подъемная сила
Аэродинамика крыла самолета подъемная сила
Профиль крыла самолета аэродинамика
Профиль крыла самолета аэродинамика
Аэродинамика крыла самолета подъемная сила
Аэродинамика крыла самолета подъемная сила
Экспериментальная аэродинамика
Экспериментальная аэродинамика
Средняя аэродинамическая хорда
Средняя аэродинамическая хорда
Аэродинамические характеристики ил-76
Аэродинамические характеристики ил-76
Аэродинамическая поляра
Аэродинамическая поляра
Плакаты по авиамоделированию
Плакаты по авиамоделированию
Фокус самолета аэродинамика
Фокус самолета аэродинамика
Самолеты будущего
Самолеты будущего
Угол поперечной статической устойчивости малогабаритного трактора
Угол поперечной статической устойчивости малогабаритного трактора
Аэродинамический фокус крыла самолета
Аэродинамический фокус крыла самолета
Аэродинамика поляра самолета
Аэродинамика поляра самолета
RQ-11 Raven чертежи
RQ-11 Raven чертежи
Профиль крыла ЦАГИ П-151
Профиль крыла ЦАГИ П-151
Закрылки аэродинамика
Закрылки аэродинамика
Аэродинамика обтекания потоком профиля крыла

Фотография Аэродинамика обтекания потоком профиля крыла

Аэродинамика Су 27
Аэродинамика Су 27
Аэродинамика обтекание воздуха
Аэродинамика обтекание воздуха
Скачок уплотнения аэродинамика
Скачок уплотнения аэродинамика
Угол атаки лопасти винта самолета
Угол атаки лопасти винта самолета
Крыло обратной стреловидности аэродинамика
Крыло обратной стреловидности аэродинамика
Средняя аэродинамическая хорда крыла самолета
Средняя аэродинамическая хорда крыла самолета
Планер силуэт
Планер силуэт
Нервюра крыла ил 76
Нервюра крыла ил 76
Схема аэродинамики самолета
Схема аэродинамики самолета
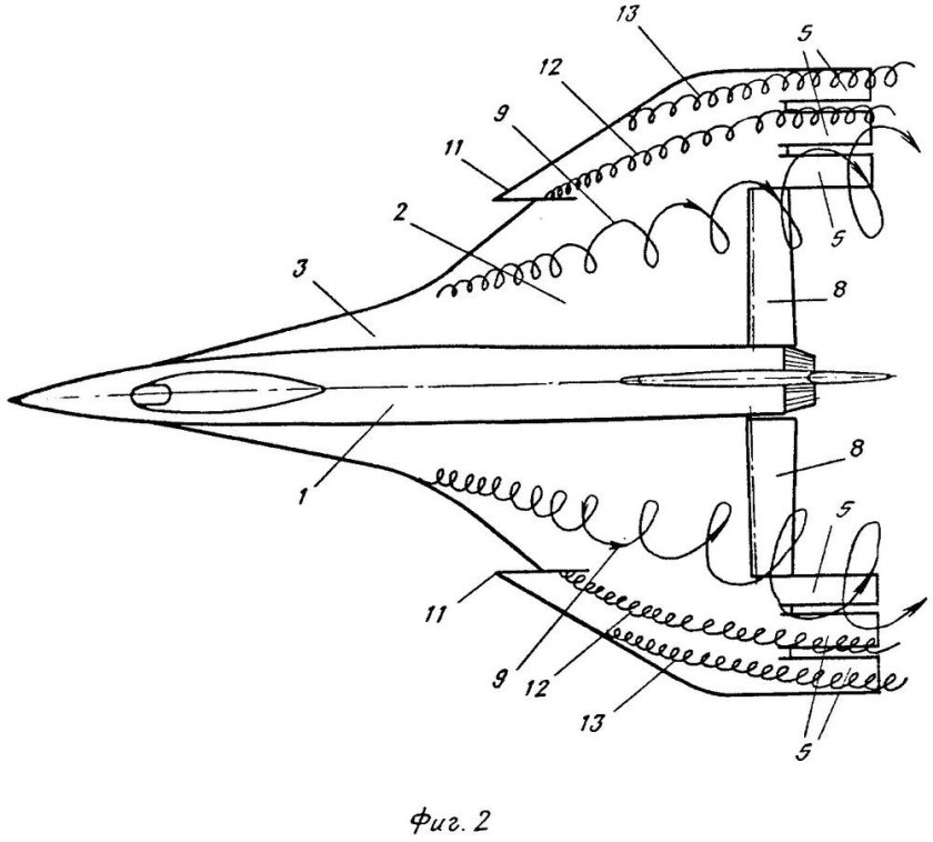
Вихревая аэродинамика
Вихревая аэродинамика
Аэродинамика крыла
Аэродинамика крыла
Строение крыла птицы
Строение крыла птицы
Средняя аэродинамическая хорда крыла
Средняя аэродинамическая хорда крыла
Аэродинамика крыла самолета подъемная сила
Аэродинамика крыла самолета подъемная сила
Скачок уплотнения аэродинамика
Скачок уплотнения аэродинамика
0

Похожие фотографии

Комментарии (0)

Кликните на изображение чтобы обновить код, если он неразборчив