Гайка иисуса на вертолете

0
Гайка Иисуса
Гайка Иисуса
Гайка Иисуса
Гайка Иисуса
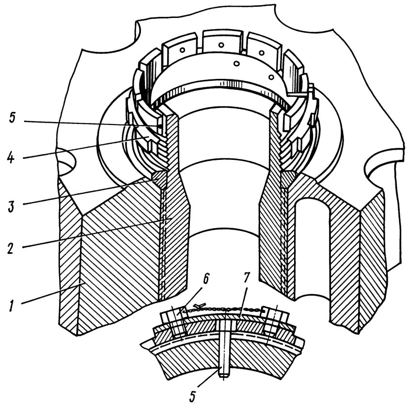
Втулка несущего винта вертолета ми-8
Втулка несущего винта вертолета ми-8
Гайка Иисуса
Гайка Иисуса
Гайка жизни на вертолете ми-8
Гайка жизни на вертолете ми-8
Упорный подшипник паровой турбины
Упорный подшипник паровой турбины
Гайка Иисуса
Гайка Иисуса
Христос Искупитель Рио де Жанейро
Христос Искупитель Рио де Жанейро
Гайка клетевая

Фотография Гайка клетевая

Колёсные гайки для Дэу Джентра
Колёсные гайки для Дэу Джентра
Гайка Иисуса
Гайка Иисуса
Ржавый болт
Ржавый болт
Статуя христа искупителя в рио де жанейро
Статуя христа искупителя в рио де жанейро
Гайка на рулевой наконечник Ауди 80
Гайка на рулевой наконечник Ауди 80
Вертолетная для дронов
Вертолетная для дронов
"Болт + гайка оригинал.резьба 5/8"" импорт ete t-1005 - болт, t-1059 - гайка"
"Болт + гайка оригинал.резьба 5/8"" импорт ete t-1005 - болт, t-1059 - гайка"
Иисус байкер
Иисус байкер
Каннский фестиваль
Каннский фестиваль
Втулка поводка стеклоочистителя Туарег
Втулка поводка стеклоочистителя Туарег
Вертолётная гайка Иисус

Фотография Вертолётная гайка Иисус

Полет над Рио де Жанейро
Полет над Рио де Жанейро
Портрет иисуса христа
Портрет иисуса христа
Cadillac SRX 4 колесные гайки
Cadillac SRX 4 колесные гайки
Гайка 12х18н10т
Гайка 12х18н10т
Гайка заглушка рулевой рейки Форд фокус 2
Гайка заглушка рулевой рейки Форд фокус 2
Hyundai HD 78 гайки колесная
Hyundai HD 78 гайки колесная
Гайка 70-4202083-а
Гайка 70-4202083-а
Йога Постер
Йога Постер
Туринская плащаница в Турине
Туринская плащаница в Турине
Гайка т-130 шпильки 700-30-2047
Гайка т-130 шпильки 700-30-2047
Гайка м8 Дин 934
Гайка м8 Дин 934
Пьяная гайка резьбе не хозяйка
Пьяная гайка резьбе не хозяйка
Распятие Иисуса Христа на кресте
Распятие Иисуса Христа на кресте
Тайная вечеря леонардо да винчи
Тайная вечеря леонардо да винчи
Гайка м24 ГОСТ 52645-2006
Гайка м24 ГОСТ 52645-2006
Втулка несущего винта ми-8
Втулка несущего винта ми-8
Гайка колесная Вольво
Гайка колесная Вольво
Ми 17
Ми 17
Гайка колесная УАЗ Хантер литой диск
Гайка колесная УАЗ Хантер литой диск
Икона иисуса христа

Фотография Икона иисуса христа

Гайка шестигранная м6 6н ст.20
Гайка шестигранная м6 6н ст.20
Смешные картинки с надписями
Смешные картинки с надписями
Хесус стример
Хесус стример
Гайка соединительная м4 удлиненная
Гайка соединительная м4 удлиненная
Комикс про Иисуса Христа
Комикс про Иисуса Христа
Гейб Ньюэлл Бог
Гейб Ньюэлл Бог
Шасси самолета
Шасси самолета
Гигантская гайка
Гигантская гайка
Дин 985 гайка самоконтрящаяся
Дин 985 гайка самоконтрящаяся
Гайка м20 оцинкованная din934
Гайка м20 оцинкованная din934
Новый чип и Дейл 2022 Гаечка
Новый чип и Дейл 2022 Гаечка
Виды гаек
Виды гаек
Гайка шаблон
Гайка шаблон
Гайка раскраска
Гайка раскраска
Гайка вектор 2130 CR
Гайка вектор 2130 CR
Прыжок веры Мем Иисус

Фотография Прыжок веры Мем Иисус

Реактивный самолётик Джей-Джей
Реактивный самолётик Джей-Джей
Гайка 9064-75
Гайка 9064-75
Гайка винта Меркурий 60
Гайка винта Меркурий 60
Ми 28 рулевой винт
Ми 28 рулевой винт
Спас Нерукотворный флаг
Спас Нерукотворный флаг
Иванова явление Христа народу
Иванова явление Христа народу
Гайка и Вжик 42 ребенка
Гайка и Вжик 42 ребенка
Гайка мебельная м8 din 1624 врезная
Гайка мебельная м8 din 1624 врезная
Гайка м12 Дин 934
Гайка м12 Дин 934
Гайка м60 ISO 4032
Гайка м60 ISO 4032
Гайка самоконтрящаяся din 985
Гайка самоконтрящаяся din 985
Камавинга и Винисиус
Камавинга и Винисиус
Танцующий Иисус на кресте
Танцующий Иисус на кресте
Гайка 3030971
Гайка 3030971
Призрак Киева Зеленский
Призрак Киева Зеленский
Чип и Дейл спешат на помощь гайка
Чип и Дейл спешат на помощь гайка
Фольксваген гольф 4 гайка ступицы
Фольксваген гольф 4 гайка ступицы
Смешной вертолет
Смешной вертолет
Гайка шаблон
Гайка шаблон
Ежик на вертолете
Ежик на вертолете
Иерусалим Распятие Иисуса Христа
Иерусалим Распятие Иисуса Христа
0

Похожие фотографии

Комментарии (0)

Кликните на изображение чтобы обновить код, если он неразборчив