Шаг несущего винта вертолета

0
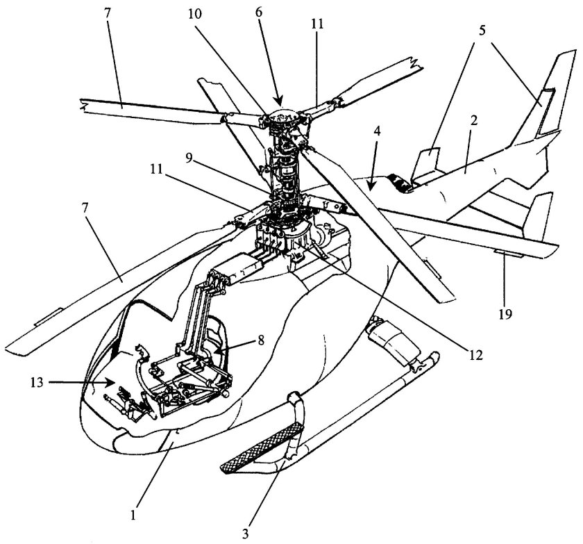
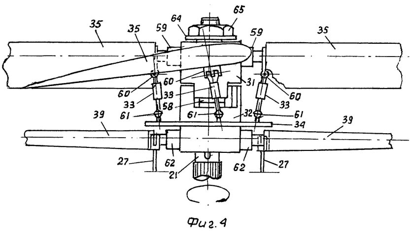
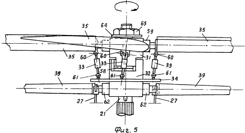
Автомат перекоса винтов вертолета ка50
Автомат перекоса винтов вертолета ка50
Автомат перекоса вертолета ми-8
Автомат перекоса вертолета ми-8
Автомат перекоса винтов вертолета ка50
Автомат перекоса винтов вертолета ка50
Автомат перекоса вертолета ми-8
Автомат перекоса вертолета ми-8
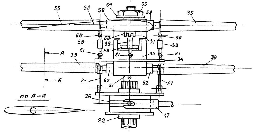
Втулка несущего винта Робинсон 44
Втулка несущего винта Робинсон 44
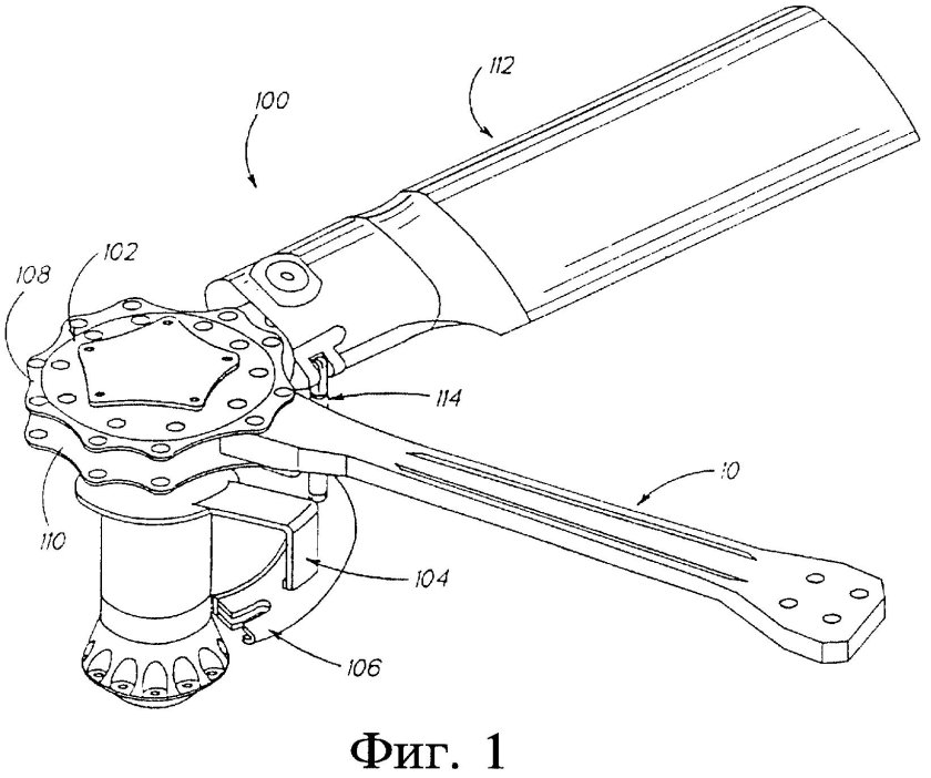
Руководство по эксплуатации
Руководство по эксплуатации
Вертолет Москито АИР
Вертолет Москито АИР
Автомат перекоса винта ка 52
Автомат перекоса винта ка 52
Лопасть несущего винта вертолета ми-8

Фотография Лопасть несущего винта вертолета ми-8

Втулка несущего винта bo-105
Втулка несущего винта bo-105
Втулка несущего винта Робинсон 44
Втулка несущего винта Робинсон 44
Цвета украинских вертолетов к 52
Цвета украинских вертолетов к 52
Схема автомата перекоса соосной схемы
Схема автомата перекоса соосной схемы
Автомат перекоса вертолета ка 52
Автомат перекоса вертолета ка 52
Горизонтальный шарнир втулки несущего винта ми-8
Горизонтальный шарнир втулки несущего винта ми-8
Зона обратного обтекания несущего винта
Зона обратного обтекания несущего винта
Лопасть несущего винта вертолета ми-8
Лопасть несущего винта вертолета ми-8
Тормоз несущего винта ми-8
Тормоз несущего винта ми-8
Втулка несущего винта bo-105
Втулка несущего винта bo-105
Ручка шаг ГАЗ вертолета ми-8

Фотография Ручка шаг ГАЗ вертолета ми-8

Автомат перекоса вертолета ми 26
Автомат перекоса вертолета ми 26
Автомат перекоса винтов вертолета ка50
Автомат перекоса винтов вертолета ка50
Втулка несущего винта вертолета Ансат
Втулка несущего винта вертолета Ансат
Аэродинамическая крутка лопасти несущего винта
Аэродинамическая крутка лопасти несущего винта
Центробежный ограничитель свеса лопасти ми-8
Центробежный ограничитель свеса лопасти ми-8
MD 520n notar Helicopter
MD 520n notar Helicopter
Автомат перекоса ка 26
Автомат перекоса ка 26
Автомат перекоса винта вертолета
Автомат перекоса винта вертолета
Втулка несущего винта ми-28н
Втулка несущего винта ми-28н
Втулка несущего винта Робинсон 44
Втулка несущего винта Робинсон 44
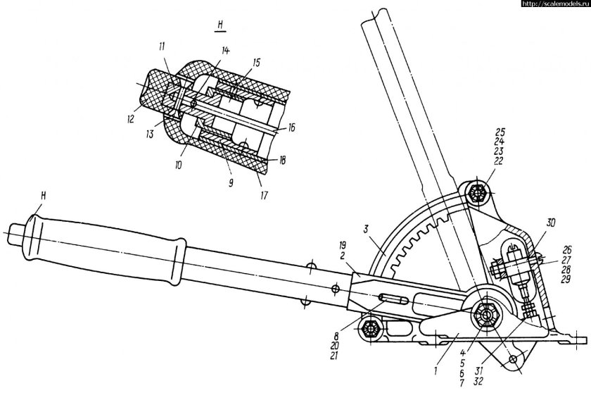
Механизм автомата перекоса
Механизм автомата перекоса
Винт пропеллер для аэросаней чертежи
Винт пропеллер для аэросаней чертежи
Рулевой винт ми-24
Рулевой винт ми-24
Ротор автожира
Ротор автожира
Формула подъемной силы несущего винта
Формула подъемной силы несущего винта
Автомат перекоса вертолета ми 26
Автомат перекоса вертолета ми 26
Ансат втулка несущего винта
Ансат втулка несущего винта
Привод хвостового винта вертолета ми 8
Привод хвостового винта вертолета ми 8
Втулка несущего винта вертолета ми-8
Втулка несущего винта вертолета ми-8
Автомат перекоса вертолета Робинсон

Фотография Автомат перекоса вертолета Робинсон

Лопасть несущего винта ми-8 чертеж
Лопасть несущего винта ми-8 чертеж
Автомат перекоса винтов вертолета ка50
Автомат перекоса винтов вертолета ка50
Ми 8мт винты
Ми 8мт винты
Втулка несущего винта ми-2
Втулка несущего винта ми-2
Несущий винт вертолета
Несущий винт вертолета
Ми 28 рулевой винт
Ми 28 рулевой винт
Рулевой винт ми-8
Рулевой винт ми-8
Втулка несущего винта ми 8
Втулка несущего винта ми 8
Формула для расчета подъемной силы лопасти несущего винта
Формула для расчета подъемной силы лопасти несущего винта
Автомат перекоса ка-52
Автомат перекоса ка-52
Вертолёты с соосными винтами
Вертолёты с соосными винтами
Рулевой винт ми-8
Рулевой винт ми-8
Шасси вертолета ка 52
Шасси вертолета ка 52
Рулевой винт ми-8
Рулевой винт ми-8
Втулка несущего винта Робинсон 44
Втулка несущего винта Робинсон 44
Рулевой винт вертолета ми-8
Рулевой винт вертолета ми-8
Автомат перекоса вертолета ка 52
Автомат перекоса вертолета ка 52
Автомат перекоса вертолета ка 52
Автомат перекоса вертолета ка 52
Шасси вертолета ми-24
Шасси вертолета ми-24
Рулевые винты Апач АН 64

Фотография Рулевые винты Апач АН 64

Автомат перекоса винтов вертолета ка50
Автомат перекоса винтов вертолета ка50
Ми 28 винт
Ми 28 винт
Кинематическая схема колонки несущих винтов вертолета
Кинематическая схема колонки несущих винтов вертолета
Привод хвостового винта вертолета ми 8
Привод хвостового винта вертолета ми 8
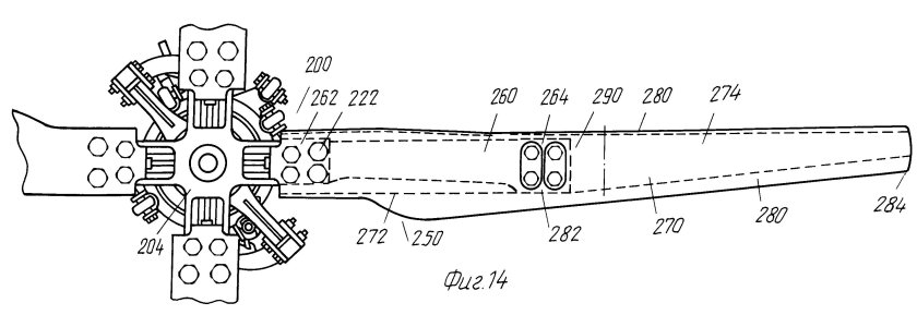
Лопасть винта вертолета
Лопасть винта вертолета
Автомат перекоса ка 26
Автомат перекоса ка 26
Рулевой винт ми-8
Рулевой винт ми-8
Кинематическая схема колонки несущих винтов вертолета
Кинематическая схема колонки несущих винтов вертолета
Robinson r44 втулка винта
Robinson r44 втулка винта
Автомат перекоса винтов вертолета ка50
Автомат перекоса винтов вертолета ка50
Вертолет ми-8 схема трансмиссии
Вертолет ми-8 схема трансмиссии
Ротор несущего винта автожира
Ротор несущего винта автожира
Несущий винт aw139
Несущий винт aw139
Лопасти нв вертолета sa330
Лопасти нв вертолета sa330
Воздушный винт v 503a
Воздушный винт v 503a
Ah-64 Apache Компоновочная схема
Ah-64 Apache Компоновочная схема
Узел крепления лопасти вертолета ми-8
Узел крепления лопасти вертолета ми-8
Номограмма расчета воздушного винта
Номограмма расчета воздушного винта
Втулка несущего винта ми-8
Втулка несущего винта ми-8
Хвостовой винт вертолета ми-8
Хвостовой винт вертолета ми-8
Ми-8 винт
Ми-8 винт
Рулевой винт ми-8
Рулевой винт ми-8
Хвостовой винт вертолета ми-8
Хвостовой винт вертолета ми-8
Аэродинамические силы воздушного винта
Аэродинамические силы воздушного винта
Стабилизатор вертолета ми-8
Стабилизатор вертолета ми-8
Автомат перекоса вертолета ка 52
Автомат перекоса вертолета ка 52
Профиль лопасти вертолета ми-8
Профиль лопасти вертолета ми-8
Ручка шаг ГАЗ вертолета ми-8
Ручка шаг ГАЗ вертолета ми-8
Рулевой винт ми-8
Рулевой винт ми-8
Лопасть несущего винта вертолета ми-8
Лопасть несущего винта вертолета ми-8
Угол атаки лопасти винта
Угол атаки лопасти винта
Автомат перекоса винтов вертолета ка50
Автомат перекоса винтов вертолета ка50
Лопасти вертолета ми-8
Лопасти вертолета ми-8
Ми-6 вертолет Компоновочная схема
Ми-6 вертолет Компоновочная схема
Автомат перекоса ка-52
Автомат перекоса ка-52
ВРТ 500 вертолет
ВРТ 500 вертолет
Схема двигателя вертолета ми-8
Схема двигателя вертолета ми-8
Втулка несущего винта Робинсон 44
Втулка несущего винта Робинсон 44
0

Похожие фотографии

Комментарии (0)

Кликните на изображение чтобы обновить код, если он неразборчив