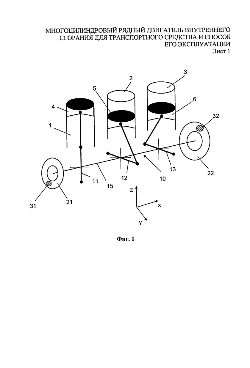
Конфигурация двигателя внутреннего сгорания

0
Типы двигателей внутреннего сгорания по расположению цилиндров
Типы двигателей внутреннего сгорания по расположению цилиндров
ВР образный двигатель
ВР образный двигатель
Ауди w12 двигатель
Ауди w12 двигатель
Типы двигателей по расположению цилиндров
Типы двигателей по расположению цилиндров
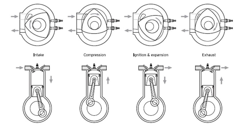
Такты 4 тактного двигателя
Такты 4 тактного двигателя
Двигатель внутреннего сгорания схема
Двигатель внутреннего сгорания схема
Схемы взаимного расположения цилиндров в многоцилиндровом двигателе
Схемы взаимного расположения цилиндров в многоцилиндровом двигателе
Схемы компоновки цилиндров двигателей
Схемы компоновки цилиндров двигателей
Двигатель 5тдф поршень

Фотография Двигатель 5тдф поршень

Двигатель ВАЗ 2109 8 клапанов в разрезе
Двигатель ВАЗ 2109 8 клапанов в разрезе
Четырехцилиндровый двигатель
Четырехцилиндровый двигатель
Схема работы 4 тактного двигателя двс
Схема работы 4 тактного двигателя двс
Устройство двигателя внутреннего сгорания
Устройство двигателя внутреннего сгорания
Рабочий объем двигателя
Рабочий объем двигателя
Parts of Internal combustion engine
Parts of Internal combustion engine
Система смазки двигателя
Система смазки двигателя
Двигатель ГАЗ м20 в разрезе
Двигатель ГАЗ м20 в разрезе
Как работает 8 тактный двигатель
Как работает 8 тактный двигатель
Схема работы 4 тактного двигателя ДВС
Схема работы 4 тактного двигателя ДВС
Двигатель внутреннего сгорания ВАЗ 21213

Фотография Двигатель внутреннего сгорания ВАЗ 21213

3д модель двигателя v8
3д модель двигателя v8
Такт сжатия дизельного двигателя
Такт сжатия дизельного двигателя
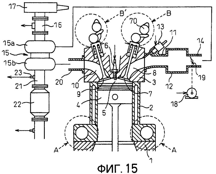
Непосредственный впрыск топлива
Непосредственный впрыск топлива
Типы двигателей ДВС
Типы двигателей ДВС
Устройство 4 тактного двигателя сгорания
Устройство 4 тактного двигателя сгорания
4 Stroke Diesel engine
4 Stroke Diesel engine
Двигатель внутреннего сгорания v6
Двигатель внутреннего сгорания v6
V12 engine 3d model
V12 engine 3d model
Оппозитный ДВС Субару
Оппозитный ДВС Субару
Поршневой двигатель схемы оппозитный
Поршневой двигатель схемы оппозитный
Виды расположения цилиндров
Виды расположения цилиндров
Из чего состоит ДВС автомобиля
Из чего состоит ДВС автомобиля
ВМТ И НМТ
ВМТ И НМТ
Устройство ГРМ 8 клапанного двигателя
Устройство ГРМ 8 клапанного двигателя
Двухтактный ДВС
Двухтактный ДВС
Система смазки двигателя Шевроле
Система смазки двигателя Шевроле
Схема двигателя внутреннего сгорания v8
Схема двигателя внутреннего сгорания v8
Двигатель ЗМЗ 402
Двигатель ЗМЗ 402
Оппозитный 8 цилиндровый двигатель
Оппозитный 8 цилиндровый двигатель
BMW GTL 1600 двигатель

Фотография BMW GTL 1600 двигатель

Ea288 2.0 TDI
Ea288 2.0 TDI
Идеальные циклы поршневых ДВС.
Идеальные циклы поршневых ДВС.
Двигатели внутреннего сгорания
Двигатели внутреннего сгорания
Рядный двигатель
Рядный двигатель
Двигатель с искровым зажиганием
Двигатель с искровым зажиганием
4 Такта четырехтактного двигателя
4 Такта четырехтактного двигателя
W 12 двигатель audi
W 12 двигатель audi
Схема двигателя Харлей Дэвидсон
Схема двигателя Харлей Дэвидсон
Роторно-поршневой двигатель строение
Роторно-поршневой двигатель строение
Четырехцилиндровый двигатель
Четырехцилиндровый двигатель
Двигатель Porsche 911 чертеж
Двигатель Porsche 911 чертеж
0

Похожие фотографии

Комментарии (0)

Кликните на изображение чтобы обновить код, если он неразборчив