Двухтактный судовой двигатель двойного действия

0
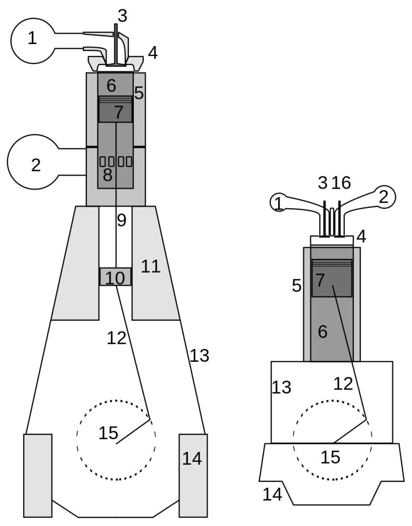
Крейцкопфные дизеля судовые
Крейцкопфные дизеля судовые
Принцип работы двухтактного двигателя внутреннего сгорания схема
Принцип работы двухтактного двигателя внутреннего сгорания схема
Двухтактный дизельный ДВС схема
Двухтактный дизельный ДВС схема
Принцип работы 2 тактного дизельного двигателя
Принцип работы 2 тактного дизельного двигателя
Принцип работы двс 2 тактного
Принцип работы двс 2 тактного
Судовой дизель man b w 6l42mc
Судовой дизель man b w 6l42mc
Принцип работы 2 тактного дизельного двигателя
Принцип работы 2 тактного дизельного двигателя
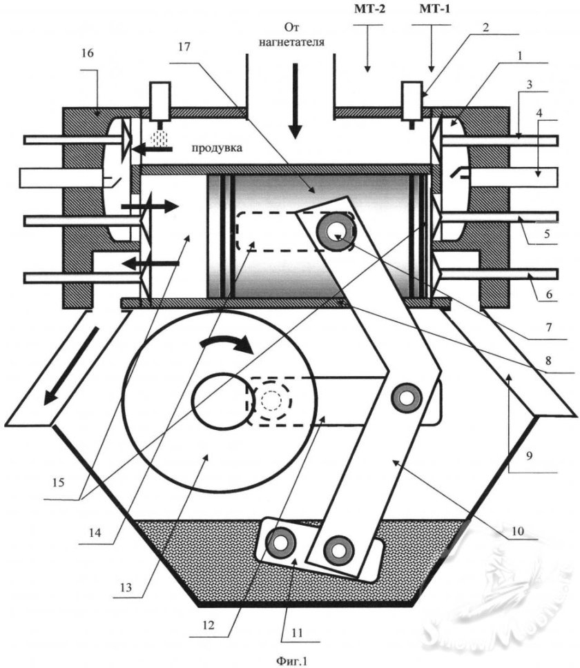
Двухтактный крейцкопфный двигатель
Двухтактный крейцкопфный двигатель
Судовой двигатель Wartsila 6l20

Фотография Судовой двигатель Wartsila 6l20

2 Тактный двигатель принцип работы схема
2 Тактный двигатель принцип работы схема
Двухтактный крейцкопфный двигатель
Двухтактный крейцкопфный двигатель
Судовой дизельный двигатель
Судовой дизельный двигатель
Двигатель man b&w 7s60mc-c
Двигатель man b&w 7s60mc-c
Крейцкопфный двигатель судовой
Крейцкопфный двигатель судовой
Двухтактный крейцкопфный двигатель
Двухтактный крейцкопфный двигатель
Судовой двухтактный двигатель
Судовой двухтактный двигатель
Судовой дизель
Судовой дизель
Принцип работы двухтактного двигателя внутреннего сгорания схема
Принцип работы двухтактного двигателя внутреннего сгорания схема
Судовые двигатели с электронным управлением
Судовые двигатели с электронным управлением
Wartsila 8l32

Фотография Wartsila 8l32

Wartsila 8l32
Wartsila 8l32
Двухтактный двигатель внутреннего сгорания (ДВС)
Двухтактный двигатель внутреннего сгорания (ДВС)
Такты 2-х тактного ДВС
Такты 2-х тактного ДВС
Двухтактный двигатель 2в350
Двухтактный двигатель 2в350
49сс 2т двигатель бензиновый
49сс 2т двигатель бензиновый
Двигатель Wartsila-Sulzer rta96-c
Двигатель Wartsila-Sulzer rta96-c
Судовой дизель Skoda 6l275pn
Судовой дизель Skoda 6l275pn
Дизель 8nvd36
Дизель 8nvd36
Man b&w 6s50mc-c
Man b&w 6s50mc-c
Производство автомобилей
Производство автомобилей
Двигатель Wartsila-Sulzer rta96
Двигатель Wartsila-Sulzer rta96
Принцип работы ДВС 2 тактного
Принцип работы ДВС 2 тактного
Индикаторная диаграмма 2-х тактного
Индикаторная диаграмма 2-х тактного
Двухтактный двигатель внутреннего сгорания
Двухтактный двигатель внутреннего сгорания
Принцип работы 2 тактного дизельного двигателя
Принцип работы 2 тактного дизельного двигателя
Судовой дизель м507а
Судовой дизель м507а
Принцип работы 2 тактного дизельного двигателя
Принцип работы 2 тактного дизельного двигателя
Двигатель Wartsila-Sulzer rta96-c
Двигатель Wartsila-Sulzer rta96-c
Судовой дизель Шкода 6s160. PN
Судовой дизель Шкода 6s160. PN
DKW nz 350 чертеж

Фотография DKW nz 350 чертеж

Jumo 205 двигатель
Jumo 205 двигатель
Двойной бензиновый двигатель DLE-60cc
Двойной бензиновый двигатель DLE-60cc
Двигатель o.s. engines gt60
Двигатель o.s. engines gt60
Дизельный Корабельный двигатель Wartsila Sulzer rta96
Дизельный Корабельный двигатель Wartsila Sulzer rta96
Двухтактный калоризаторный двигатель
Двухтактный калоризаторный двигатель
Принцип работы двухтактного ДВС схема
Принцип работы двухтактного ДВС схема
Судовой двигатель man b&w s50mc-c
Судовой двигатель man b&w s50mc-c
Мотор DLE 120
Мотор DLE 120
Дизель 2д100 устройство
Дизель 2д100 устройство
Двигатель Wartsila-Sulzer rta96
Двигатель Wartsila-Sulzer rta96
Судовой двигатель
Судовой двигатель
Man b&w 7l80mc
Man b&w 7l80mc
MTU Detroit Diesel 16v4000
MTU Detroit Diesel 16v4000
Двухтактный оппозитный двигатель поршневой ДВС
Двухтактный оппозитный двигатель поршневой ДВС
Wartsila судовые двигатели
Wartsila судовые двигатели
Однотактный двухтактный двигатель
Однотактный двухтактный двигатель
Wartsila судовые двигатели
Wartsila судовые двигатели
S4dv-224 судовой двигатель
S4dv-224 судовой двигатель
Двигатели внутреннего сгорания
Двигатели внутреннего сгорания
Прямоточная паровая машина Штумпфа

Фотография Прямоточная паровая машина Штумпфа

Схема двухцилиндрового v-образного двигателя
Схема двухцилиндрового v-образного двигателя
Дизели Корейво
Дизели Корейво
Двигатель 4-Mix Stihl
Двигатель 4-Mix Stihl
Двигатель Wartsila-Sulzer rta96
Двигатель Wartsila-Sulzer rta96
Судовой двигатель man b&w 6s50mc-c чертеж
Судовой двигатель man b&w 6s50mc-c чертеж
2т двигатель с наддувом
2т двигатель с наддувом
Судовой дизель man b w 6l42mc
Судовой дизель man b w 6l42mc
Схема двухтактного двигателя внутреннего сгорания
Схема двухтактного двигателя внутреннего сгорания
Судовой дизель man b w 6l42mc
Судовой дизель man b w 6l42mc
MTU 16v4000c11
MTU 16v4000c11
Двигатель man b&w 7s26mc
Двигатель man b&w 7s26mc
Двухтактный авиамодельный двигатель Evolution .40nx с глушителем
Двухтактный авиамодельный двигатель Evolution .40nx с глушителем
Паровая машина ПМ 6
Паровая машина ПМ 6
Двигатель MZ 250
Двигатель MZ 250
Двигатель Wartsila-Sulzer rta96
Двигатель Wartsila-Sulzer rta96
Двигатель Wartsila 6l20
Двигатель Wartsila 6l20
0

Похожие фотографии

Комментарии (0)

Кликните на изображение чтобы обновить код, если он неразборчив