Подкос в самолете

0
Подкос передней стойки шасси ту-154 чертеж
Подкос передней стойки шасси ту-154 чертеж
Шушурин в.в., 1938 - атлас конструкций планеров
Шушурин в.в., 1938 - атлас конструкций планеров
Нижняя панель крыла самолета
Нижняя панель крыла самолета
Расчалки АН-2
Расчалки АН-2
PZL-104 Wilga самолет
PZL-104 Wilga самолет
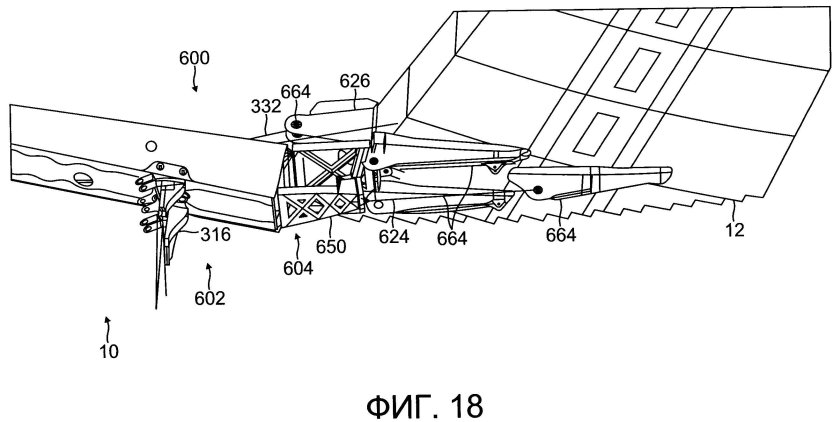
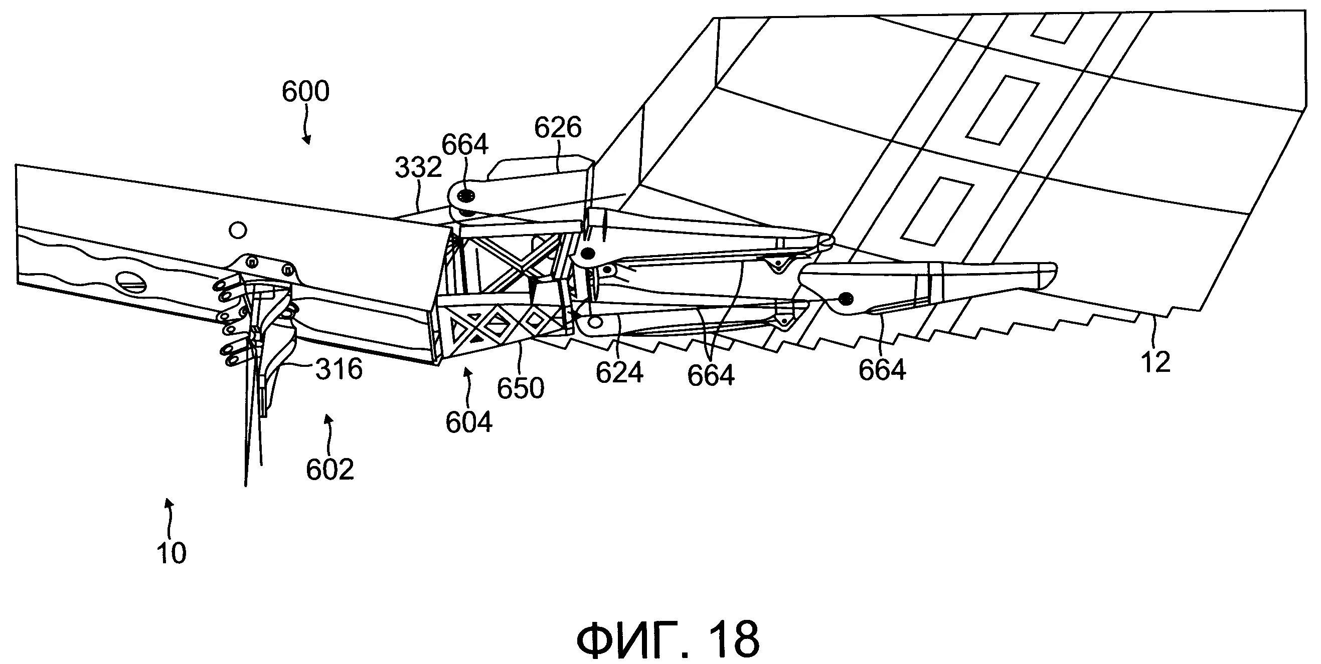
Подкос крыла
Подкос крыла
АИ-24 схема
АИ-24 схема
Продольный поводок дергачева пассажирской тележки
Продольный поводок дергачева пассажирской тележки
Подкос винтовой для опалубки

Фотография Подкос винтовой для опалубки

Cessna 162
Cessna 162
B737 шасси
B737 шасси
Амортизатор главной стойки шасси вертолета ми8
Амортизатор главной стойки шасси вертолета ми8
Миг 29 шасси
Миг 29 шасси
Чертежи самолетов ультралайт
Чертежи самолетов ультралайт
Ниши шасси Су-25
Ниши шасси Су-25
Гидравлическая система экскаватора хундай 170r
Гидравлическая система экскаватора хундай 170r
Основное шасси самолета
Основное шасси самолета
Планер а-1 Антонова чертежи
Планер а-1 Антонова чертежи
Ручка переключателя системы аварийного выпуска шасси da42
Ручка переключателя системы аварийного выпуска шасси da42
Bac TSR-2 Walkaround

Фотография Bac TSR-2 Walkaround

Расчалки АН-2
Расчалки АН-2
Привод элерона
Привод элерона
Подкос винтовой двухуровневый
Подкос винтовой двухуровневый
Передняя стойка шасси чертеж ту 204
Передняя стойка шасси чертеж ту 204
Носовая стойка шасси Су 27 чертеж
Носовая стойка шасси Су 27 чертеж
АН-14 пчёлка
АН-14 пчёлка
Подкос винтовой двухуровневый (1,17-1,77-2,4-3,0)
Подкос винтовой двухуровневый (1,17-1,77-2,4-3,0)
Подкос двухуровневый для опалубки
Подкос двухуровневый для опалубки
Cessna 172 самолёт
Cessna 172 самолёт
М14п схема
М14п схема
Механизм складывания шасси самолета
Механизм складывания шасси самолета
Передняя стойка шасси як-40
Передняя стойка шасси як-40
Передняя опора шасси Су-25
Передняя опора шасси Су-25
Расчалки АН-2
Расчалки АН-2
Схема крыла ил 76
Схема крыла ил 76
Типы стоек шасси самолета
Типы стоек шасси самолета
Механизация крыла АН-2
Механизация крыла АН-2
Арго 2 самолет чертежи
Арго 2 самолет чертежи
Подкос двухуровневый 3м
Подкос двухуровневый 3м
Узел крепления крыла к фюзеляжу
Узел крепления крыла к фюзеляжу
Су-27 шасси
Су-27 шасси
Шасси вертолета ми-8
Шасси вертолета ми-8
Расчалки шасси
Расчалки шасси
Подкос двухуровневый 3м
Подкос двухуровневый 3м
Передняя опора шасси АН-24
Передняя опора шасси АН-24
Моторама двигателя самолета
Моторама двигателя самолета
0

Похожие фотографии

Комментарии (0)

Кликните на изображение чтобы обновить код, если он неразборчив