Концевой узел

0
Сплесень узел
Сплесень узел
Прямой морской узел схема
Прямой морской узел схема
Булин узел булинь
Булин узел булинь
Калмыцкий узел схема
Калмыцкий узел схема
Морской узел констриктор
Морской узел констриктор
4 Strand Round Braid w/ Gaucho Knot | Swiss Paracord GMBH
4 Strand Round Braid w/ Gaucho Knot | Swiss Paracord GMBH
Морской узел булинь
Морской узел булинь
Как вязать морские узлы поэтапно
Как вязать морские узлы поэтапно
Узел удавка схема

Фотография Узел удавка схема

Морские узлы калмыцкий узел
Морские узлы калмыцкий узел
Узел UIAA для спуска
Узел UIAA для спуска
Узел Маршара
Узел Маршара
Рыболовный узел для поводка восьмерка
Рыболовный узел для поводка восьмерка
Красивые узлы
Красивые узлы
Самозатягивающийся узел для веревки
Самозатягивающийся узел для веревки
Туристические узлы заячьи уши
Туристические узлы заячьи уши
Даймонд кнот Бриллиантовый узел
Даймонд кнот Бриллиантовый узел
Самозатягивающийся узел для веревки
Самозатягивающийся узел для веревки
Самосброс Жукова узел
Самосброс Жукова узел
Узел петля удавка

Фотография Узел петля удавка

Скользящий узел схема завязывания
Скользящий узел схема завязывания
Быстроразвязывающиеся узлы
Быстроразвязывающиеся узлы
Узел Диамант паракорд
Узел Диамант паракорд
Самозатягивающийся скользящий узел
Самозатягивающийся скользящий узел
Узел незатягивающаяся петля на леске
Узел незатягивающаяся петля на леске
Схема вязки узла австрийский проводник
Схема вязки узла австрийский проводник
Узел Грейпвайн схема
Узел Грейпвайн схема
Узел удавка схема
Узел удавка схема
Рыбацкий узел восьмерка петля
Рыбацкий узел восьмерка петля
Узел Фламандская петля
Узел Фламандская петля
Прямой узел с контрольными узлами
Прямой узел с контрольными узлами
Беседочный узел булинь
Беседочный узел булинь
Оплетка рукояти нагайки схема
Оплетка рукояти нагайки схема
Узел для крепления веревки к опоре
Узел для крепления веревки к опоре
Узел для троса металлического самозатягивающий
Узел для троса металлического самозатягивающий
Узел two half Hitches
Узел two half Hitches
Узлы для паракорда
Узлы для паракорда
Узел крепления тента

Фотография Узел крепления тента

Узел Обезьяний кулак пошагово
Узел Обезьяний кулак пошагово
Встречный Грейпвайн узел
Встречный Грейпвайн узел
FK 4071 m138
FK 4071 m138
Монтажный узел веревки
Монтажный узел веревки
Самозатягивающийся узел из двух веревок
Самозатягивающийся узел из двух веревок
Двойной полуштык узел
Двойной полуштык узел
Брамшкотовый узел
Брамшкотовый узел
Беседочный узел морские узлы
Беседочный узел морские узлы
Альпинистский узел УИАА
Альпинистский узел УИАА
Схватывающий узел Прусика
Схватывающий узел Прусика
Фламандский узел схема
Фламандский узел схема
Туристические узлы двойной проводник
Туристические узлы двойной проводник
Стремя на опоре узел схема
Стремя на опоре узел схема
Узлы в альпинизме
Узлы в альпинизме
Узел ведерный Быстроразвязывающиеся

Фотография Узел ведерный Быстроразвязывающиеся

Рыболовные узлы для плетенки Паломар
Рыболовные узлы для плетенки Паломар
Карабинная удавка узел
Карабинная удавка узел
Скользящий узел на браслете Шамбала
Скользящий узел на браслете Шамбала
Проводник восьмерка схема
Проводник восьмерка схема
Узел Диамант паракорд
Узел Диамант паракорд
Морские узлы рифовый узел
Морские узлы рифовый узел
Узел самозатягивающийся с петлей
Узел самозатягивающийся с петлей
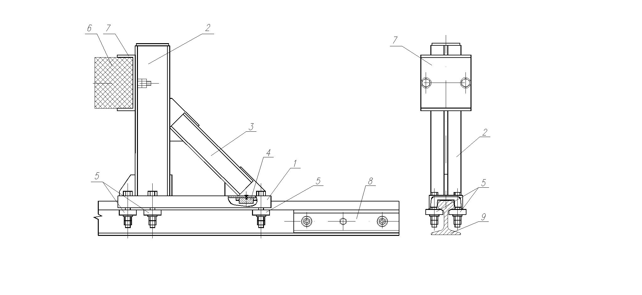
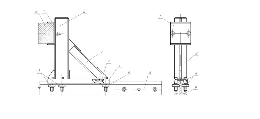
Концевой упор подкрановой балки
Концевой упор подкрановой балки
Узел Жозефина
Узел Жозефина
Концевые крепления стального троса
Концевые крепления стального троса
Узел для браслета
Узел для браслета
Узлы для веревки
Узлы для веревки
Морские узлы схема
Морские узлы схема
Китайское узелковое плетение пуговица
Китайское узелковое плетение пуговица
Аркан узел
Аркан узел
Соединения с развальцовкой труб
Соединения с развальцовкой труб
Бегущий простой узел
Бегущий простой узел
Конский узел
Конский узел
Узел проводник схема вязания
Узел проводник схема вязания
Скользящий поплавок стопорный узел
Скользящий поплавок стопорный узел
Австрийский проводник узел
Австрийский проводник узел
Узел петля булинь
Узел петля булинь
Оконечный узел
Оконечный узел
Тупиковые упоры подкрановых путей козлового крана
Тупиковые упоры подкрановых путей козлового крана
Морской узел инструкция
Морской узел инструкция
Самозатягивающийся узел для веревки
Самозатягивающийся узел для веревки
Узел удавка
Узел удавка
Узел для браслета
Узел для браслета
Бензель (трос)
Бензель (трос)
Петля УИАА
Петля УИАА
Схватывающий узел Прусика
Схватывающий узел Прусика
0

Похожие фотографии

Комментарии (0)

Кликните на изображение чтобы обновить код, если он неразборчив