Мулинетка в авиации

0
Breguet br.1150 Atlantic
Breguet br.1150 Atlantic
Двигатель General Electric ge9x
Двигатель General Electric ge9x
Нагрузочный винт для лодочного мотора
Нагрузочный винт для лодочного мотора
Подъемная сила крыла
Подъемная сила крыла
Посадка самолета
Посадка самолета
Лопатки турбины авиадвигателя
Лопатки турбины авиадвигателя
Ротативный двигатель гном
Ротативный двигатель гном
Винт изменяемого шага Виш-105в
Винт изменяемого шага Виш-105в
Сверхлегкие самолеты

Фотография Сверхлегкие самолеты

Противообледенительные системы летательных аппаратов
Противообледенительные системы летательных аппаратов
Скоростная модель самолета f2a
Скоростная модель самолета f2a
Breguet br.1150 Atlantic
Breguet br.1150 Atlantic
Двигатель авиационный
Двигатель авиационный
Adapter - Airplane stabilization
Adapter - Airplane stabilization
Фасонные изделия воздуховодов
Фасонные изделия воздуховодов
Летательные аппараты
Летательные аппараты
Истребители шестого поколения
Истребители шестого поколения
Шасси самолета
Шасси самолета
Путевая скорость истинная скорость приборная скорость
Путевая скорость истинная скорость приборная скорость
Электротепловая противообледенительная система самолета

Фотография Электротепловая противообледенительная система самолета

Вираж схема сил и уравнения движения
Вираж схема сил и уравнения движения
Самолет в аэропорту
Самолет в аэропорту
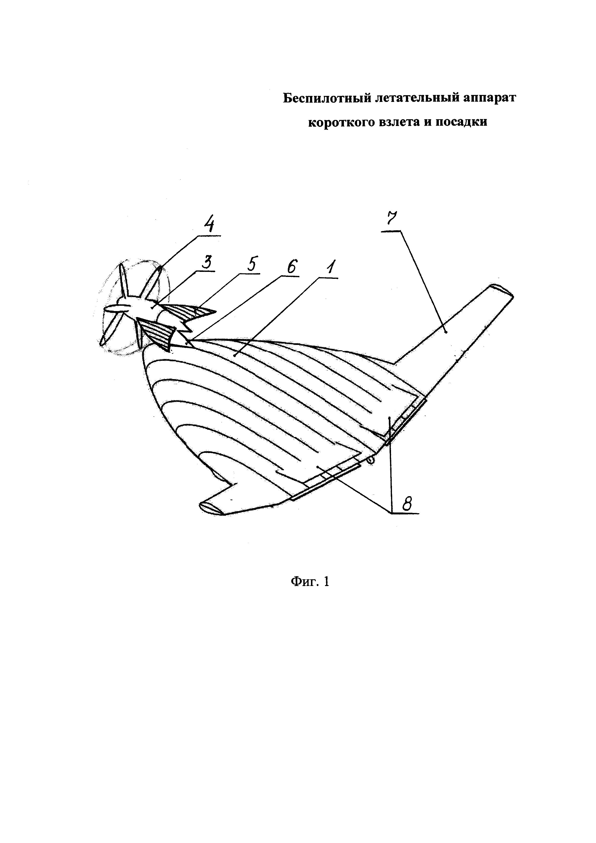
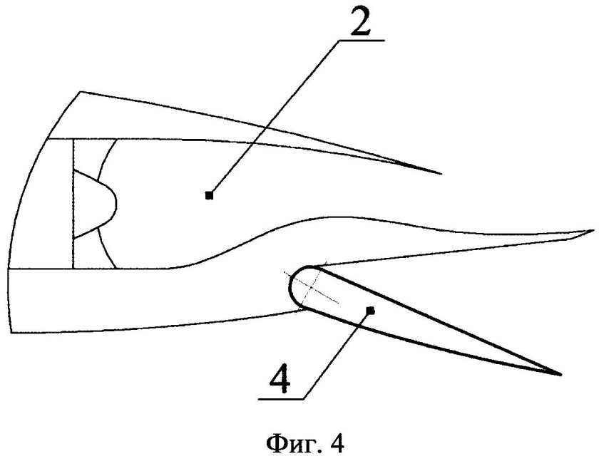
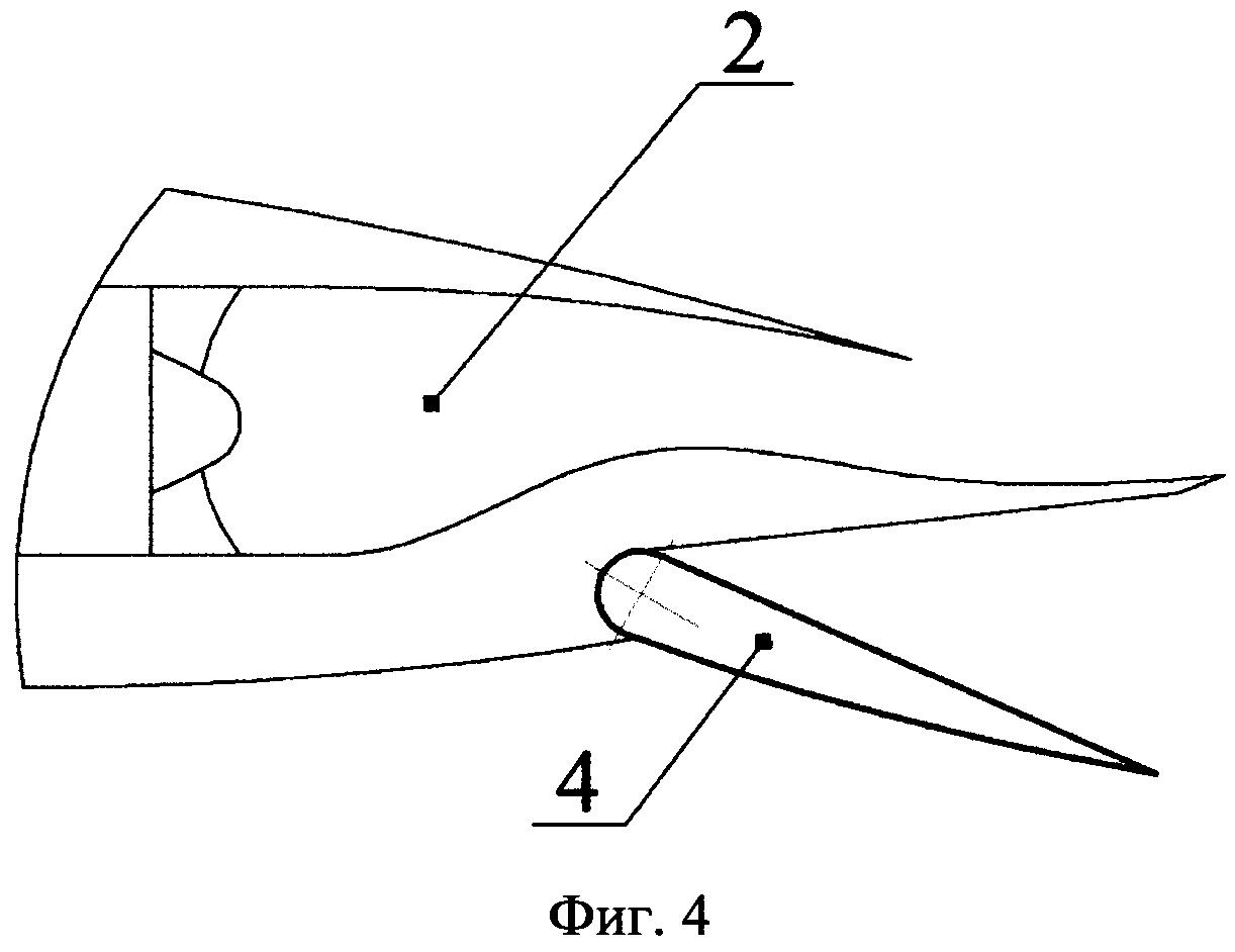
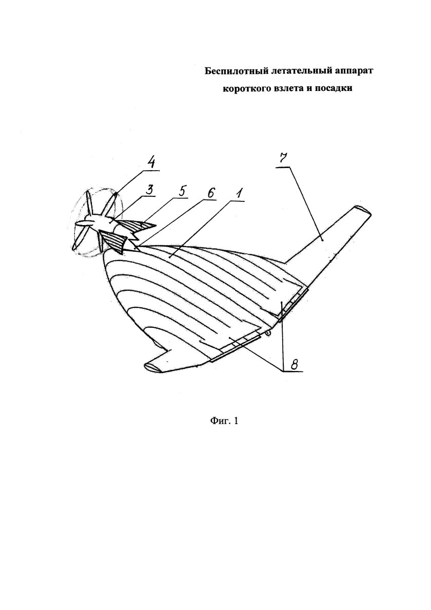
Схема беспилотного летательного аппарата
Схема беспилотного летательного аппарата
Алиса Куквинова пилот
Алиса Куквинова пилот
Лопатки турбины авиадвигателя
Лопатки турбины авиадвигателя
Схема применения аэростатного комплекса
Схема применения аэростатного комплекса
Двигатели самолета
Двигатели самолета
Формула тяги воздушного винта
Формула тяги воздушного винта
Летательные аппараты
Летательные аппараты
Буксировщик самолетов
Буксировщик самолетов
Турбореактивный двигатель самолета
Турбореактивный двигатель самолета
АН-2 винт
АН-2 винт
Трос заземления самолета
Трос заземления самолета
РОТЕК Сотовые уплотнения
РОТЕК Сотовые уплотнения
Однолопастной пропеллер
Однолопастной пропеллер
Электроимпульсная противообледенительная система самолета
Электроимпульсная противообледенительная система самолета
Лопатки турбины авиадвигателя
Лопатки турбины авиадвигателя
Электромотор учебный макет
Электромотор учебный макет
Триммер стабилизатора Боинг 737
Триммер стабилизатора Боинг 737
Чертеж самодельного гребного винта
Чертеж самодельного гребного винта
ТРДД-50 двигатель крепление
ТРДД-50 двигатель крепление
Дозаправка самолета в воздухе
Дозаправка самолета в воздухе
Трубка Пито Цессна
Трубка Пито Цессна
Approach Chart
Approach Chart
Домкрат для самолета
Домкрат для самолета
Самолёт вертикального взлёта и посадки
Самолёт вертикального взлёта и посадки
Ram Air Turbine a320
Ram Air Turbine a320
Схема маркировки аэродрома
Схема маркировки аэродрома
Осевая аэродинамическая компенсация
Осевая аэродинамическая компенсация
СК-22-2м агрегат зажигания
СК-22-2м агрегат зажигания
0

Похожие фотографии

Комментарии (0)

Кликните на изображение чтобы обновить код, если он неразборчив