Кинематическая пара

0
Классификация кинематических пар ТММ
Классификация кинематических пар ТММ
Классификация кинематических пар по Артоболевскому
Классификация кинематических пар по Артоболевскому
Классификация кинематических пар ТММ
Классификация кинематических пар ТММ
Высшие кинематические пары
Высшие кинематические пары
Кинематическая пара ТММ
Кинематическая пара ТММ
Кинематическая пара классификация
Кинематическая пара классификация
Кинематическая схема робота манипулятора
Кинематическая схема робота манипулятора
Как условно изображают на схемах кинематические пары
Как условно изображают на схемах кинематические пары
Аэродинамическая крутка крыла

Фотография Аэродинамическая крутка крыла

Кинематические пары ТММ
Кинематические пары ТММ
Винтовая кинематическая пара
Винтовая кинематическая пара
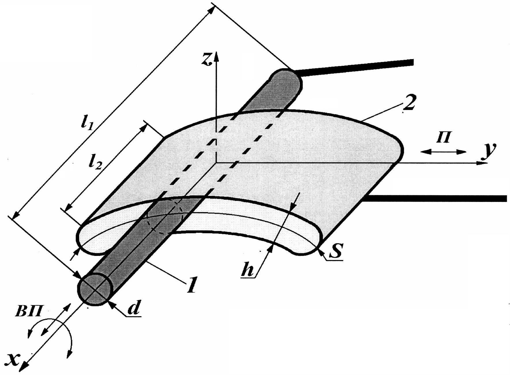
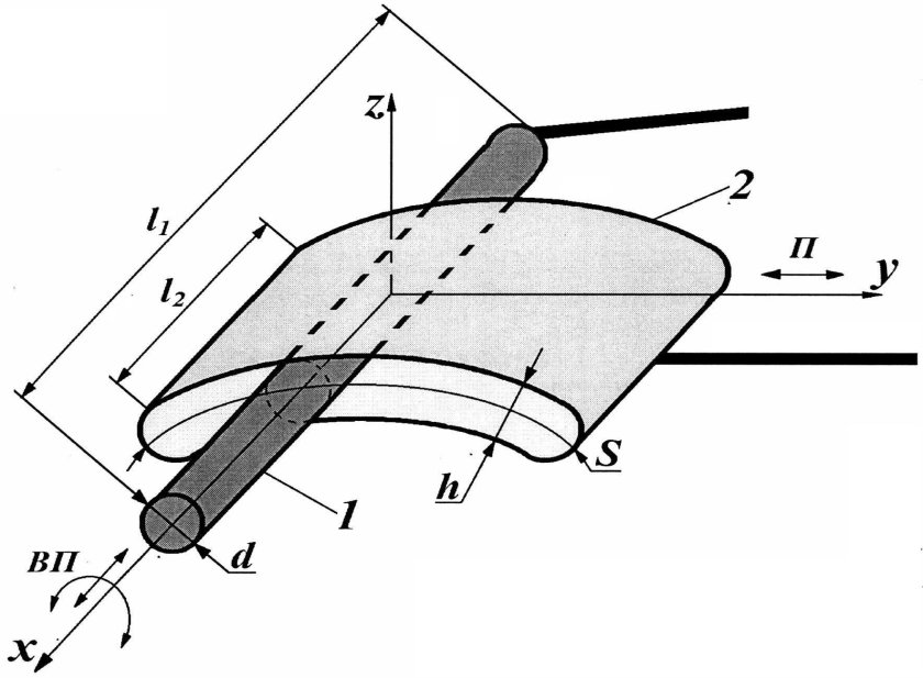
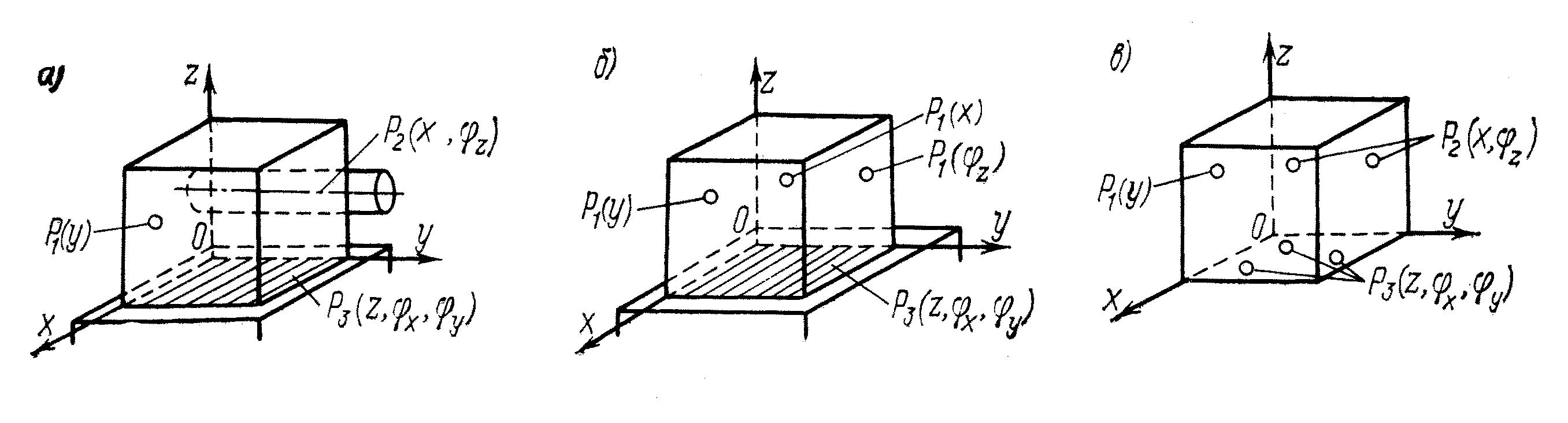
Трехподвижная кинематическая пара
Трехподвижная кинематическая пара
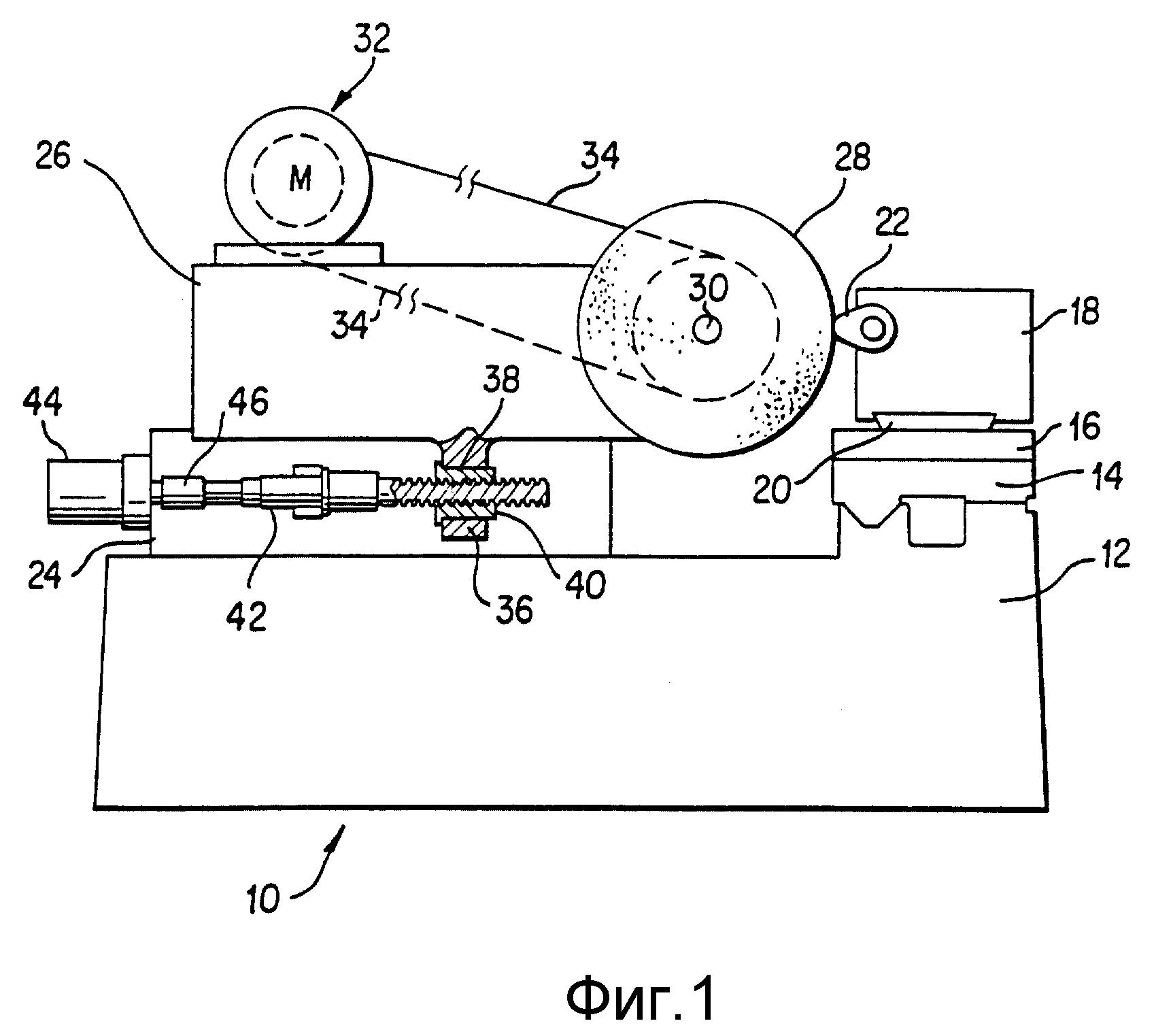
Кинематическая схема винтового механизма
Кинематическая схема винтового механизма
Высшая и Низшая кинематическая пара
Высшая и Низшая кинематическая пара
Винтовая кинематическая пара
Винтовая кинематическая пара
Точечная кинематическая пара
Точечная кинематическая пара
Шарнирная подвижная опора теоретическая механика
Шарнирная подвижная опора теоретическая механика
Кинематическая схема механизма ТММ
Кинематическая схема механизма ТММ
Обработка материалов резанием
Обработка материалов резанием
Вращательная и поступательная кинематическая пара

Фотография Вращательная и поступательная кинематическая пара

Кинематическая схема механизма тмм
Кинематическая схема механизма тмм
Цилиндрическая оболочка безмоментная теория
Цилиндрическая оболочка безмоментная теория
Условные обозначения средств связи
Условные обозначения средств связи
Кинематическая пара ТММ
Кинематическая пара ТММ
Кинематическая схема кулачкового механизма
Кинематическая схема кулачкового механизма
Классификация кинематических пар механизма
Классификация кинематических пар механизма
Силы в зацеплении червячной передачи
Силы в зацеплении червячной передачи
Кинематические пары и их классификация
Кинематические пары и их классификация
Кинематическая схема механизма тмм
Кинематическая схема механизма тмм
План ускорений кривошипно-коромыслового механизма
План ускорений кривошипно-коромыслового механизма
Трехподвижная кинематическая пара
Трехподвижная кинематическая пара
Кинематическая схема двухступенчатого цилиндрического редуктора
Кинематическая схема двухступенчатого цилиндрического редуктора
Уравновешивающий момент ТММ
Уравновешивающий момент ТММ
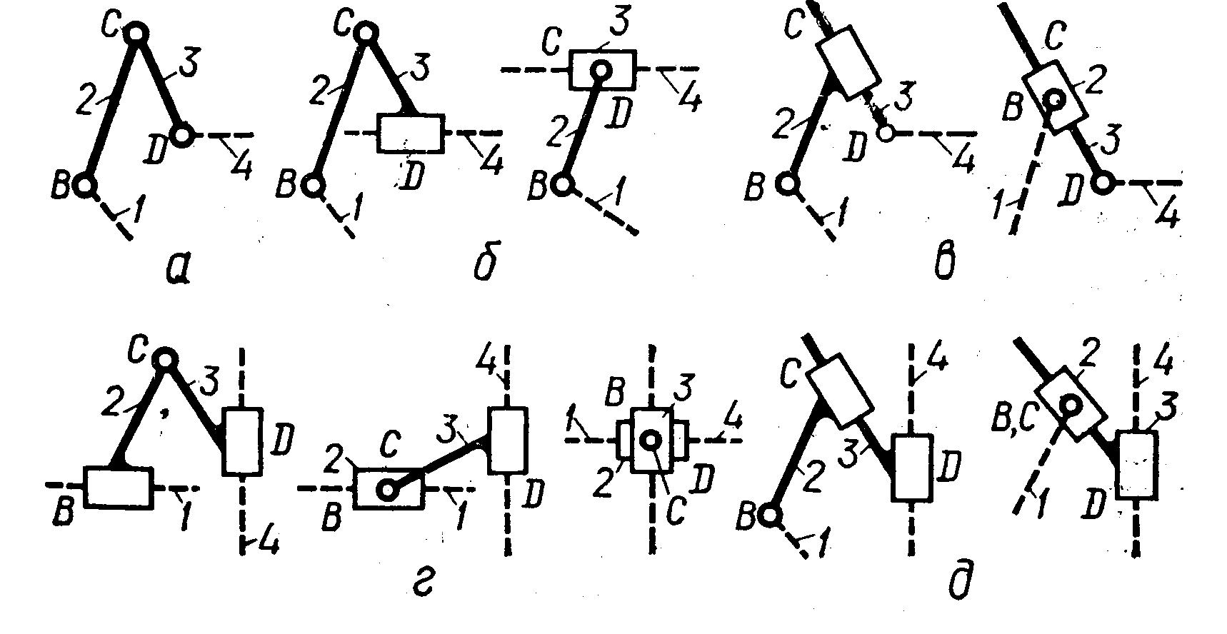
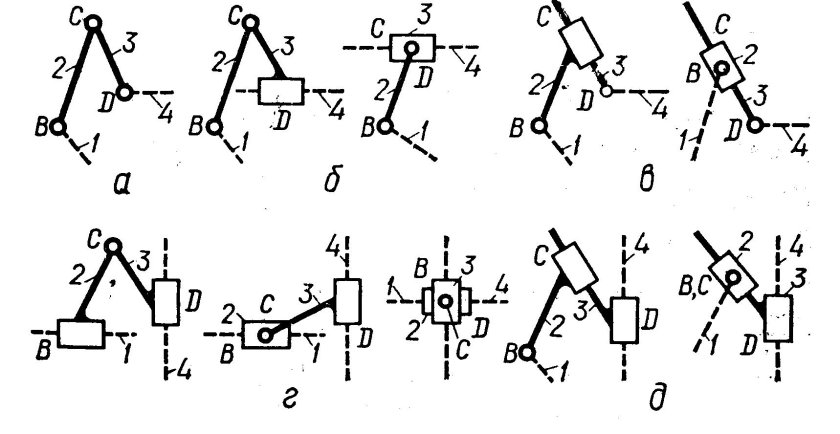
Группы Ассура ТММ
Группы Ассура ТММ
Передаточные механизмы. Зубчатая (фрикционная) передача
Передаточные механизмы. Зубчатая (фрикционная) передача
Джон Дир 3350 технические характеристики
Джон Дир 3350 технические характеристики
Трение во вращательной кинематической паре
Трение во вращательной кинематической паре
Трехподвижная кинематическая пара
Трехподвижная кинематическая пара
Кулачковый механизм с роликовым толкателем ТММ
Кулачковый механизм с роликовым толкателем ТММ
Условные обозначения кинематических схем станков
Условные обозначения кинематических схем станков
Трехподвижная кинематическая пара
Трехподвижная кинематическая пара
Кривошипно ползунный механизм кинематическая схема
Кривошипно ползунный механизм кинематическая схема
ТММ Кривошипно ползунный механизм
ТММ Кривошипно ползунный механизм
Клипарт соединение
Клипарт соединение
0

Похожие фотографии

Комментарии (0)

Кликните на изображение чтобы обновить код, если он неразборчив