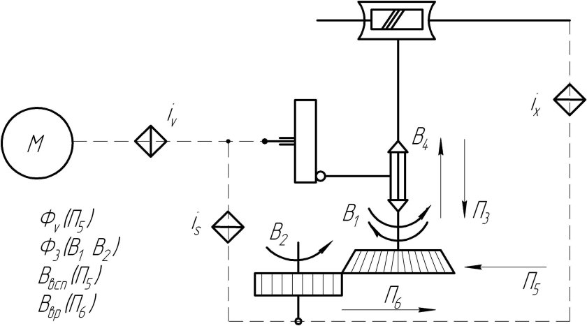
Кинематическая цепь

0
Незамкнутая кинематическая цепь
Незамкнутая кинематическая цепь
Схема коробки скоростей на станок 1к62
Схема коробки скоростей на станок 1к62
Замкнутая кинематическая цепь
Замкнутая кинематическая цепь
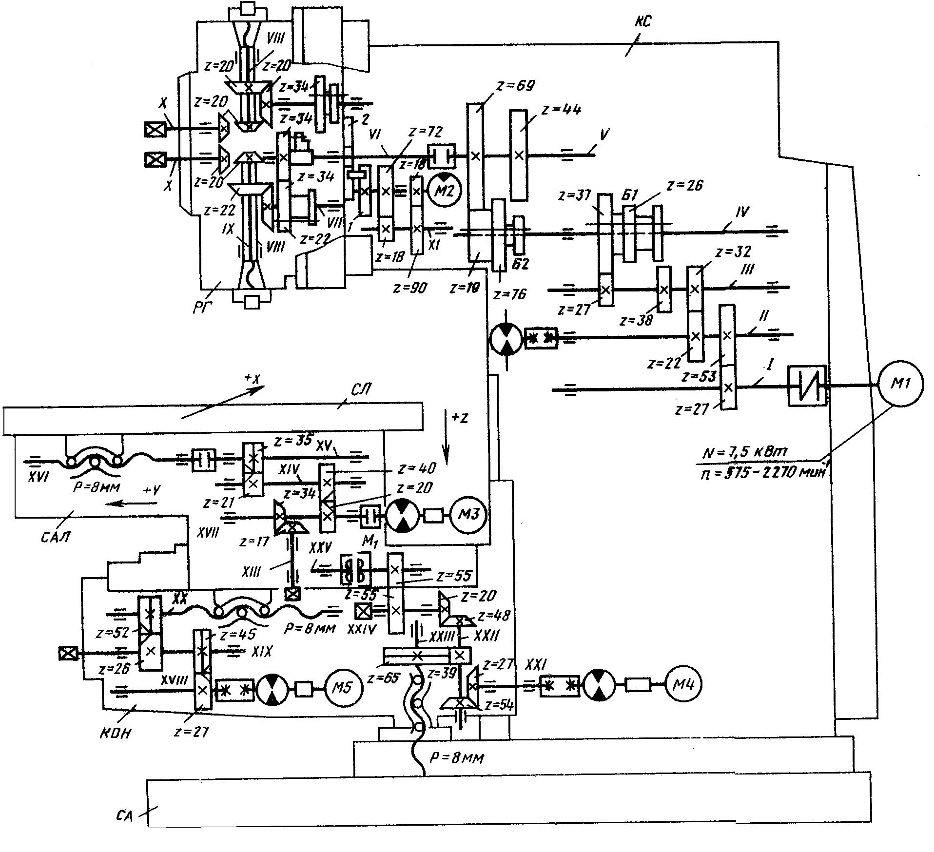
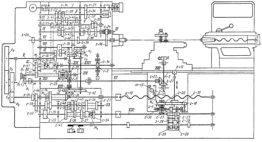
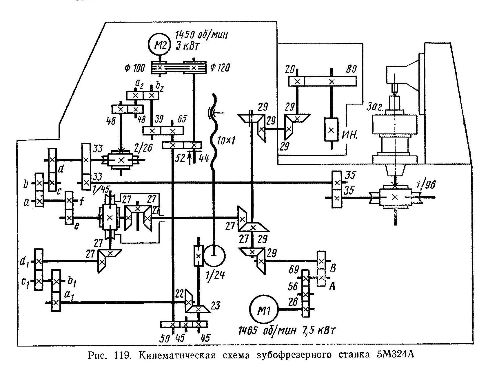
Кинематическая схема зубофрезерного станка
Кинематическая схема зубофрезерного станка
1. Кинематическая схема манипулятора;
1. Кинематическая схема манипулятора;
Кинематическая схема механизма
Кинематическая схема механизма
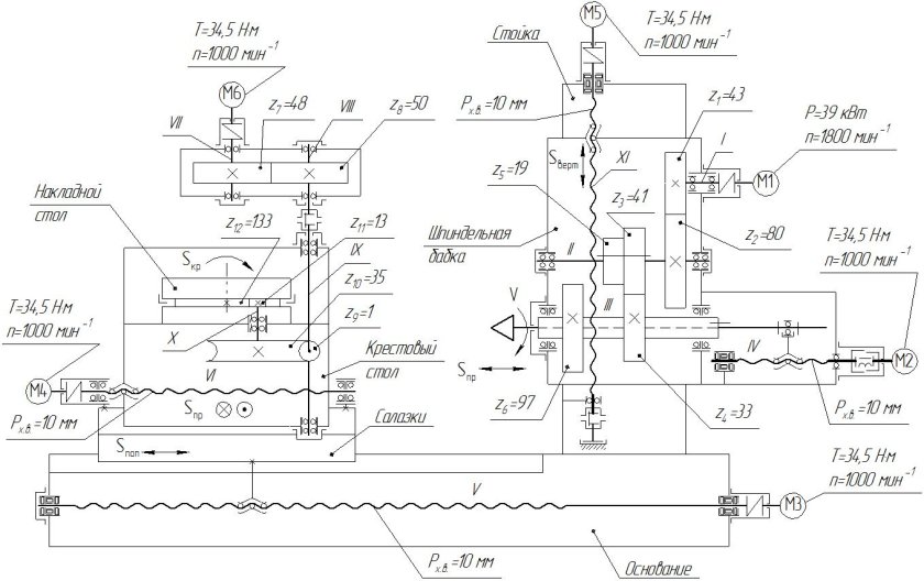
Кинематическая схема токарно-затыловочного станка
Кинематическая схема токарно-затыловочного станка
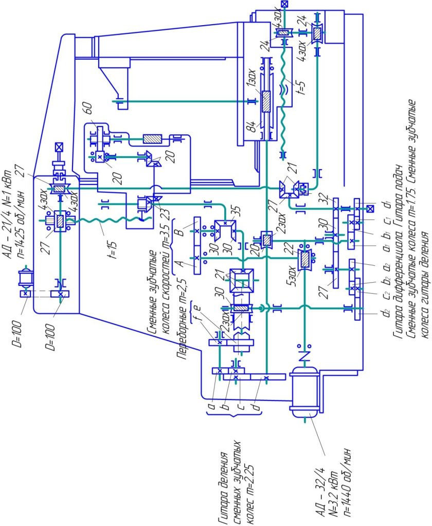
Зубофрезерный станок 5д32
Зубофрезерный станок 5д32
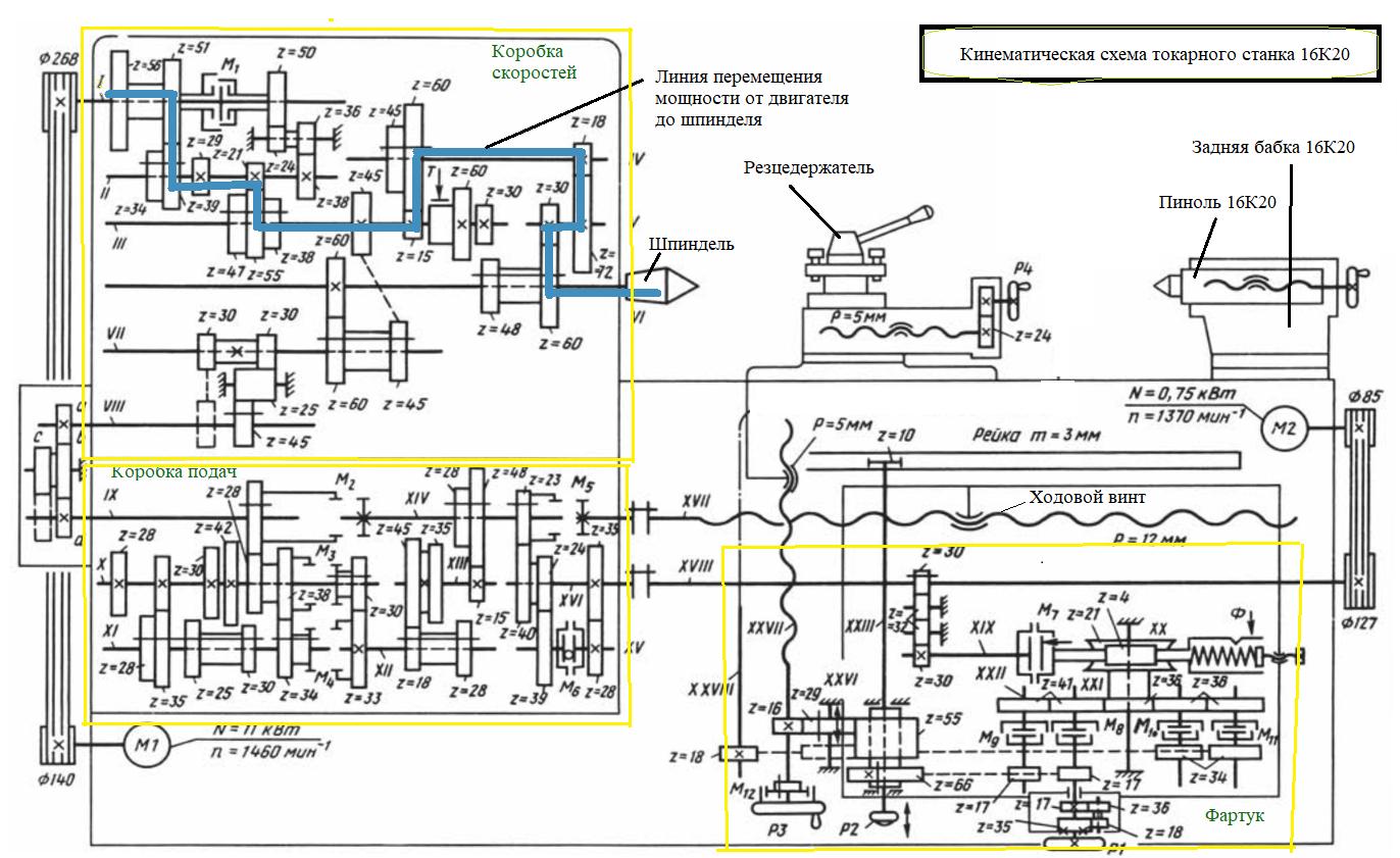
Кинематическая схема токарного станка 16к20

Фотография Кинематическая схема токарного станка 16к20

Кинематическая схема станка 1к62 с пояснениями
Кинематическая схема станка 1к62 с пояснениями
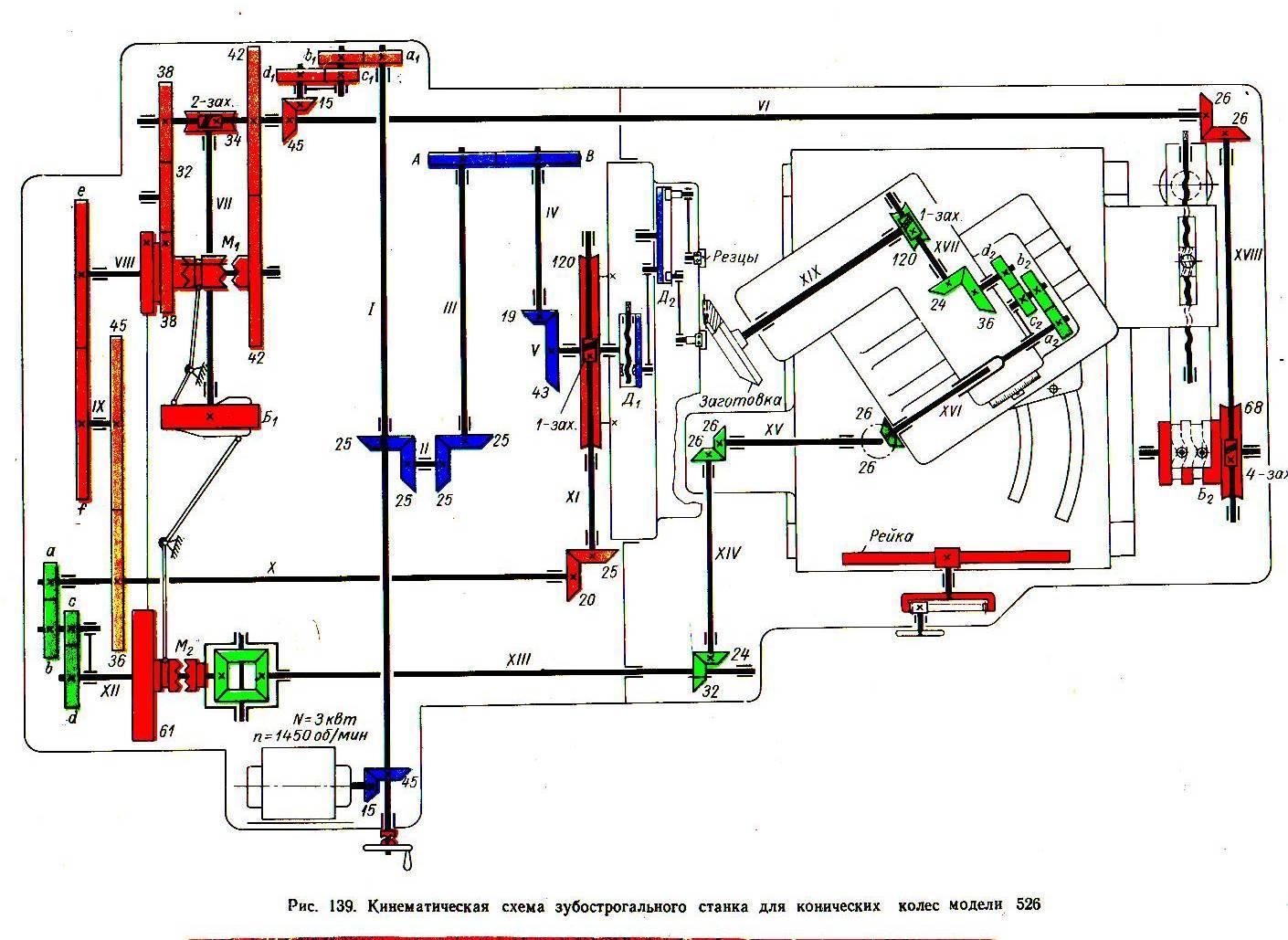
Зубообрабатывающие станки
Зубообрабатывающие станки
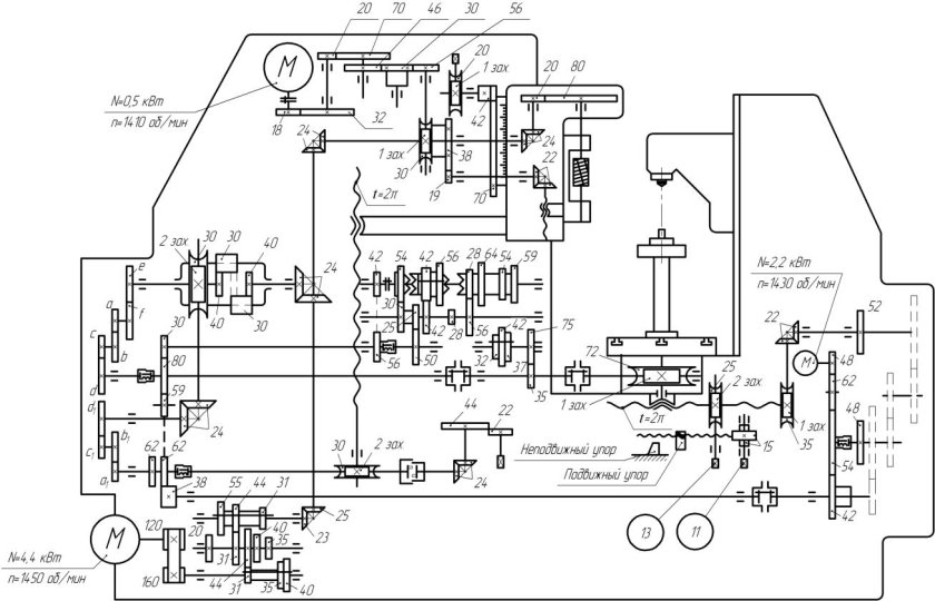
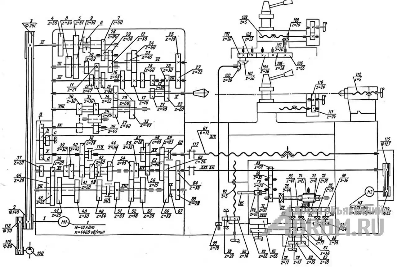
Кинематическая схема токарно-винторезного станка 1к62
Кинематическая схема токарно-винторезного станка 1к62
Ременная передача станка кинематическая схема
Ременная передача станка кинематическая схема
Зубообрабатывающие станки
Зубообрабатывающие станки
Кинематическая схема станка 1к62
Кинематическая схема станка 1к62
Кинематическая схема станка 6н12пб
Кинематическая схема станка 6н12пб
Группы Ассура 1 класса
Группы Ассура 1 класса
Кинематическая схема станка 16к20
Кинематическая схема станка 16к20
Кучер атлас металлорежущих станков
Кучер атлас металлорежущих станков
Звенья Ассура ТММ

Фотография Звенья Ассура ТММ

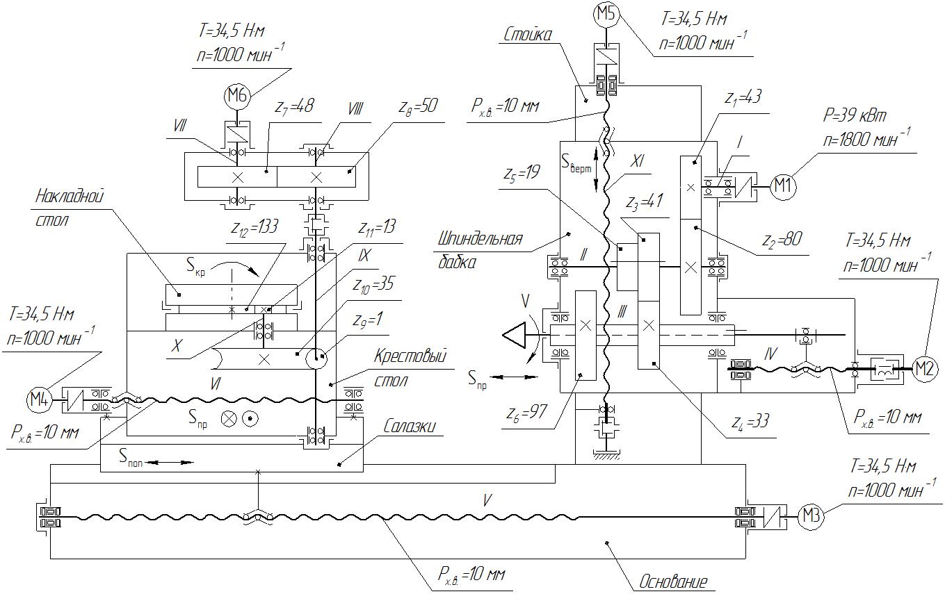
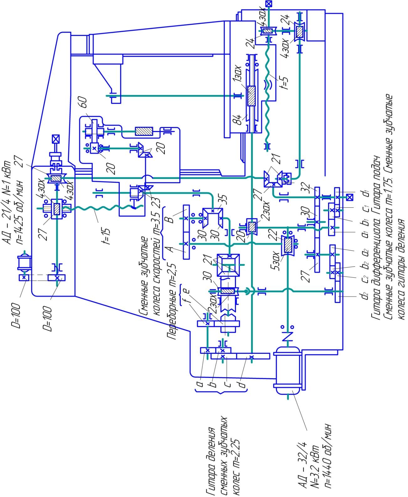
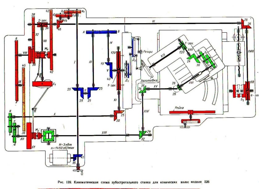
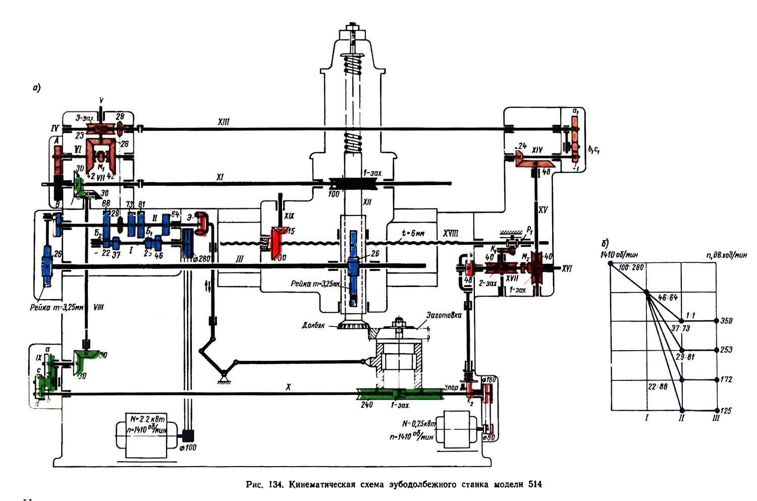
Зубодолбежный станок модели 514
Зубодолбежный станок модели 514
Кинематическая цепь в биомеханике
Кинематическая цепь в биомеханике
Кинематическая схема 16к20 коробка скоростей
Кинематическая схема 16к20 коробка скоростей
Кинематическая схема механизма
Кинематическая схема механизма
Шестерня на кинематической схеме
Шестерня на кинематической схеме
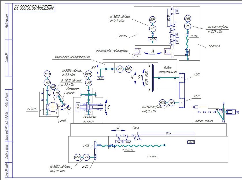
2а622 станок кинематическая схема
2а622 станок кинематическая схема
Кинематическая схема станка 16к20 с описанием
Кинематическая схема станка 16к20 с описанием
Кинематическая схема токарно винторезного станка
Кинематическая схема токарно винторезного станка
Электропривод ленточного конвейера кинематическая схема
Электропривод ленточного конвейера кинематическая схема
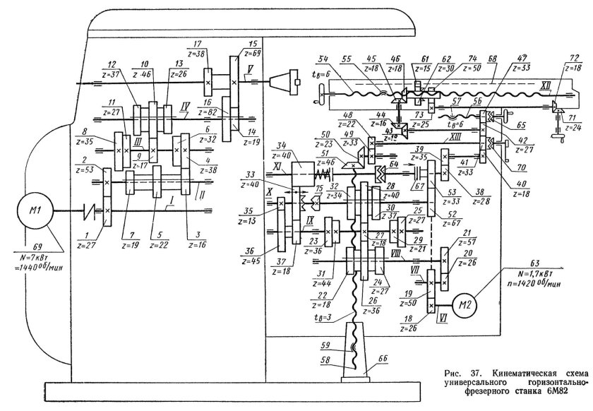
Кинематическая схема горизонтально фрезерного станка 6п80г
Кинематическая схема горизонтально фрезерного станка 6п80г
Принципиальная кинематическая схема станка 1811
Принципиальная кинематическая схема станка 1811
Кинематическая схема токарно-винторезного станка 16к20
Кинематическая схема токарно-винторезного станка 16к20
Привод главного движения токарного станка 1к62
Привод главного движения токарного станка 1к62
Кинематическая схема станка ЛД 125
Кинематическая схема станка ЛД 125
Кинематическая схема токарно-винторезного станка 16к20
Кинематическая схема токарно-винторезного станка 16к20
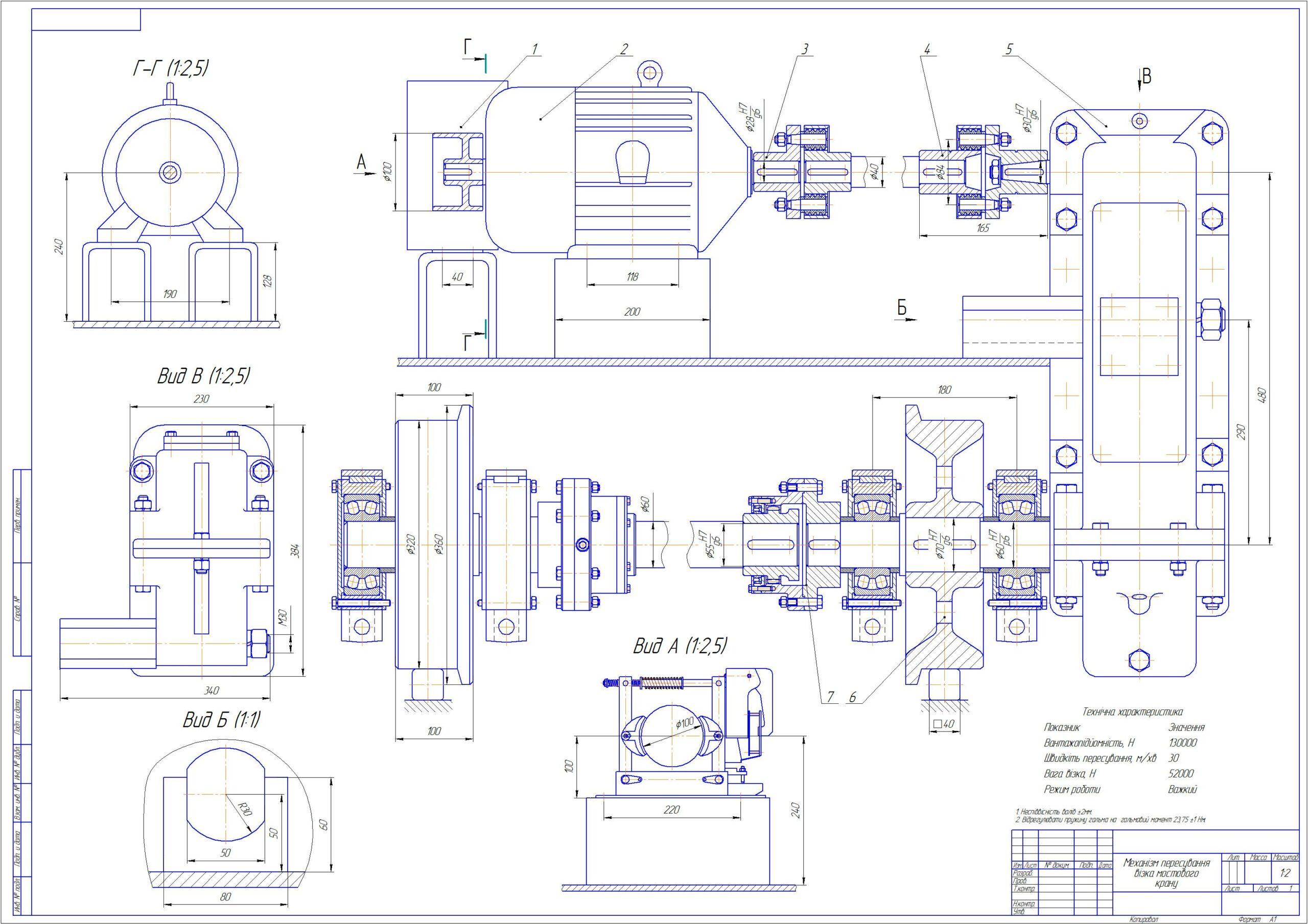
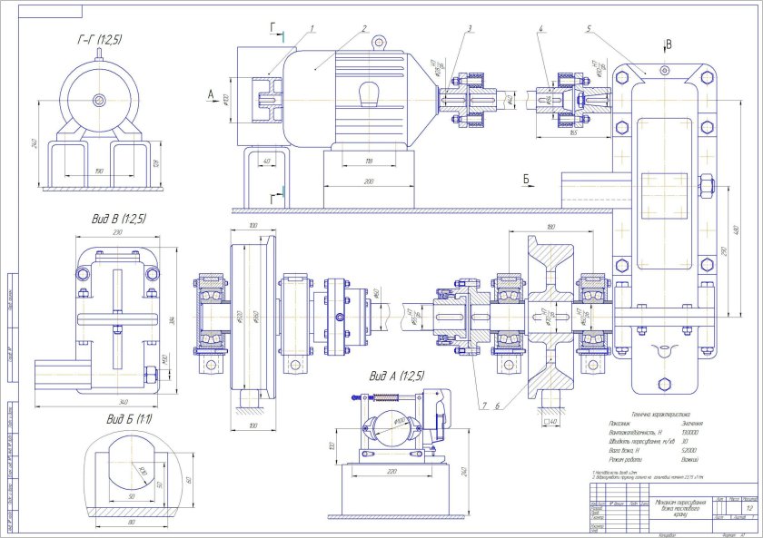
Механизм передвижения тележки козлового крана
Механизм передвижения тележки козлового крана
Станок токарный 16к20ф3 кинематическая схема
Станок токарный 16к20ф3 кинематическая схема
Кинематическая схема токарно-винторезного станка 1к62
Кинематическая схема токарно-винторезного станка 1к62
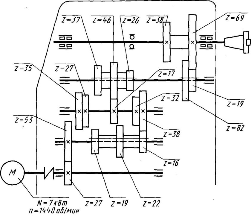
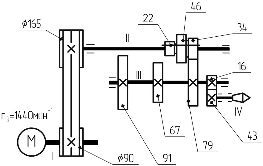
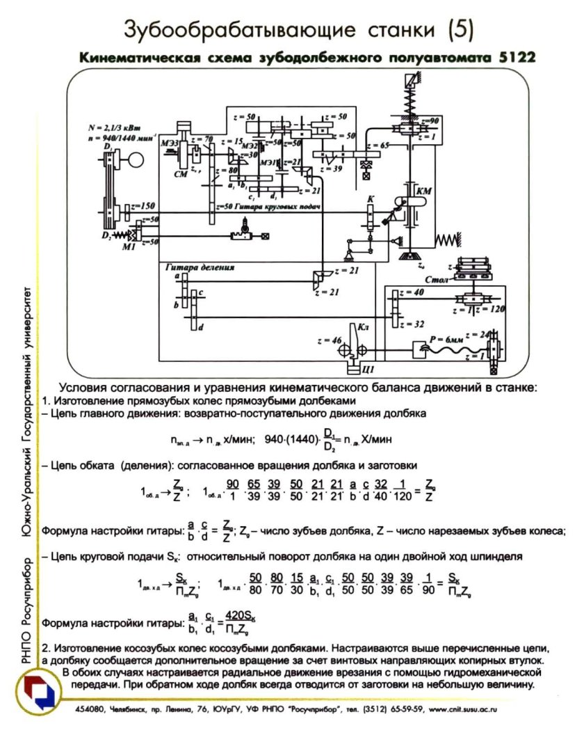
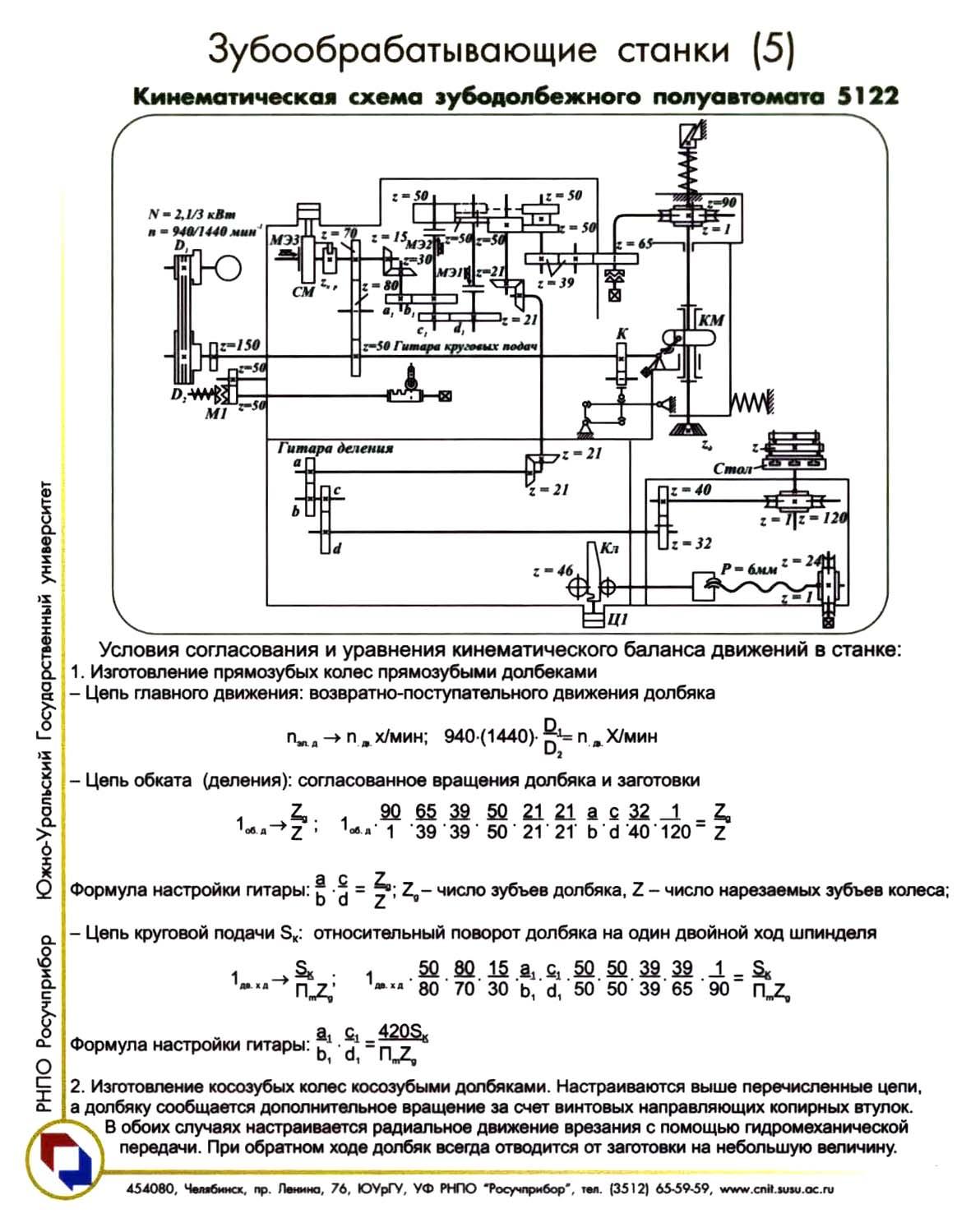
Станок зубодолбежный 5122 схема
Станок зубодолбежный 5122 схема
Кинематика робота манипулятора
Кинематика робота манипулятора
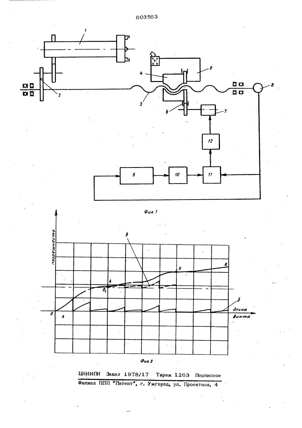
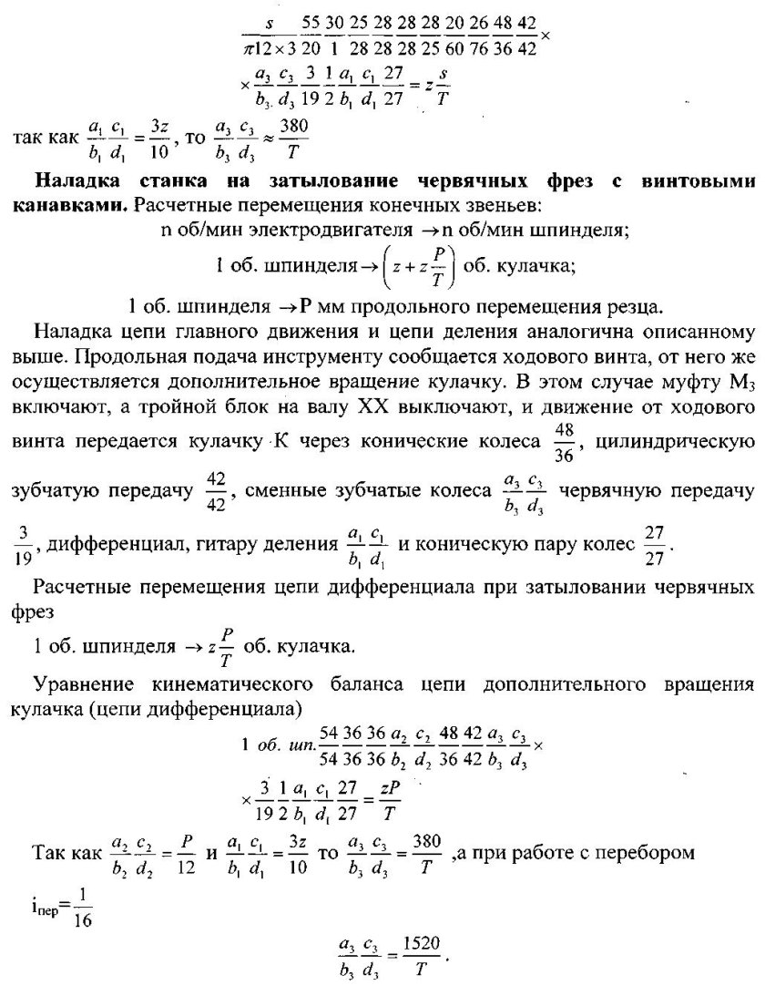
Уравнение кинематической цепи станка
Уравнение кинематической цепи станка
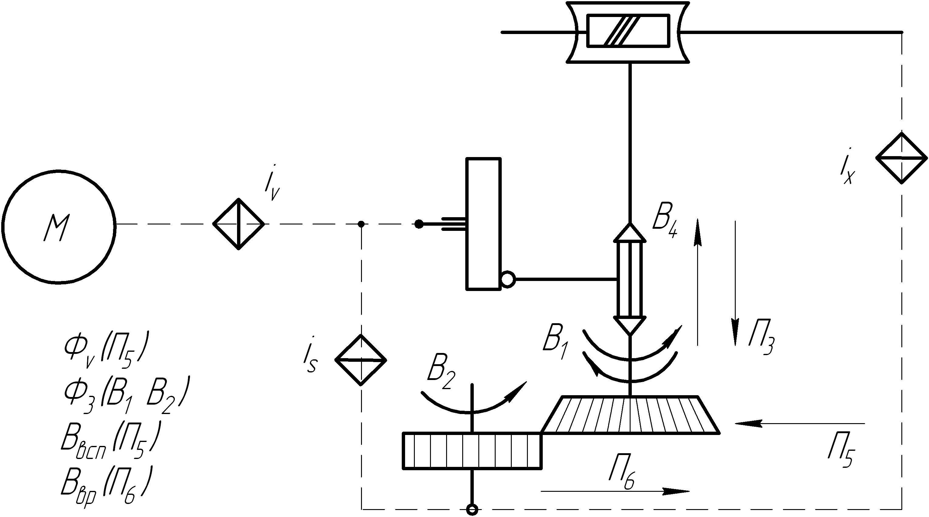
Структурная схема зубодолбежного станка
Структурная схема зубодолбежного станка
Кинематическая схема лентопротяжного механизма
Кинематическая схема лентопротяжного механизма
Кинематическая схема станка поперечно-строгальный 736
Кинематическая схема станка поперечно-строгальный 736
Станок 1к62 кинематика
Станок 1к62 кинематика
Механизм зубодолбежного станка
Механизм зубодолбежного станка
Провести структурный анализ механизма
Провести структурный анализ механизма
Кинематическая цепочка
Кинематическая цепочка
Mobility stability позвоночника
Mobility stability позвоночника
Кинематическая схема токарно-винторезного станка 16к20
Кинематическая схема токарно-винторезного станка 16к20
Кинематическая схема станка 6п80г
Кинематическая схема станка 6п80г
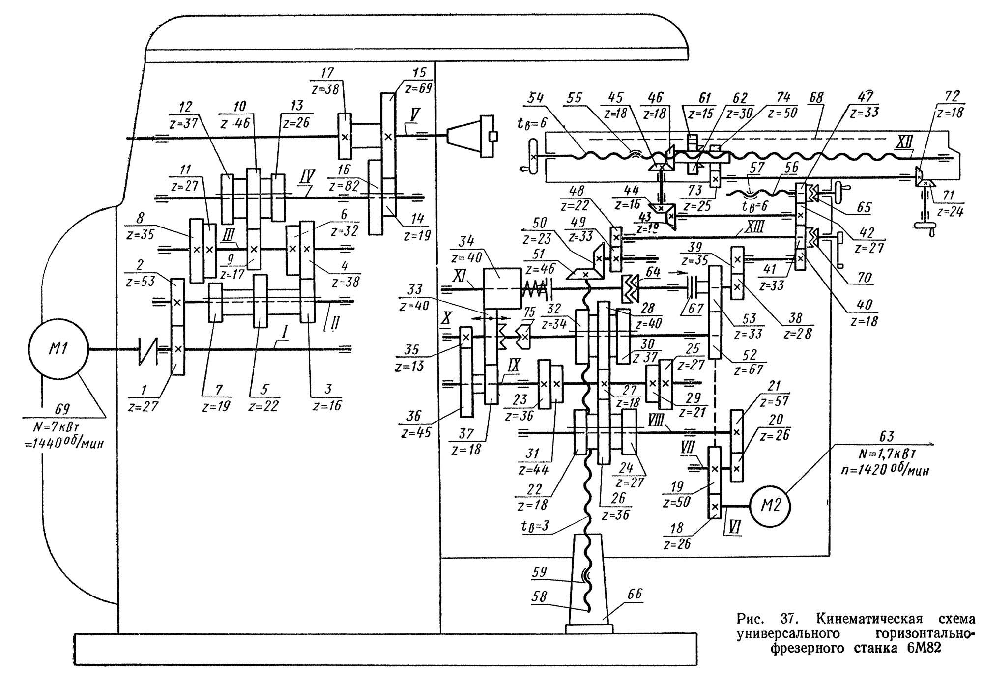
6р82ш фрезерный станок схема
6р82ш фрезерный станок схема
Силовой анализ рычажного механизма ТММ
Силовой анализ рычажного механизма ТММ
Кинематические связи
Кинематические связи
Станок 1а616 кинематика
Станок 1а616 кинематика
Кинематическая схема зубчатой передачи
Кинематическая схема зубчатой передачи
Кинематика фрезерного станка 6р12
Кинематика фрезерного станка 6р12
Кинематическая схема токарного станка 1к62
Кинематическая схема токарного станка 1к62
Ремни на комбайн вектор 410 каталог
Ремни на комбайн вектор 410 каталог
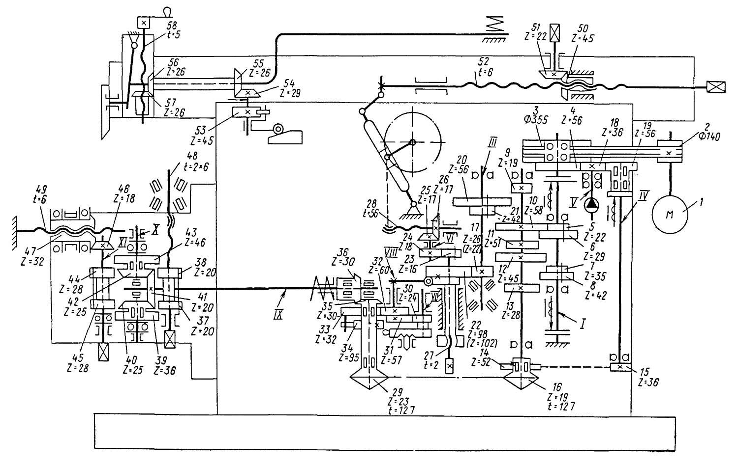
Кинематическая схема станка 2р135ф2
Кинематическая схема станка 2р135ф2
Кинематическая схема станка 6п80г
Кинематическая схема станка 6п80г
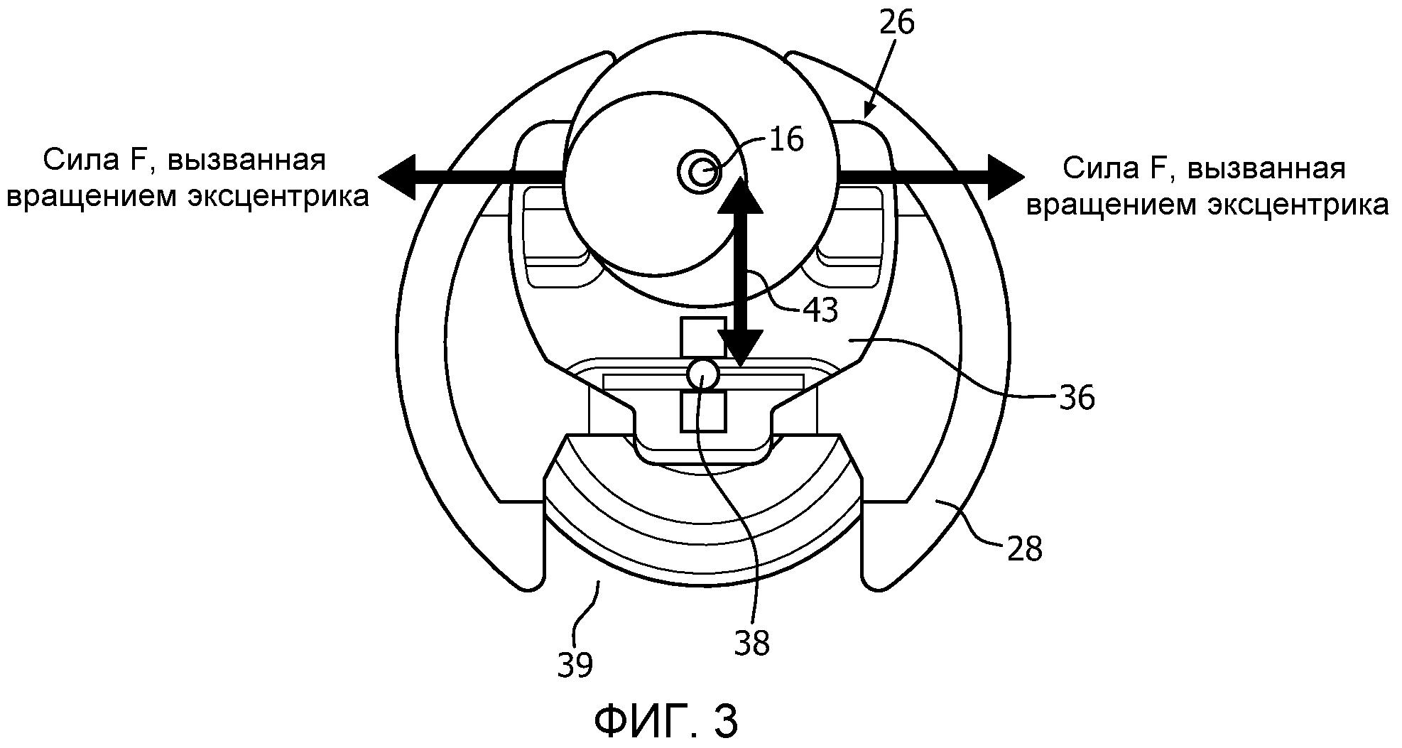
Мотор с эксцентриком
Мотор с эксцентриком
Кинематическая схема токарно-винторезного станка 16к20
Кинематическая схема токарно-винторезного станка 16к20
Кинематическая цепь станка
Кинематическая цепь станка
Кинематическая схема резьбофрезерного станка
Кинематическая схема резьбофрезерного станка
Кинематическая схема станка 6н12
Кинематическая схема станка 6н12
Кинематическая схема горизонтально расточного станка
Кинематическая схема горизонтально расточного станка
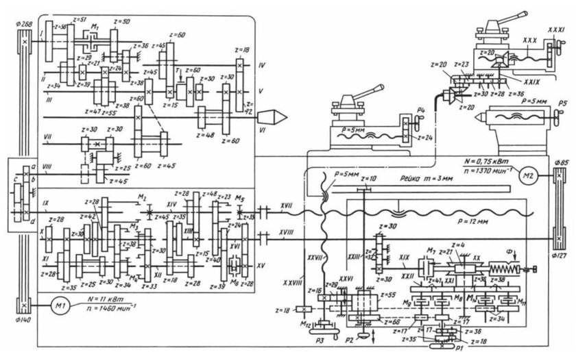
Токарный многорезцовый станок 1а730
Токарный многорезцовый станок 1а730
Шагающий механизм Чебышева
Шагающий механизм Чебышева
Кинематическая схема коробки передач фрезерного станка
Кинематическая схема коробки передач фрезерного станка
Кинематическая схема поперечно строгального станка 7305
Кинематическая схема поперечно строгального станка 7305
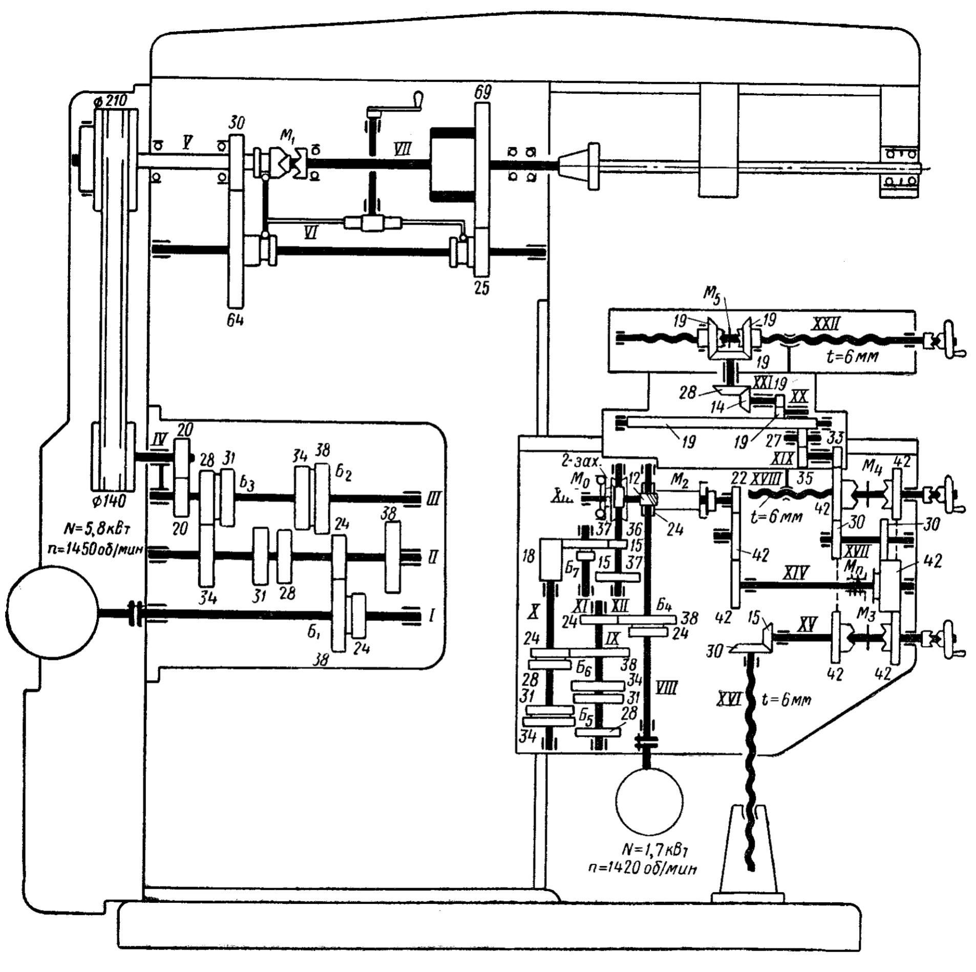
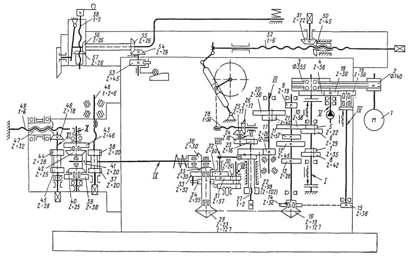
Зубофрезерный станок 5е32 паспорт станка
Зубофрезерный станок 5е32 паспорт станка
0

Похожие фотографии

Комментарии (0)

Кликните на изображение чтобы обновить код, если он неразборчив