Консоль в авиации

0
Консоль крыла
Консоль крыла
МС-21 крыло композитных материалов
МС-21 крыло композитных материалов
Консоль крыла самолета
Консоль крыла самолета
Ту 154 привод стабилизатора
Ту 154 привод стабилизатора
Нервюра крыла
Нервюра крыла
Кессон крыла МС-21
Кессон крыла МС-21
Узел крепления лонжерона крыла к фюзеляжу
Узел крепления лонжерона крыла к фюзеляжу
Изделия из композитных материалов
Изделия из композитных материалов
Схема самолета механизация крыла Элерон

Фотография Схема самолета механизация крыла Элерон

F 117 стелс
F 117 стелс
Як 40 фюзеляж силовые балки
Як 40 фюзеляж силовые балки
Светодиодная консоль триколор
Светодиодная консоль триколор
Светодиодная консоль факел
Светодиодная консоль факел
Panel a320 desktop Captain
Panel a320 desktop Captain
Светодиодная консоль
Светодиодная консоль
Кокпит симулятор
Кокпит симулятор
Laitcom eb23-Coo-ac24
Laitcom eb23-Coo-ac24
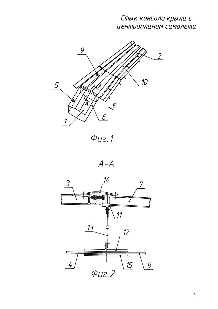
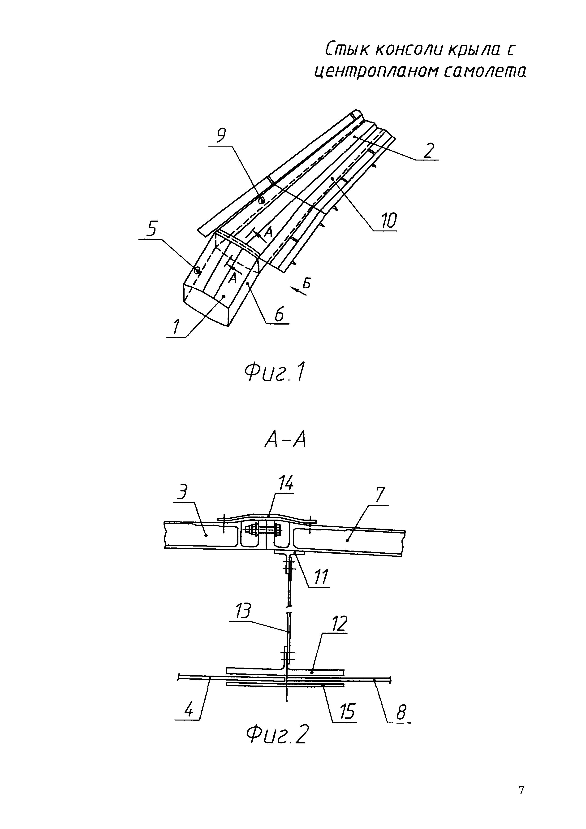
Стык консоли крыла с центропланом самолета
Стык консоли крыла с центропланом самолета
Миг-27 кабина
Миг-27 кабина
Консоль крыла

Фотография Консоль крыла

Панель overhead a320
Панель overhead a320
Каркас самолета
Каркас самолета
Ту 144 Компоновочная схема
Ту 144 Компоновочная схема
МС-21 крыло композитных материалов
МС-21 крыло композитных материалов
Узел крепления лонжерона крыла к фюзеляжу
Узел крепления лонжерона крыла к фюзеляжу
Использование алюминия в самолетостроении
Использование алюминия в самолетостроении
Самолет на пульте управления
Самолет на пульте управления
Светодиодная консоль триколор
Светодиодная консоль триколор
Крыла МС 21
Крыла МС 21
Попадание 20 мм снаряда в бомбардировщик
Попадание 20 мм снаряда в бомбардировщик
Чертеж нервюры крыла самолета
Чертеж нервюры крыла самолета
Светодиодная консоль Триколор
Светодиодная консоль Триколор
Кабина пилота Боинг 737
Кабина пилота Боинг 737
Крепление крыла к фюзеляжу авиамодели
Крепление крыла к фюзеляжу авиамодели
А-350 предкрылок
А-350 предкрылок
Самолет Брабус
Самолет Брабус
Крыло самолета Боинг 737

Фотография Крыло самолета Боинг 737

Лонжерон Стрингер нервюра шпангоут
Лонжерон Стрингер нервюра шпангоут
Механизация крыла Boeing 737
Механизация крыла Boeing 737
Кабина Спейс шаттла
Кабина Спейс шаттла
Кабина истребителя Су 57
Кабина истребителя Су 57
Стремянка а3801-0000
Стремянка а3801-0000
0

Похожие фотографии

Комментарии (0)

Кликните на изображение чтобы обновить код, если он неразборчив