Центроплан

0
Конструкция центроплана и 16
Конструкция центроплана и 16
Кессон центроплана самолета АН 124
Кессон центроплана самолета АН 124
Центроплан ан2
Центроплан ан2
Центроплан ан2
Центроплан ан2
Топливные баки SSJ 100
Топливные баки SSJ 100
АН-225 Мрия крыло
АН-225 Мрия крыло
Су 34 на заводе
Су 34 на заводе
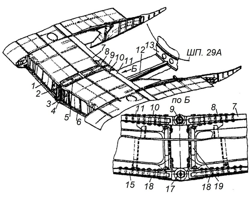
Узел крепления лонжерона крыла к фюзеляжу
Узел крепления лонжерона крыла к фюзеляжу
Васо ил-114

Фотография Васо ил-114

Титановый центроплан ту-160
Титановый центроплан ту-160
Ил-112 центроплан
Ил-112 центроплан
ФГУП "СИБНИА им. с.а.Чаплыгина"
ФГУП "СИБНИА им. с.а.Чаплыгина"
Кессон крыла МС-21
Кессон крыла МС-21
Центроплан ан2
Центроплан ан2
Фюзеляж МС-21
Фюзеляж МС-21
Центроплан крыла самолета
Центроплан крыла самолета
Аэробус а380 шасси
Аэробус а380 шасси
Центроплан МС-21
Центроплан МС-21
Ту 2
Ту 2
Крыло Суперджет 100

Фотография Крыло Суперджет 100

Лонжерон крыла самолета чертежи
Лонжерон крыла самолета чертежи
А350 выкатка
А350 выкатка
Компоновочная схема самолета ил 114
Компоновочная схема самолета ил 114
Узел крепления лонжерона крыла к фюзеляжу
Узел крепления лонжерона крыла к фюзеляжу
Ил-112 крепление крыла
Ил-112 крепление крыла
АН-178 транспортный самолёт
АН-178 транспортный самолёт
Фюзеляж Sukhoi Superjet 100
Фюзеляж Sukhoi Superjet 100
Арго 2 самолет чертежи
Арго 2 самолет чертежи
Композитное крыло для МС-21
Композитное крыло для МС-21
Стапель сборки центроплана
Стапель сборки центроплана
Узел крепления лонжерона крыла к фюзеляжу
Узел крепления лонжерона крыла к фюзеляжу
Фюзеляж МС-21
Фюзеляж МС-21
EA-18g гроулер
EA-18g гроулер
Моноблочная схема фюзеляжа
Моноблочная схема фюзеляжа
Кессон крыла самолета
Кессон крыла самолета
Стык консоли крыла с центропланом самолета
Стык консоли крыла с центропланом самолета
Су 34 на заводе
Су 34 на заводе
Черное крыло МС-21 АЭРОКОМПОЗИТ

Фотография Черное крыло МС-21 АЭРОКОМПОЗИТ

Воронежский авиационный завод
Воронежский авиационный завод
Узел крепления лонжерона крыла к фюзеляжу
Узел крепления лонжерона крыла к фюзеляжу
Центроплан МС-21
Центроплан МС-21
Ил-112 грузовая кабина
Ил-112 грузовая кабина
Крыло сухой суперджкт100
Крыло сухой суперджкт100
Фюзеляж крыло
Фюзеляж крыло
Авиастар фюзеляж ил-76
Авиастар фюзеляж ил-76
Стык крыла с центропланом
Стык крыла с центропланом
Воронежского авиазавода (Васо).
Воронежского авиазавода (Васо).
Центроплан МС-21
Центроплан МС-21
Су 34 на заводе
Су 34 на заводе
Закрылок ил 76
Закрылок ил 76
Ил-112 центроплан
Ил-112 центроплан
Крепление центроплана к фюзеляжу
Крепление центроплана к фюзеляжу
Юнкерс Еф 128
Юнкерс Еф 128
Стык консоли крыла с центропланом самолета
Стык консоли крыла с центропланом самолета
Ил 76 крыло чертеж
Ил 76 крыло чертеж
Центроплан МС-21
Центроплан МС-21
Таймерная модель самолета f1c
Таймерная модель самолета f1c
АН 140 схема
АН 140 схема
Кессон крыла МС-21
Кессон крыла МС-21
Ил 76 крыло чертеж
Ил 76 крыло чертеж
Ульяновский авиационный завод МС-21
Ульяновский авиационный завод МС-21
Стык консоли крыла с центропланом самолета
Стык консоли крыла с центропланом самолета
АН-178 кабина
АН-178 кабина
0

Похожие фотографии

Комментарии (0)

Кликните на изображение чтобы обновить код, если он неразборчив