Храповой механизм в технике

0
Механизм храповый
Механизм храповый
Механизм храповой 00-000.06.08.08.00
Механизм храповой 00-000.06.08.08.00
Двунаправленные храповые механизмы
Двунаправленные храповые механизмы
Храповый механизм 25 мм
Храповый механизм 25 мм
Храповый механизм для стяжных
Храповый механизм для стяжных
Храповый механизм для троса
Храповый механизм для троса
Ремень-стяжка с фиксатором-трещоткой Standers 25х5000 мм
Ремень-стяжка с фиксатором-трещоткой Standers 25х5000 мм
Механизм храповый
Механизм храповый
Храповый механизм 35мм

Фотография Храповый механизм 35мм

Храповый механизм для стяжных ремней 50мм
Храповый механизм для стяжных ремней 50мм
Что такое храповый механизм
Что такое храповый механизм
Kraft kt835586
Kraft kt835586
Храповый механизм для стяжных ремней 50мм
Храповый механизм для стяжных ремней 50мм
Пружинный замок зажим UTX 50мм 1200кг
Пружинный замок зажим UTX 50мм 1200кг
Крюк j 50мм
Крюк j 50мм
Механизм храповый для ленты 75 мм
Механизм храповый для ленты 75 мм
Храповый механизм для стяжных ремней
Храповый механизм для стяжных ремней
Храповый механизм 25 мм
Храповый механизм 25 мм
Механизм храповый для ленты 75 мм

Фотография Механизм храповый для ленты 75 мм

Храповый механизм
Храповый механизм
Трещетка Wera Koloss
Трещетка Wera Koloss
Храповый механизм
Храповый механизм
Рычажная Гаражная лебедка
Рычажная Гаражная лебедка
Храповый механизм для стяжных ремней 25мм
Храповый механизм для стяжных ремней 25мм
Механизм храповый для ленты 75 мм
Механизм храповый для ленты 75 мм
Стяжной механизм Tor 3,0т 35мм
Стяжной механизм Tor 3,0т 35мм
Храповый тормоз
Храповый тормоз
Храповый механизм Kraft до 5 тонн, 55 мм KT 835581
Храповый механизм Kraft до 5 тонн, 55 мм KT 835581
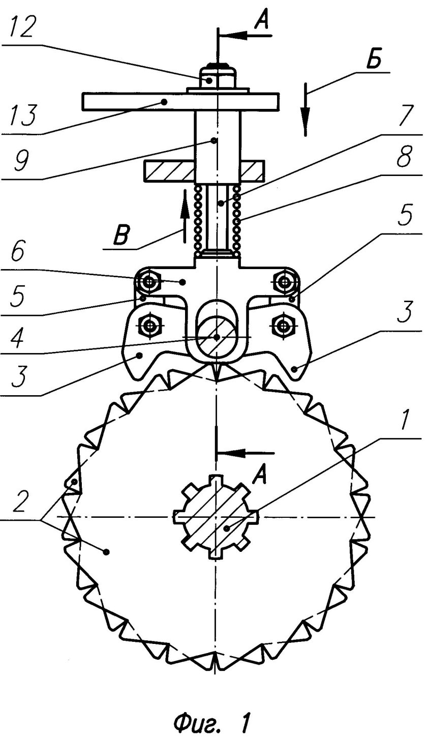
Храповой механизм чертеж
Храповой механизм чертеж
Храповый механизм для стяжных ремней 50мм артикул
Храповый механизм для стяжных ремней 50мм артикул
Храповый тормоз
Храповый тормоз
Храповый механизм динамометрического ключа
Храповый механизм динамометрического ключа
Петля боковой двери Фольксваген Транспортер
Петля боковой двери Фольксваген Транспортер
Стяжной ремень с храповым механизмом Top Tools 97x195
Стяжной ремень с храповым механизмом Top Tools 97x195
Лего храповый механизм
Лего храповый механизм
Ремень для крепления груза, храповый механизм, лента 38 мм x 8 м, 1500 кг
Ремень для крепления груза, храповый механизм, лента 38 мм x 8 м, 1500 кг
Стяжной механизм Tor 3,0т 35мм
Стяжной механизм Tor 3,0т 35мм
Зубчато-реечный механизм схема
Зубчато-реечный механизм схема
Ремень для крепления груза, храповый механизм, лента 38 мм х 12 м, 1500 кг
Ремень для крепления груза, храповый механизм, лента 38 мм х 12 м, 1500 кг
Храповый механизм вращения
Храповый механизм вращения
Стяжной ремень Рэт 100-5/10
Стяжной ремень Рэт 100-5/10
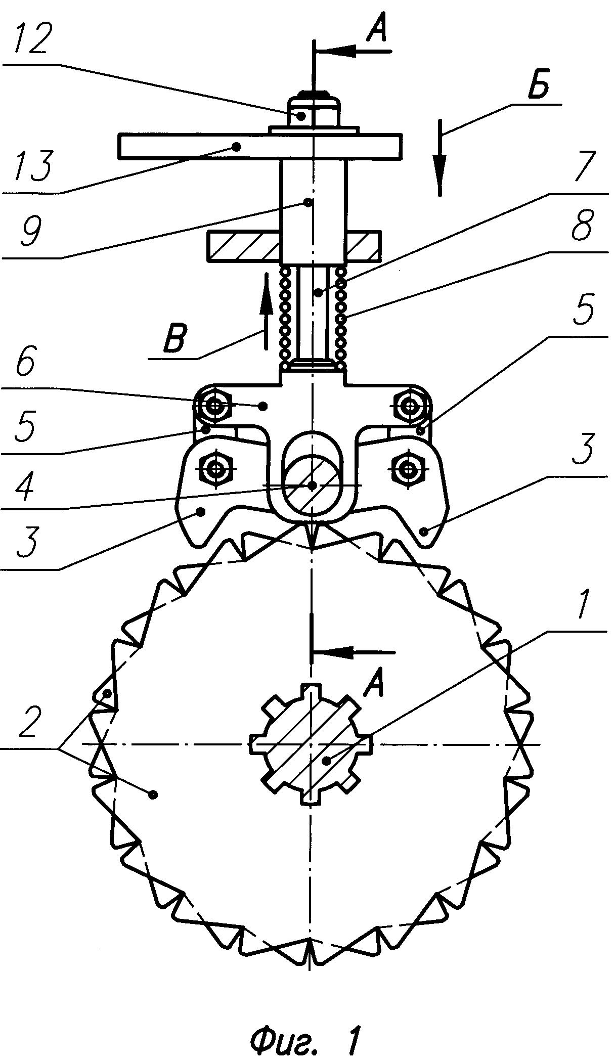
Механизм трещотка храповый чертеж
Механизм трещотка храповый чертеж
Храповый механизм для стяжных ремней 50мм
Храповый механизм для стяжных ремней 50мм
Механизм храповый для ленты 75 мм
Механизм храповый для ленты 75 мм
Механизм храповый для ленты 85 мм
Механизм храповый для ленты 85 мм
Талреп с трещоткой с двумя крюками (стяжка цепная) 10-13 Ромек
Талреп с трещоткой с двумя крюками (стяжка цепная) 10-13 Ромек
Секатор Финланд с храповым механизмом
Секатор Финланд с храповым механизмом
Kraft KT 701074
Kraft KT 701074
Стяжной механизм 1,5/3т (р-р35мм)
Стяжной механизм 1,5/3т (р-р35мм)
Храповик стартера Хускварна 323r
Храповик стартера Хускварна 323r
Magnus Profi лебедка LRG 4002
Magnus Profi лебедка LRG 4002
Стяжка цепная Tor Тип r (талреп с храповиком), 8-10мм 2450кг (5400lbs),
Стяжка цепная Tor Тип r (талреп с храповиком), 8-10мм 2450кг (5400lbs),
0

Похожие фотографии

Комментарии (0)

Кликните на изображение чтобы обновить код, если он неразборчив