Железнодорожные тормоза

0
Тележка вагона 3 осная
Тележка вагона 3 осная
Тормозные колодки чс7
Тормозные колодки чс7
Тележка эп20 тормоза
Тележка эп20 тормоза
Тормозная колодка эд4м
Тормозная колодка эд4м
Магнито рельсовый тормоз
Магнито рельсовый тормоз
Колодка тормозная Вагонная композиционная 25610
Колодка тормозная Вагонная композиционная 25610
Тяговый редуктор электровоза эп20
Тяговый редуктор электровоза эп20
Дисковые тормоза вагона
Дисковые тормоза вагона
Ручной тормоз Локомотива 2с5к

Фотография Ручной тормоз Локомотива 2с5к

Тормозная колодка пассажирского вагона
Тормозная колодка пассажирского вагона
Колодочные тормоза вагона
Колодочные тормоза вагона
Тормозной цилиндр тэп70
Тормозной цилиндр тэп70
Экстренное торможение поезда
Экстренное торможение поезда
Боксование колесных пар
Боксование колесных пар
Колесная пара электровоза эп20
Колесная пара электровоза эп20
Привод стояночного тормоза тепловоза
Привод стояночного тормоза тепловоза
Башмак горочный тормозной 8739.00сб
Башмак горочный тормозной 8739.00сб
Колеса поезда
Колеса поезда
Электромагнитный тормоз трамвая
Электромагнитный тормоз трамвая
Тормозная колодка жд вагона

Фотография Тормозная колодка жд вагона

Стояночный тормоз на полувагоне
Стояночный тормоз на полувагоне
Тормозная колодка ЖД вагона
Тормозная колодка ЖД вагона
Колесная пара тележки 68-4095
Колесная пара тележки 68-4095
Тележка пассажирского вагона
Тележка пассажирского вагона
Колесная пара грузового вагона РЖД
Колесная пара грузового вагона РЖД
Колесная пара грузового вагона РЖД
Колесная пара грузового вагона РЖД
Замедлитель РНЗ-2м
Замедлитель РНЗ-2м
Рельсовый тормоз КТМ 5
Рельсовый тормоз КТМ 5
Автотормозное оборудование грузового вагона
Автотормозное оборудование грузового вагона
Колодочный тормоз вагона схема
Колодочный тормоз вагона схема
Боксование колесных пар Локомотива
Боксование колесных пар Локомотива
Клещевой механизм Кнорр-Бремзе
Клещевой механизм Кнорр-Бремзе
Ручной тормоз поезд
Ручной тормоз поезд
Боксование колесных пар
Боксование колесных пар
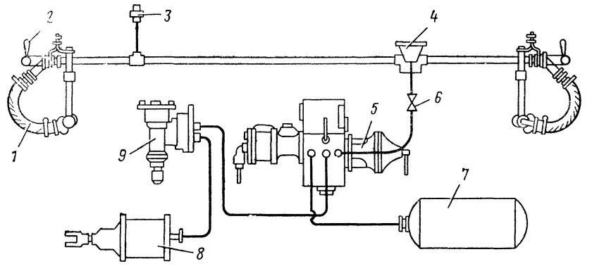
Схема автотормозного оборудования грузового вагона
Схема автотормозного оборудования грузового вагона
Распорная тяга грузового вагона
Распорная тяга грузового вагона
Тормоза железнодорожного подвижного состава
Тормоза железнодорожного подвижного состава
Тормозной цилиндр грузового вагона 710-03
Тормозной цилиндр грузового вагона 710-03
Тормозная рычажная передача грузового вагона
Тормозная рычажная передача грузового вагона
Схема стенда тормозной системы

Фотография Схема стенда тормозной системы

Железнодорожный тормоз
Железнодорожный тормоз
Фрикционный Клин грузового вагона
Фрикционный Клин грузового вагона
Упор тормозной стационарный УТС-380
Упор тормозной стационарный УТС-380
Двухосная тележка типа 18 – 100 (ЦНИИ – х3)
Двухосная тележка типа 18 – 100 (ЦНИИ – х3)
Железнодорожный тормоз
Железнодорожный тормоз
Тормозная рычажная передача электровоза 2эс5к
Тормозная рычажная передача электровоза 2эс5к
Привод стояночного тормоза грузового вагона
Привод стояночного тормоза грузового вагона
Колесная пара РЖД
Колесная пара РЖД
Тормоза поезда метро
Тормоза поезда метро
Схема автотормозного оборудования грузового вагона
Схема автотормозного оборудования грузового вагона
Магнито рельсовый тормоз
Магнито рельсовый тормоз
Закрепление вагонов тормозными башмаками
Закрепление вагонов тормозными башмаками
Тормозная рычажная передача вл11
Тормозная рычажная передача вл11
Колодка безгребневая тг40.20.057
Колодка безгребневая тг40.20.057
Тележка электропоезда Иволга
Тележка электропоезда Иволга
Колесная пара грузового вагона ржд
Колесная пара грузового вагона ржд
Привод стояночного тормоза грузового вагона
Привод стояночного тормоза грузового вагона
Рукав тормозной магистрали вагона
Рукав тормозной магистрали вагона
Тормоза поезда
Тормоза поезда
Схема осмотра тормозной рычажной передачи тележки

Фотография Схема осмотра тормозной рычажной передачи тележки

Схема автотормозного оборудования грузового вагона
Схема автотормозного оборудования грузового вагона
Башмак горочный тормозной 8739.00сб
Башмак горочный тормозной 8739.00сб
Колесная пара электровоза вл80с
Колесная пара электровоза вл80с
Сцепка тормозных шлангов вагона
Сцепка тормозных шлангов вагона
Башмак тормозной колодки 80.40.010 сб
Башмак тормозной колодки 80.40.010 сб
Рукав соединительный с электроконтактом 369а
Рукав соединительный с электроконтактом 369а
Вихретоковый тормоз
Вихретоковый тормоз
Колеса паровоза
Колеса паровоза
Колесная пара электровоза 2эс10
Колесная пара электровоза 2эс10
Колесная пара грузового вагона РЖД
Колесная пара грузового вагона РЖД
Тормозной цилиндр Локомотива вл-10
Тормозной цилиндр Локомотива вл-10
Тяга стояночного тормоза грузового вагона
Тяга стояночного тормоза грузового вагона
Схема прямодействующего неавтоматического тормоза
Схема прямодействующего неавтоматического тормоза
Концевой кран вл10
Концевой кран вл10
Железнодорожное колесо
Железнодорожное колесо
0

Похожие фотографии

Комментарии (0)

Кликните на изображение чтобы обновить код, если он неразборчив