Реостатное торможение

0
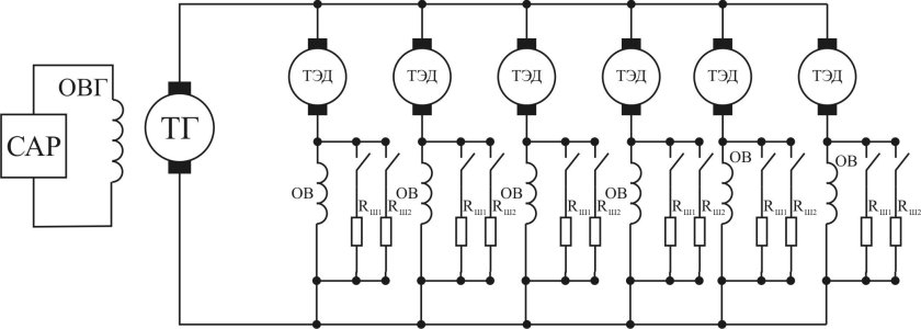
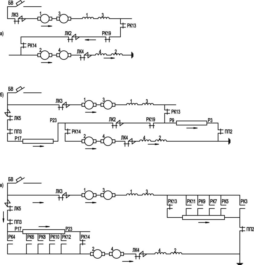
Упрощенная электрическая схема электровоза постоянного тока
Упрощенная электрическая схема электровоза постоянного тока
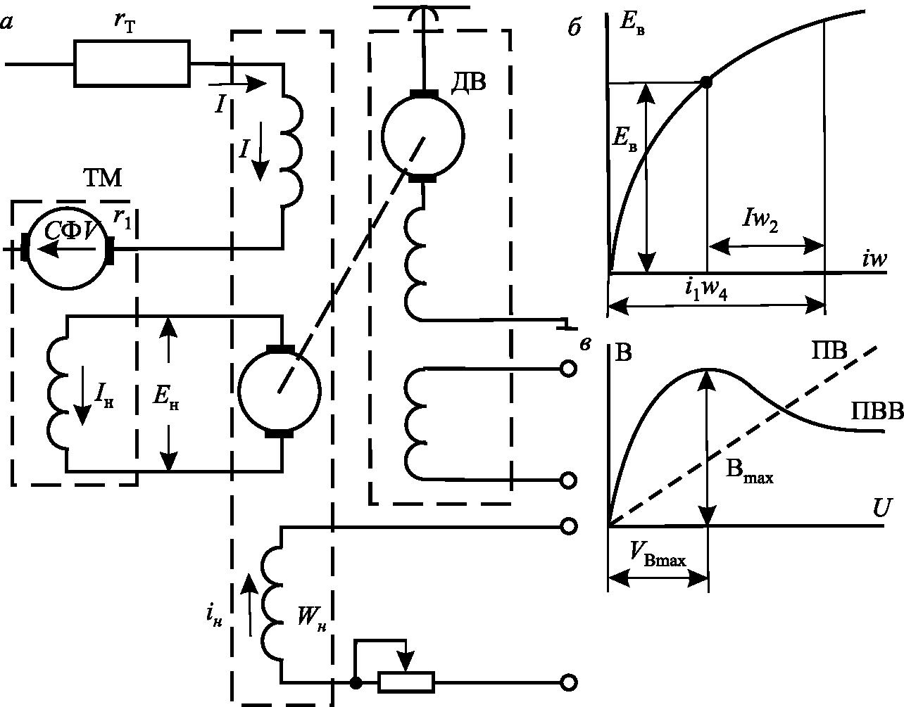
Двигатель постоянного тока схема
Двигатель постоянного тока схема
Двигатель постоянного тока схема
Двигатель постоянного тока схема
Реостатный тормоз вл80с
Реостатный тормоз вл80с
Тормозные реостаты КТМ-5
Тормозные реостаты КТМ-5
Двигатель постоянного тока схема
Двигатель постоянного тока схема
Конструкция реостатного тормоза
Конструкция реостатного тормоза
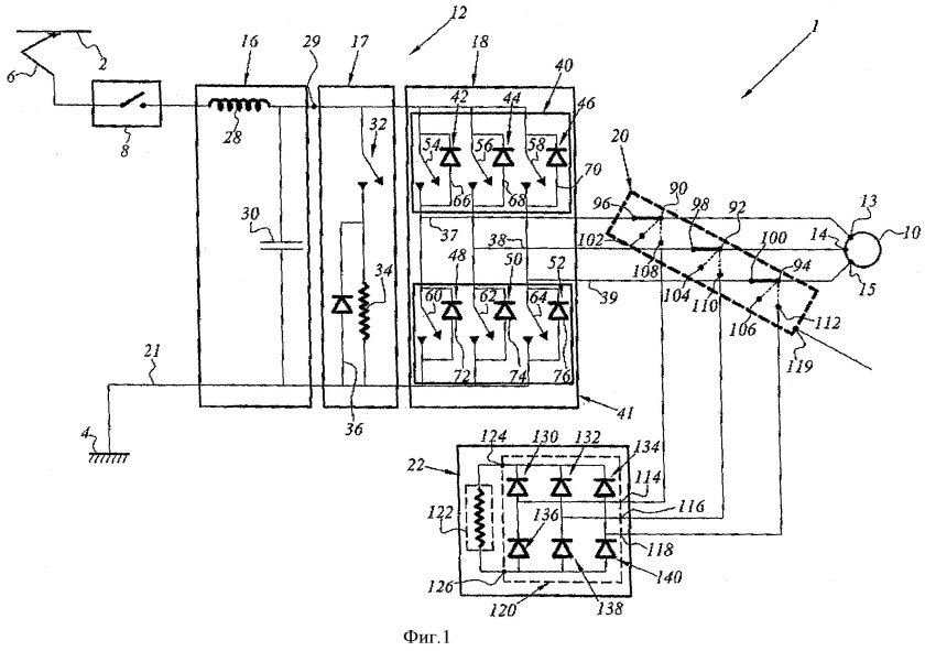
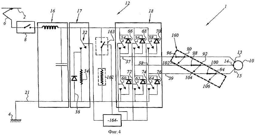
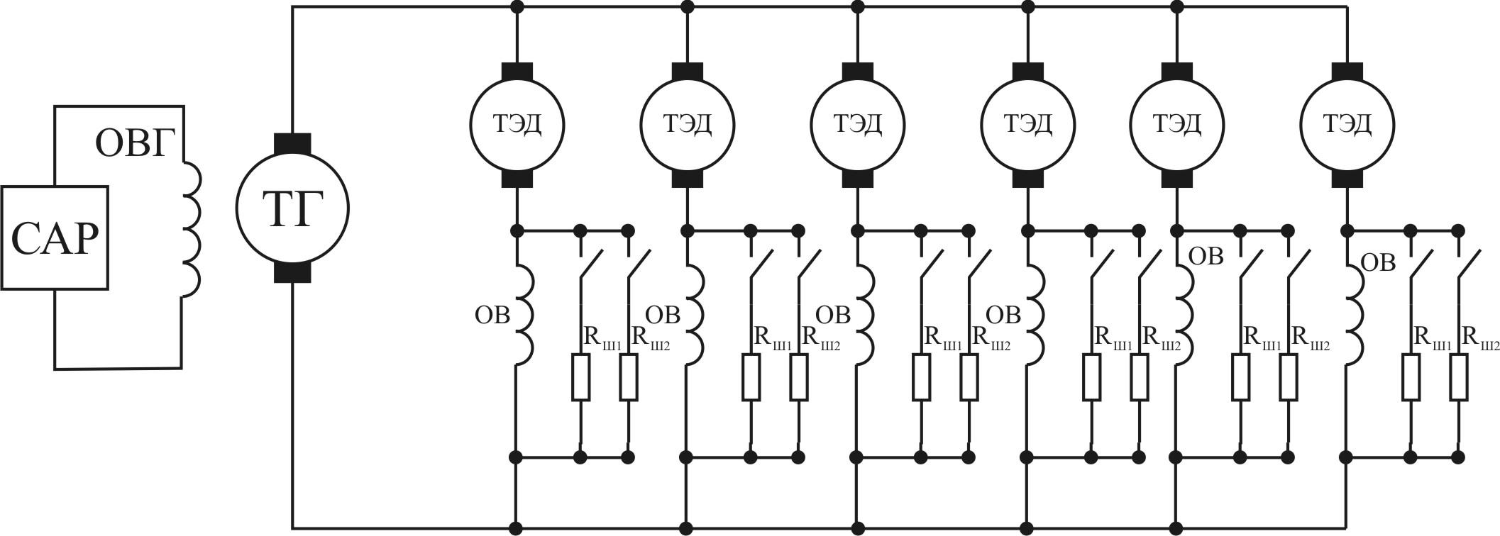
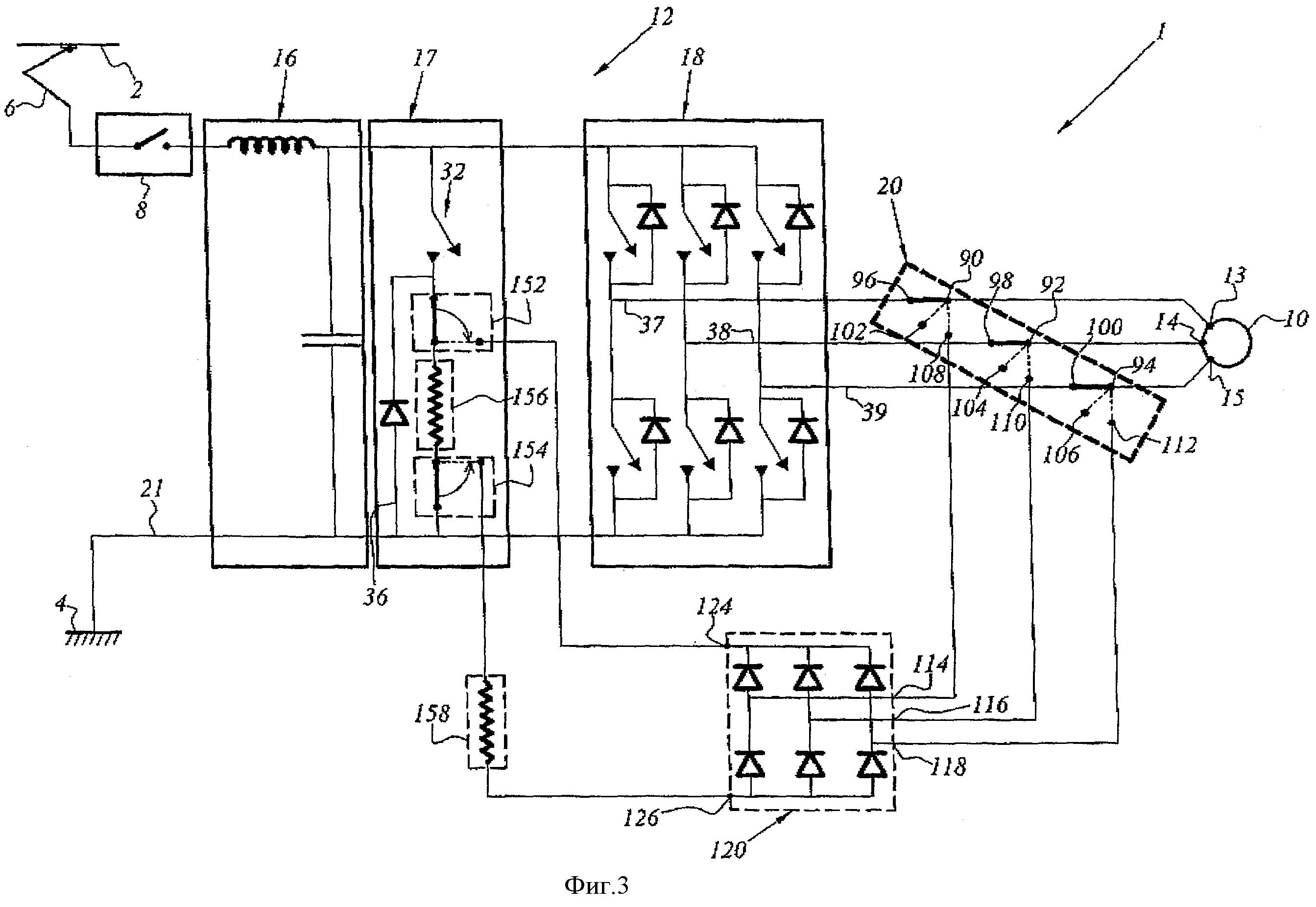
Схема реостатного торможения
Схема реостатного торможения
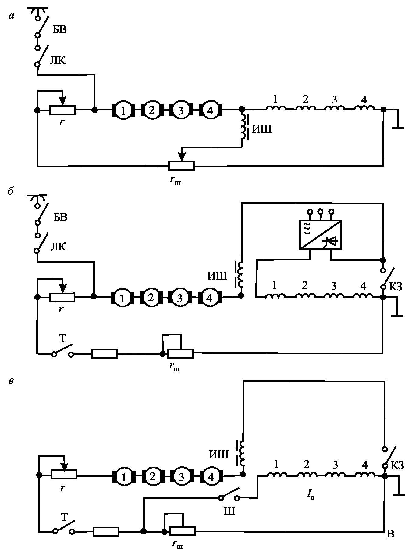
Схема включения

Фотография Схема включения

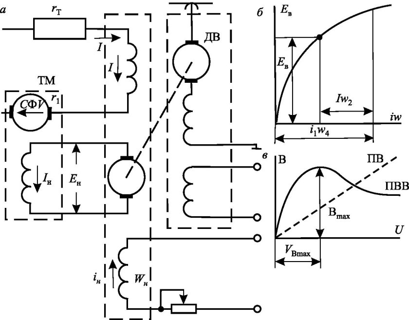
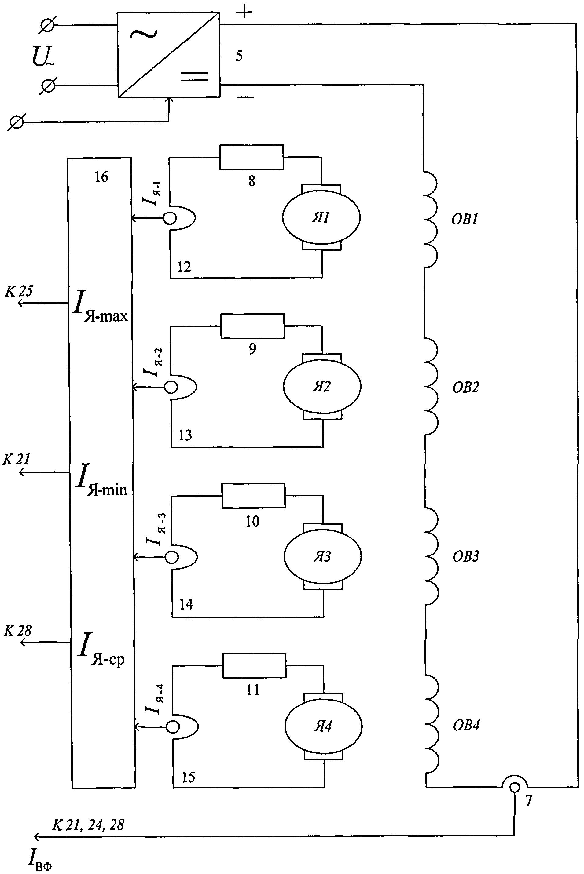
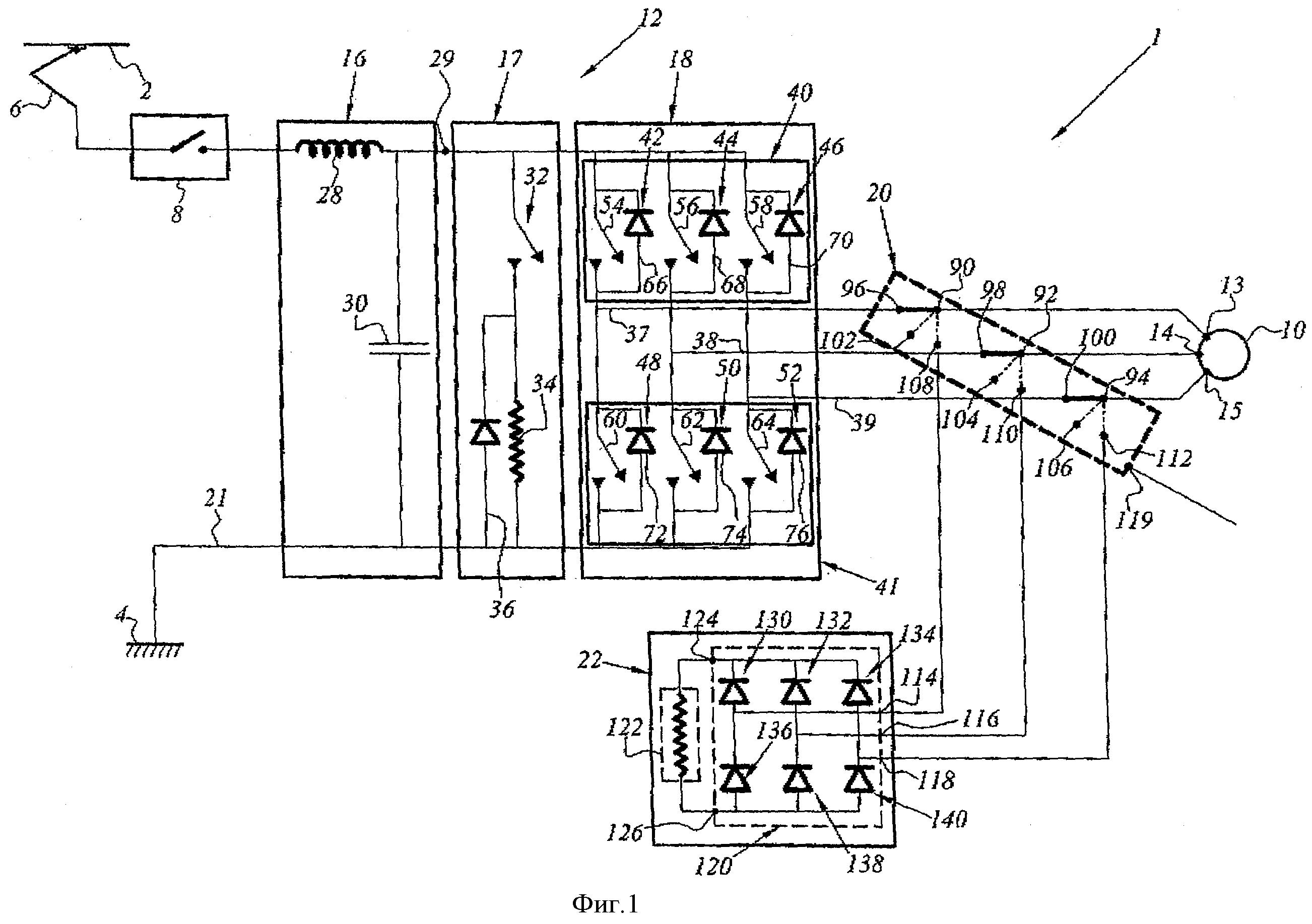
Схема управления генератором постоянного тока
Схема управления генератором постоянного тока
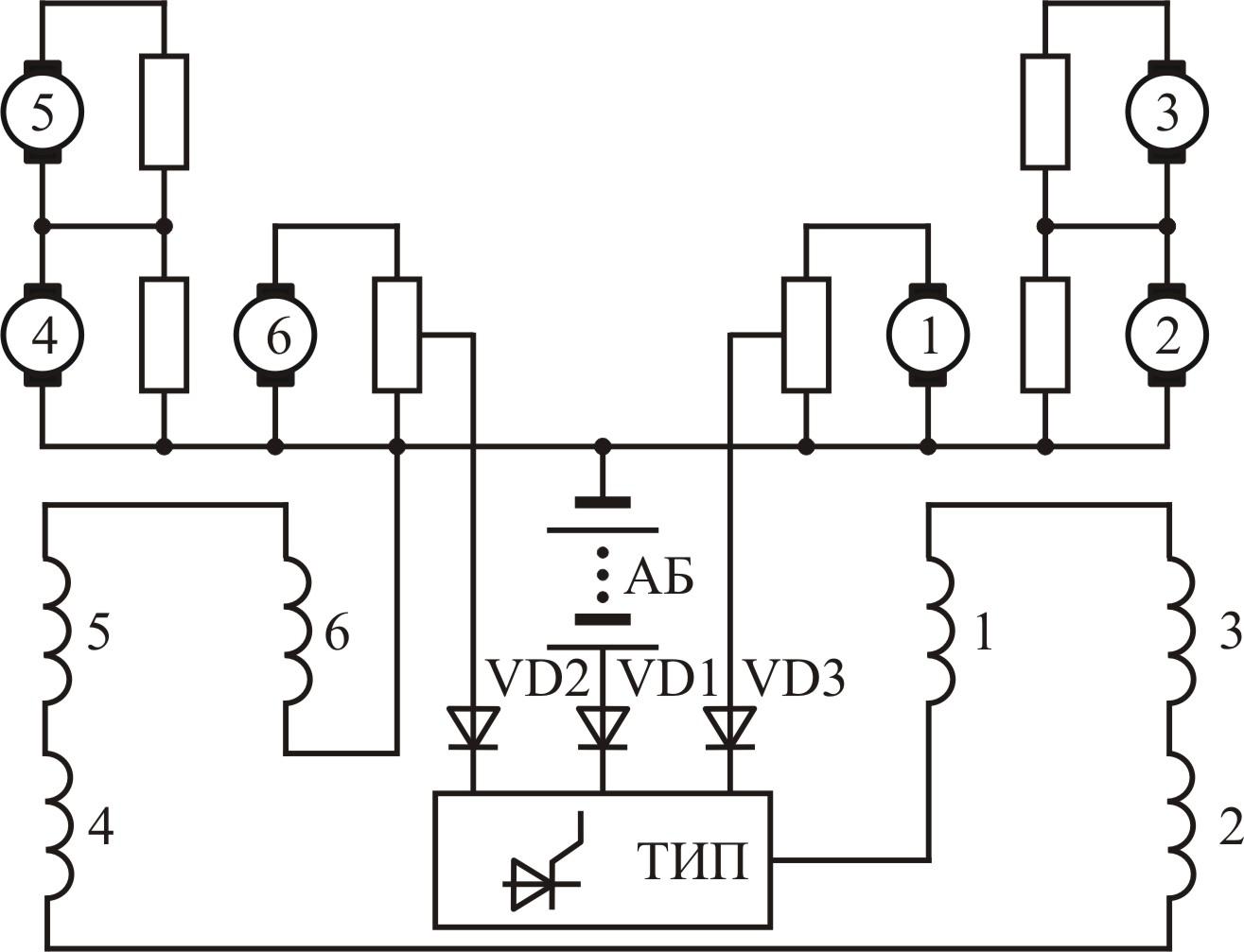
Схема электрических цепей
Схема электрических цепей
Тормозные резисторы Локомотива
Тормозные резисторы Локомотива
Тормозной резистор 81 760761
Тормозной резистор 81 760761
Схема реостатного торможения
Схема реостатного торможения
Тормозной переключатель электровоза вл 10
Тормозной переключатель электровоза вл 10
Торможение в реостатном режиме
Торможение в реостатном режиме
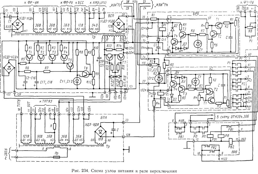
Блок управления реостатным
Блок управления реостатным
Вл80 Локомотив двигатель

Фотография Вл80 Локомотив двигатель

Схема пресинаптического и постсинаптического торможения
Схема пресинаптического и постсинаптического торможения
Торможение в реостатном режиме
Торможение в реостатном режиме
Принципиальная схема силовой цепи трамвайного вагона КТМ 605
Принципиальная схема силовой цепи трамвайного вагона КТМ 605
Тормозная схема тепловоза 2тэ10м
Тормозная схема тепловоза 2тэ10м
Реостатный контроллер 1кс 009
Реостатный контроллер 1кс 009
Схема постсинаптического торможения
Схема постсинаптического торможения
Схема пуска двигателя постоянного тока
Схема пуска двигателя постоянного тока
Пуско тормозные сопротивления 81-717
Пуско тормозные сопротивления 81-717
Магнито рельсовый тормоз
Магнито рельсовый тормоз
Схема пуска двигателя постоянного тока
Схема пуска двигателя постоянного тока
Электрическая схема вагона 81-717/714
Электрическая схема вагона 81-717/714
Опыт Сеченова с лягушкой
Опыт Сеченова с лягушкой
Тележка трамвая схема КТМ 5м3

Фотография Тележка трамвая схема КТМ 5м3

Еж3 контроллер машиниста
Еж3 контроллер машиниста
Французский электровоз
Французский электровоз
Конструкция реостатного тормоза
Конструкция реостатного тормоза
Реостатный контроллер эд4м
Реостатный контроллер эд4м
Контактор д1 на тепловозе 2тэ116
Контактор д1 на тепловозе 2тэ116
Рекуперативное торможение схема
Рекуперативное торможение схема
Схема Сифу для тиристорного преобразователя
Схема Сифу для тиристорного преобразователя
Реостатный преобразователь
Реостатный преобразователь
Высоковольтная камера электровоза вл80с
Высоковольтная камера электровоза вл80с
Схема конденсаторного торможения асинхронного двигателя
Схема конденсаторного торможения асинхронного двигателя
Схема подключения роторного электродвигателя
Схема подключения роторного электродвигателя
Межсекционные кабеля вл 80
Межсекционные кабеля вл 80
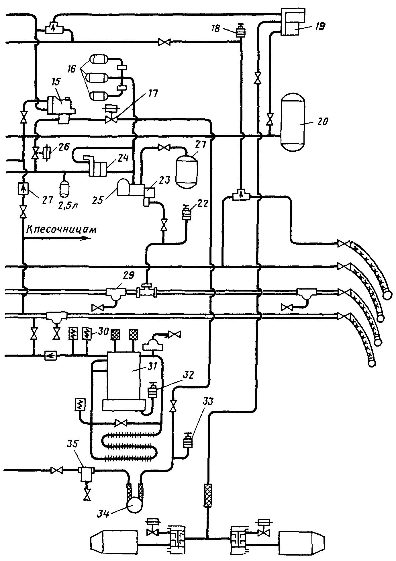
Пневматическая система 2тэ25км
Пневматическая система 2тэ25км
Уравнительный резервуар электровоза
Уравнительный резервуар электровоза
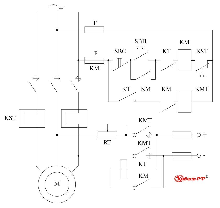
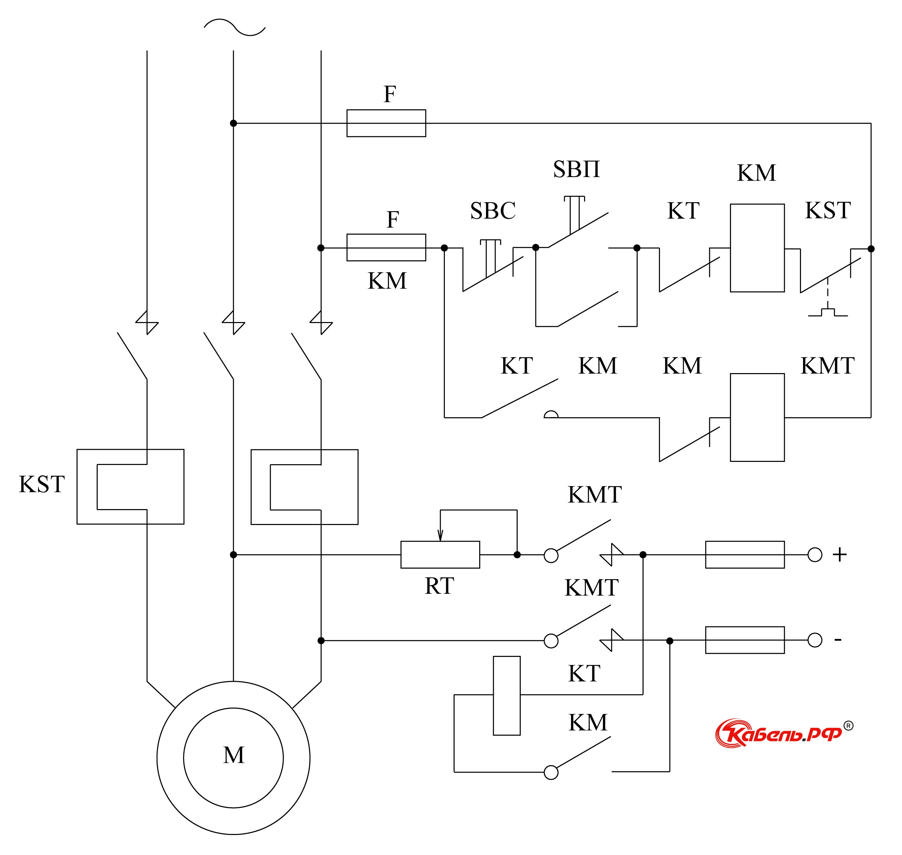
Релейно контакторные схемы управления электропривода
Релейно контакторные схемы управления электропривода
Схема управления пуском и торможением двигателя постоянного тока
Схема управления пуском и торможением двигателя постоянного тока
Классификация торможения в ЦНС
Классификация торможения в ЦНС
Ss1 электровоз
Ss1 электровоз
Магнито рельсовый тормоз
Магнито рельсовый тормоз
Электровоз Шкода чс4

Фотография Электровоз Шкода чс4

Контроллер машиниста 1ку-023
Контроллер машиниста 1ку-023
Пневматическая система тепловоза 2тэ116у
Пневматическая система тепловоза 2тэ116у
Схемы тормозного оборудования электровозов 2эс10
Схемы тормозного оборудования электровозов 2эс10
Бурт вл80с
Бурт вл80с
Эл схема динамического торможения Эл двигателя
Эл схема динамического торможения Эл двигателя
Ускоритель Татра т3
Ускоритель Татра т3
0

Похожие фотографии

Комментарии (0)

Кликните на изображение чтобы обновить код, если он неразборчив