Крейцкопфный судовой двигатель

0
Двухтактный крейцкопфный двигатель
Двухтактный крейцкопфный двигатель
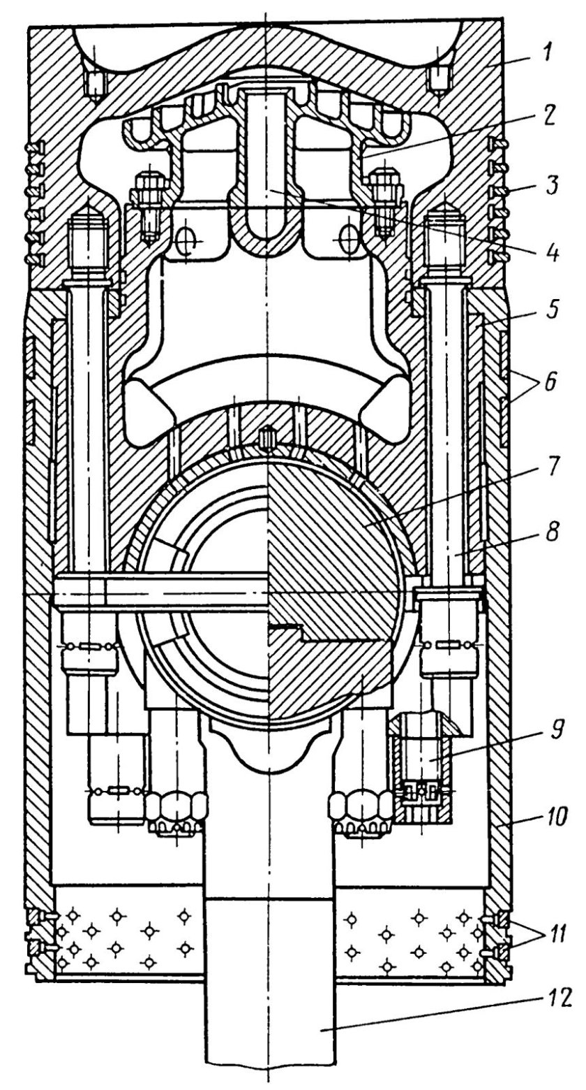
Шатунно поршневая группа дизеля д49
Шатунно поршневая группа дизеля д49
Машинное отделение на судне
Машинное отделение на судне
Крейцкопф син32.04.100.08.00.001
Крейцкопф син32.04.100.08.00.001
Двигатель Wartsila-Sulzer rta96-c
Двигатель Wartsila-Sulzer rta96-c
Wärtsilä sulzer rta 96 c
Wärtsilä sulzer rta 96 c
Двигатель Титаника схема
Двигатель Титаника схема
Чертеж судового дизеля типа 6чн 40/46
Чертеж судового дизеля типа 6чн 40/46
Двигатель Wartsila-Sulzer rta96-c

Фотография Двигатель Wartsila-Sulzer rta96-c

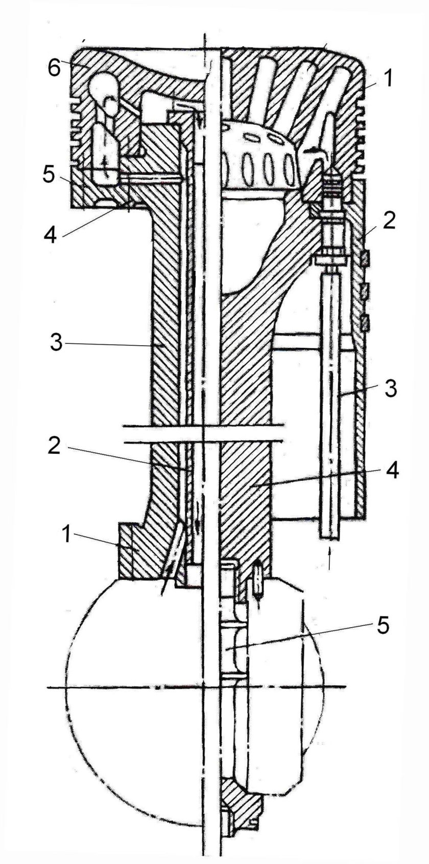
Ползун крейцкопф
Ползун крейцкопф
Крейцкопфный узел судового двигателя
Крейцкопфный узел судового двигателя
Крейцкопфных дизельных двигателей
Крейцкопфных дизельных двигателей
6м20 мак судовой двигатель
6м20 мак судовой двигатель
Судовой двигатель Мак 8м43
Судовой двигатель Мак 8м43
Мотылевый подшипник судового дизеля
Мотылевый подшипник судового дизеля
Поршневой двигатель
Поршневой двигатель
Конструкция крейцкопфного узла
Конструкция крейцкопфного узла
Двигатель Wartsila-Sulzer rta96
Двигатель Wartsila-Sulzer rta96
Двигатель man Diesel & Turbo” s35mc
Двигатель man Diesel & Turbo” s35mc
Судовой двигатель man b&w s50mc-c

Фотография Судовой двигатель man b&w s50mc-c

Накладка крейцкопфа УДС 114
Накладка крейцкопфа УДС 114
Чертёж шатун крейцкопфного двигателя
Чертёж шатун крейцкопфного двигателя
Тронковый поршень судового двигателя
Тронковый поршень судового двигателя
Двигатель Wartsila-Sulzer rta96
Двигатель Wartsila-Sulzer rta96
Судовой дизель
Судовой дизель
Двигатель Wartsila-Sulzer rta96
Двигатель Wartsila-Sulzer rta96
Судовой дизель м507а
Судовой дизель м507а
Двигатель wartsila-sulzer rta96-c
Двигатель wartsila-sulzer rta96-c
Дизельный Корабельный двигатель Wärtsilä-Sulzer rta96c/RT-flex96c
Дизельный Корабельный двигатель Wärtsilä-Sulzer rta96c/RT-flex96c
Двигатель корабля
Двигатель корабля
Wartsila судовые двигатели
Wartsila судовые двигатели
Ползун крейцкопф
Ползун крейцкопф
Пропульсивный комплекс судна это
Пропульсивный комплекс судна это
Двигатель Wartsila-Sulzer rta96
Двигатель Wartsila-Sulzer rta96
Двигателя Роллс Ройс судовые
Двигателя Роллс Ройс судовые
Судовой дизель
Судовой дизель
Тронковый поршень судового двигателя
Тронковый поршень судового двигателя
Тронковый поршень судового двигателя
Тронковый поршень судового двигателя
Крейцкопф поршневого компрессора
Крейцкопф поршневого компрессора
Man 48/60cr Diesel engine

Фотография Man 48/60cr Diesel engine

Man 48/60cr Diesel engine
Man 48/60cr Diesel engine
Судовой двигатель ДКРН 74/160
Судовой двигатель ДКРН 74/160
Дизель-реверс-редукторный агрегат дрра6000
Дизель-реверс-редукторный агрегат дрра6000
Судовой двигатель
Судовой двигатель
Wartsila 16v32
Wartsila 16v32
Двигатель Wartsila 6l20
Двигатель Wartsila 6l20
Двигатель Wartsila-Sulzer rta96-c
Двигатель Wartsila-Sulzer rta96-c
Двигатель Wartsila-Sulzer rta96
Двигатель Wartsila-Sulzer rta96
Крейцкопф 2вм
Крейцкопф 2вм
Двигатель Wartsila-Sulzer rta96-c
Двигатель Wartsila-Sulzer rta96-c
Зульцер двигатель судовой
Зульцер двигатель судовой
Wartsila судовые двигатели
Wartsila судовые двигатели
Коленчатый вал судового двигателя Wartsila
Коленчатый вал судового двигателя Wartsila
Накладка крейцкопфа УДС 114
Накладка крейцкопфа УДС 114
0

Похожие фотографии

Комментарии (0)

Кликните на изображение чтобы обновить код, если он неразборчив