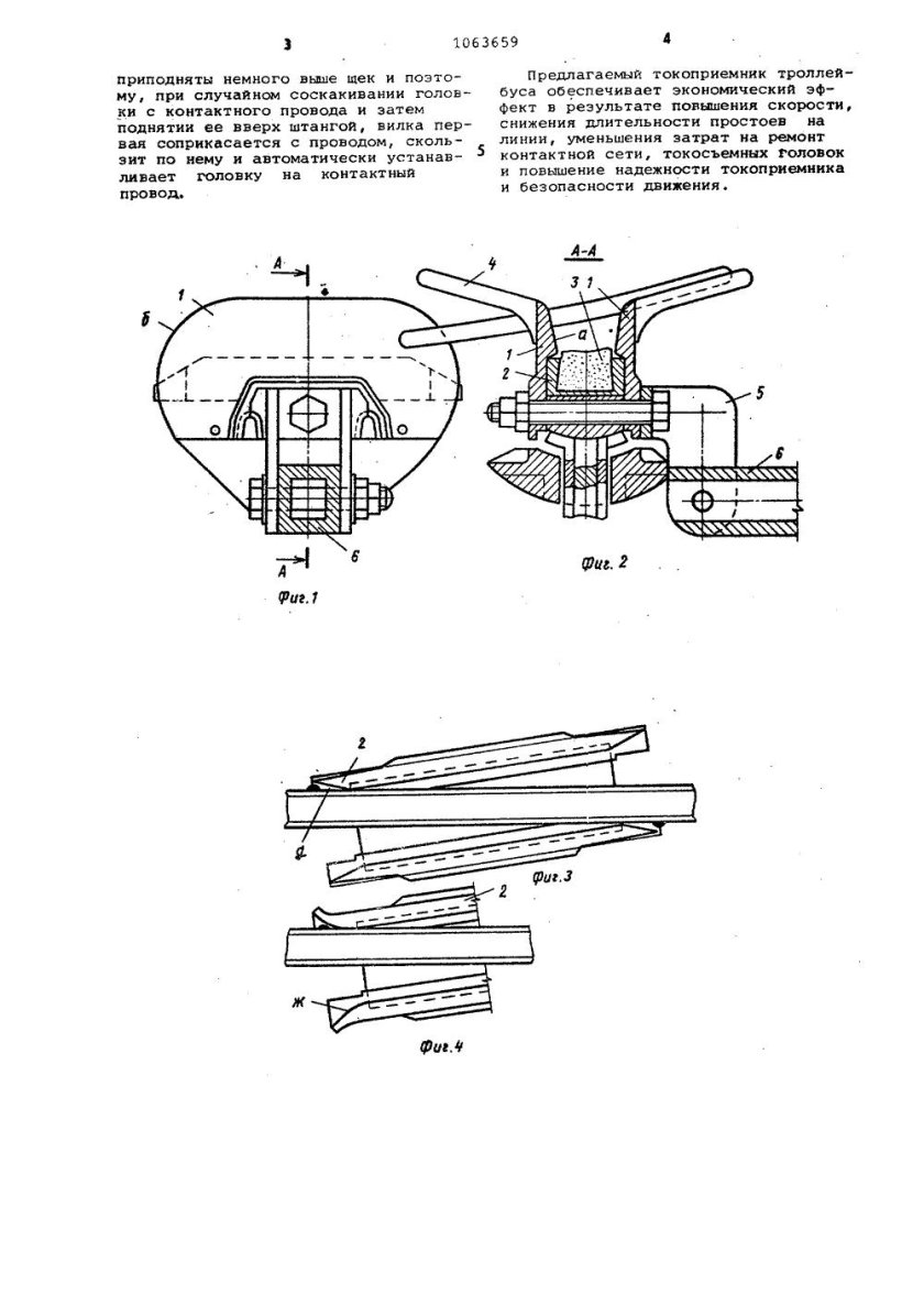
Штанговый токоприемник

0
Пантограф токоприемник троллейбусный
Пантограф токоприемник троллейбусный
Токоприемник ЗИУ 9
Токоприемник ЗИУ 9
Токоприемник ЗИУ 9
Токоприемник ЗИУ 9
Роликовый токоприемник электротранспорта
Роликовый токоприемник электротранспорта
Пантограф (токоприёмник)
Пантограф (токоприёмник)
Башмак токоприемника троллейбуса
Башмак токоприемника троллейбуса
Штанговый токоприемник троллейбуса
Штанговый токоприемник троллейбуса
Штанговый токоприемник трамвая
Штанговый токоприемник трамвая
Штанговый токоприемник троллейбуса

Фотография Штанговый токоприемник троллейбуса

Чертёж троллейбуса Тролза 5265
Чертёж троллейбуса Тролза 5265
Токоприемник пантограф трамвайный
Токоприемник пантограф трамвайный
Бугельный токоприемник
Бугельный токоприемник
Устройство токоприемника троллейбуса
Устройство токоприемника троллейбуса
Обрыв контактной сети троллейбуса
Обрыв контактной сети троллейбуса
Башмак токоприемника троллейбуса
Башмак токоприемника троллейбуса
Пантограф (токоприёмник)
Пантограф (токоприёмник)
Токоприемник пантограф трамвайный
Токоприемник пантограф трамвайный
Кронштейн контактной сети троллейбуса
Кронштейн контактной сети троллейбуса
Токоприемник л13у1
Токоприемник л13у1
Токоприемник ТЛ-14м

Фотография Токоприемник ТЛ-14м

Пантограф вл10
Пантограф вл10
Пантограф СБК-3м
Пантограф СБК-3м
Токоприемник ЗИУ 9
Токоприемник ЗИУ 9
Изолятор контактной сети троллейбуса
Изолятор контактной сети троллейбуса
Спецчасти троллейбусной контактной сети
Спецчасти троллейбусной контактной сети
Пантограф ТЛ-13у
Пантограф ТЛ-13у
Токоприемник л13у1
Токоприемник л13у1
Токоприемник пантограф эд4м
Токоприемник пантограф эд4м
Обрыв контактной сети троллейбуса
Обрыв контактной сети троллейбуса
Токоприемник пантограф трамвайный
Токоприемник пантограф трамвайный
Строение троллейбуса
Строение троллейбуса
Штанги токоприёмников троллейбусов универсальные 1 43
Штанги токоприёмников троллейбусов универсальные 1 43
Токоприемник электровоза
Токоприемник электровоза
Токоприемник пантограф эд4м
Токоприемник пантограф эд4м
Штангоуловитель троллейбуса ЗИУ
Штангоуловитель троллейбуса ЗИУ
Головка токоприемника троллейбуса
Головка токоприемника троллейбуса
Токоприемника ТЛ-13у1
Токоприемника ТЛ-13у1
Токоприемник Соло
Токоприемник Соло
Пантограф вл80
Пантограф вл80
Токоприемник электровоза эп1м

Фотография Токоприемник электровоза эп1м

Трамвай Даугавпилс 71 623
Трамвай Даугавпилс 71 623
Головки токоприемника троллейбуса 14 ГТ
Головки токоприемника троллейбуса 14 ГТ
Trolleybus line
Trolleybus line
Токоприемник ТЛ-13у
Токоприемник ТЛ-13у
Головка токоприемника ГТ-14а
Головка токоприемника ГТ-14а
Штанги токоприёмников троллейбусов универсальные 1 43
Штанги токоприёмников троллейбусов универсальные 1 43
Штанги токоприёмников троллейбусов универсальные 1 43
Штанги токоприёмников троллейбусов универсальные 1 43
Токоприемник ЗИУ 9
Токоприемник ЗИУ 9
Токоприемник ла 19 сэт 160 1200
Токоприемник ла 19 сэт 160 1200
Токоприемник тра-02
Токоприемник тра-02
Пантограф трамвая т3 устройство
Пантограф трамвая т3 устройство
Токоприемник эп1м
Токоприемник эп1м
Пантограф токоприемник
Пантограф токоприемник
Токоприемник тра-02
Токоприемник тра-02
Схема ограничители подъема и спуска талей сканатоукладчиками
Схема ограничители подъема и спуска талей сканатоукладчиками
Токоприемник тл-13у
Токоприемник тл-13у
Бугельный токоприемник
Бугельный токоприемник
Пантограф трамвая т3 устройство
Пантограф трамвая т3 устройство
Опора контактной сети ТП-700 троллейбусные
Опора контактной сети ТП-700 троллейбусные
Токоприемник электровоза вл80с

Фотография Токоприемник электровоза вл80с

Пантограф электробус
Пантограф электробус
Крышевое оборудование вл80с
Крышевое оборудование вл80с
Откидная головка токоприемника троллейбуса
Откидная головка токоприемника троллейбуса
Пантограф п5
Пантограф п5
Токоприемник эд4м
Токоприемник эд4м
Токоприемник пантограф трамвайный
Токоприемник пантограф трамвайный
Опытовый бассейн
Опытовый бассейн
Токоприемника та-160-3200 электровоза 2эс6
Токоприемника та-160-3200 электровоза 2эс6
Токоприемник пантограф эд4м
Токоприемник пантограф эд4м
Штанговый токоприемник троллейбуса
Штанговый токоприемник троллейбуса
Башенного крана
Башенного крана
Токоприемник л13у1
Токоприемник л13у1
Эп20 токоприемники
Эп20 токоприемники
Токоприемник МР 160
Токоприемник МР 160
Токоприемник пантограф эд4м
Токоприемник пантограф эд4м
Токоприемник ТЛ-14м
Токоприемник ТЛ-14м
Пантограф 3д модель
Пантограф 3д модель
Токоприемник пантограф трамвайный
Токоприемник пантограф трамвайный
Токоприемник ТЛ-14м
Токоприемник ТЛ-14м
Пантограф (токоприёмник)
Пантограф (токоприёмник)
Стояночный тормоз троллейбуса ЗИУ 682
Стояночный тормоз троллейбуса ЗИУ 682
Токоприемник л13у1
Токоприемник л13у1
Токоприемника та-160-3200 электровоза 2эс6
Токоприемника та-160-3200 электровоза 2эс6
Головка токоприемника ГТ-13а
Головка токоприемника ГТ-13а
Токоприемник SX-2100 Rus Loco
Токоприемник SX-2100 Rus Loco
Пантографный токоприемник
Пантографный токоприемник
Токоприемник ла 19-21-сэт 155 800
Токоприемник ла 19-21-сэт 155 800
Пантограф (токоприёмник)
Пантограф (токоприёмник)
Пантограф поезда
Пантограф поезда
0

Похожие фотографии

Комментарии (0)

Кликните на изображение чтобы обновить код, если он неразборчив