Снегоход своими руками чертежи

0
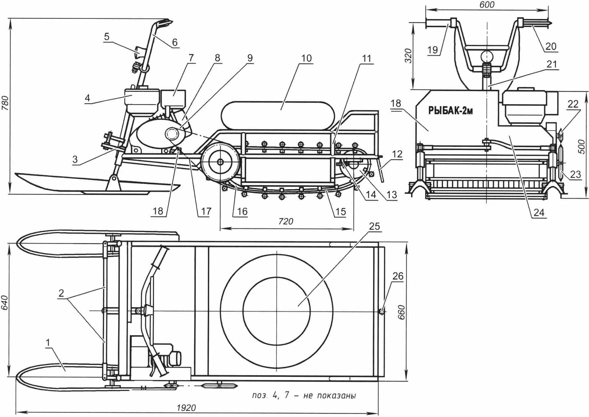
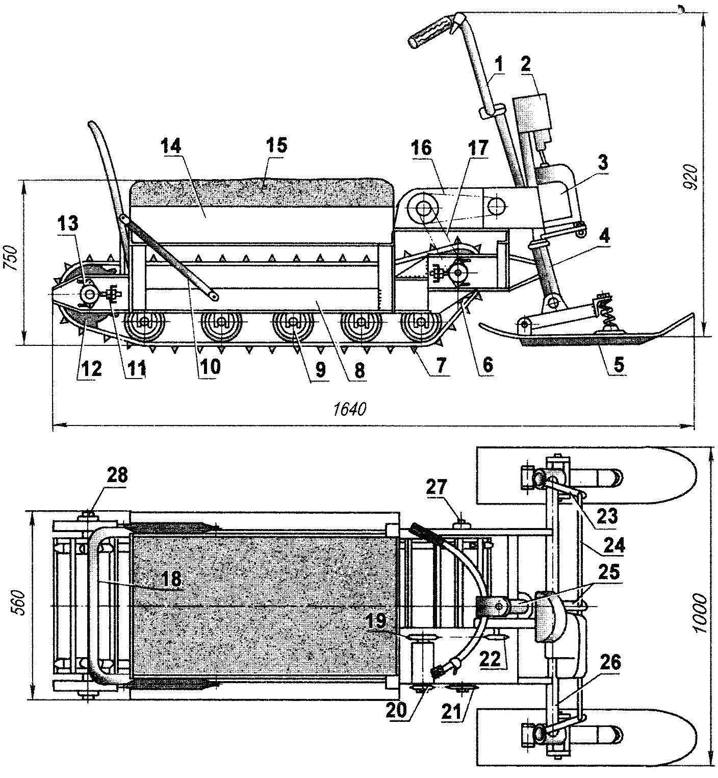
Миниснегоход рыбак 2м
Миниснегоход рыбак 2м
Самодельный снегоход чертежи
Самодельный снегоход чертежи
Мотособака своими руками схема и чертежи с двигателем лифан
Мотособака своими руками схема и чертежи с двигателем лифан
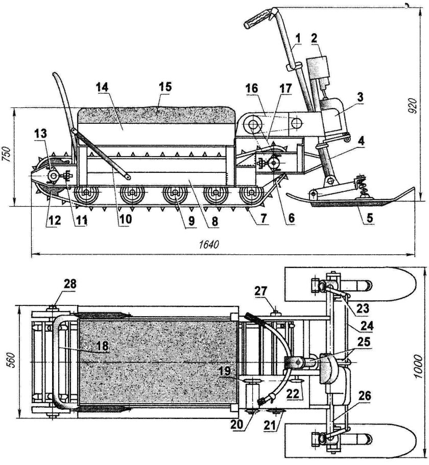
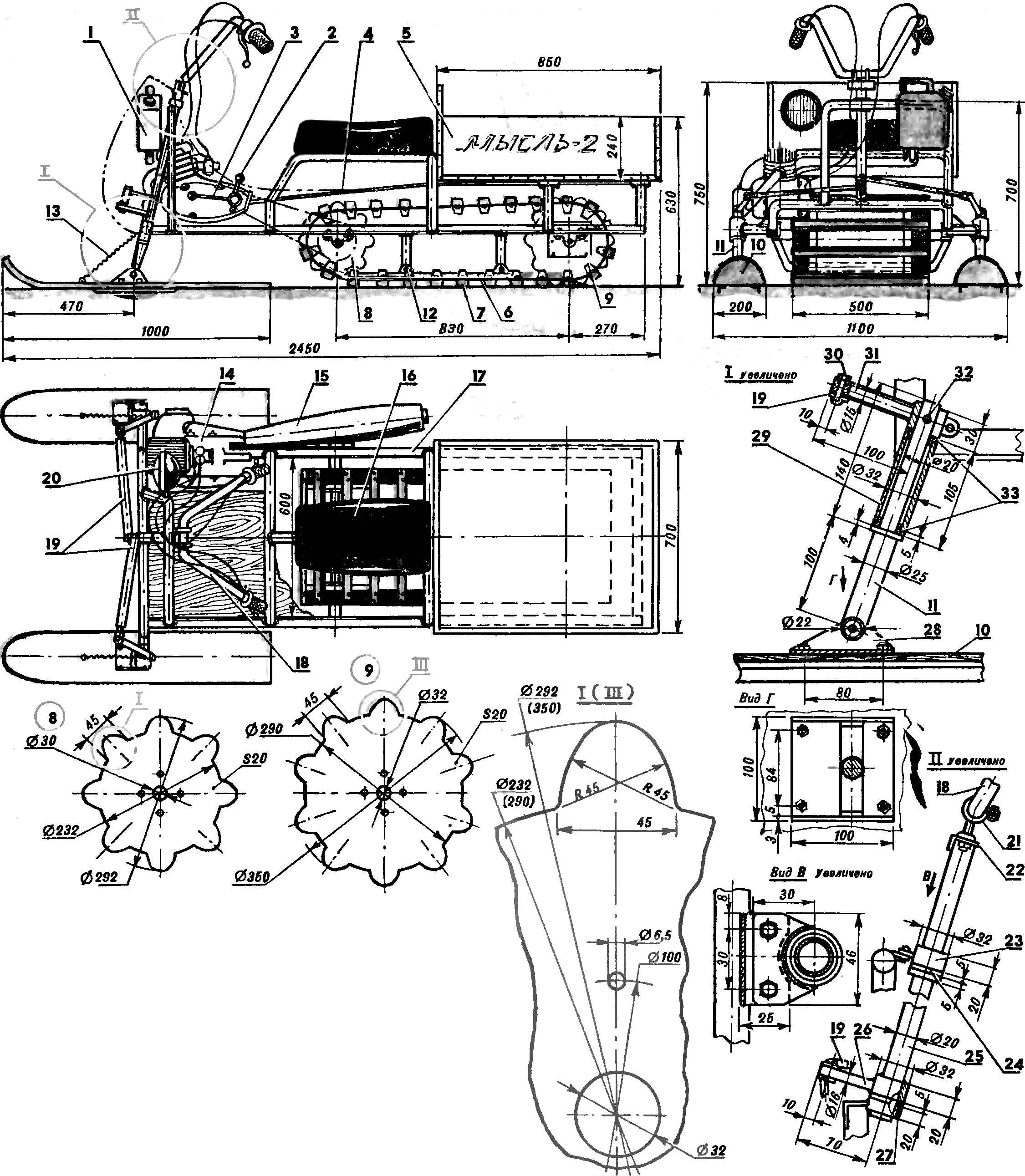
Снегоход Рыбак 2м чертежи
Снегоход Рыбак 2м чертежи
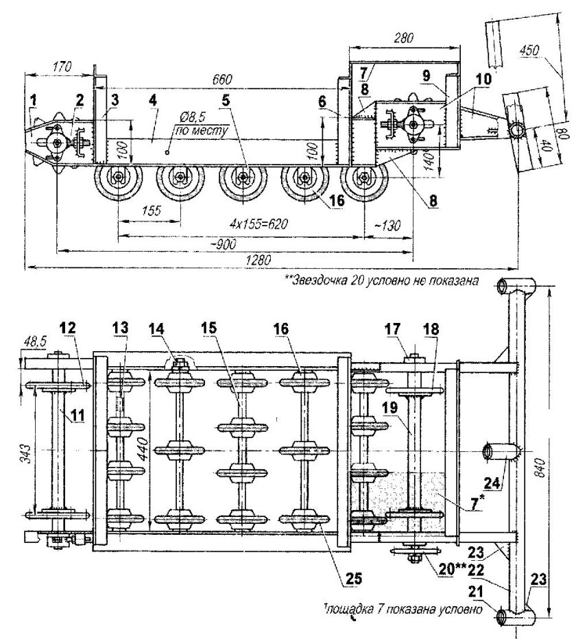
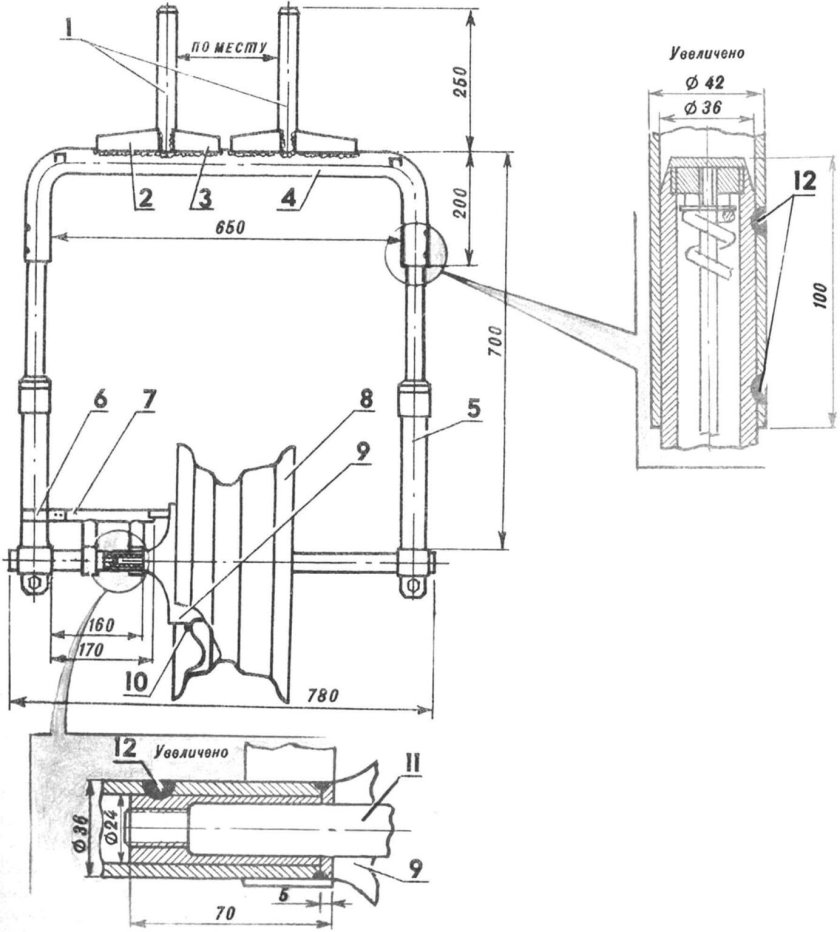
Ширина гусеницы снегохода Рыбак 2м
Ширина гусеницы снегохода Рыбак 2м
Снегоход из бензопилы штиль 180
Снегоход из бензопилы штиль 180
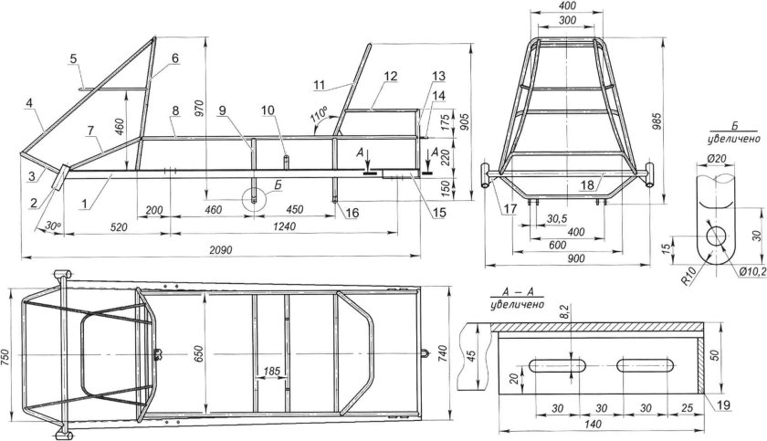
Снегоход Тайга 500 рама чертеж
Снегоход Тайга 500 рама чертеж
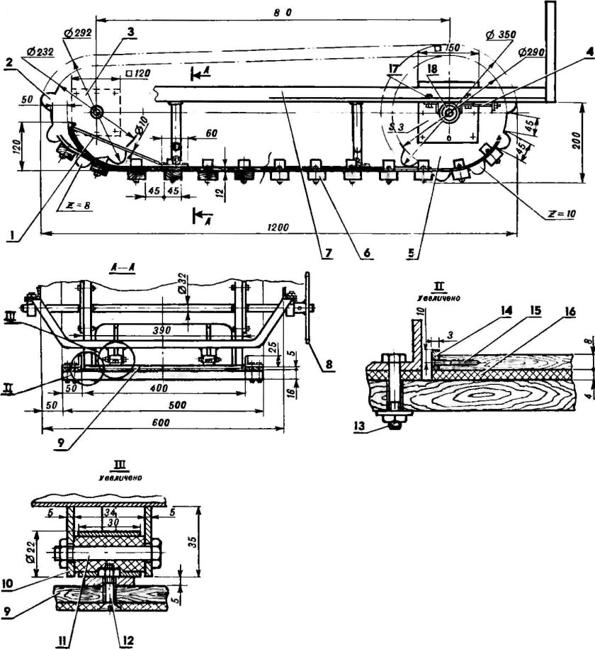
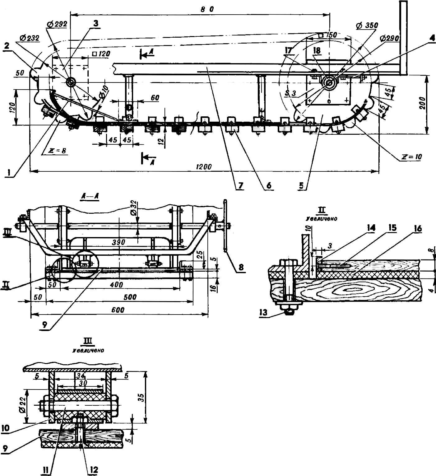
Схема гусянки Бурана
Схема гусянки Бурана
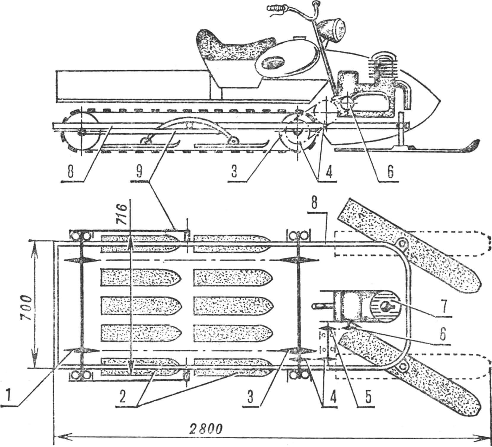
Аэросани с двигателем Лифан 15 л.с

Фотография Аэросани с двигателем Лифан 15 л.с

Снегоход из бензопилы штиль 180
Снегоход из бензопилы штиль 180
Снегоход рыбак 2м чертежи
Снегоход рыбак 2м чертежи
Снегоход самодельный
Снегоход самодельный
Снегоход Вепрь чертежи
Снегоход Вепрь чертежи
Гусеничный модуль на мотоблок чертеж
Гусеничный модуль на мотоблок чертеж
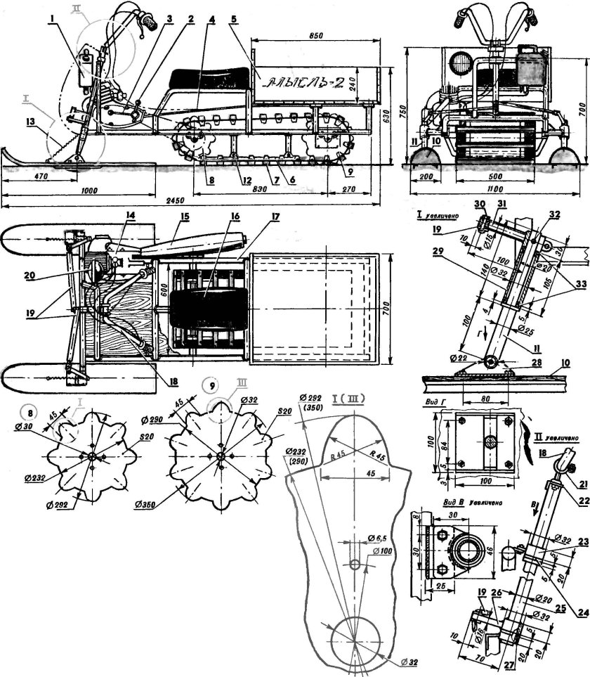
Мотособака своими руками чертежи и Размеры
Мотособака своими руками чертежи и Размеры
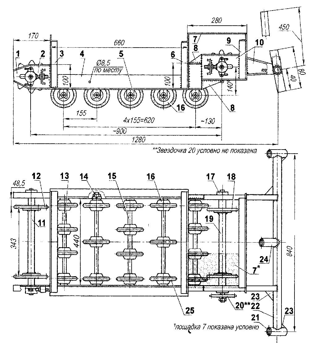
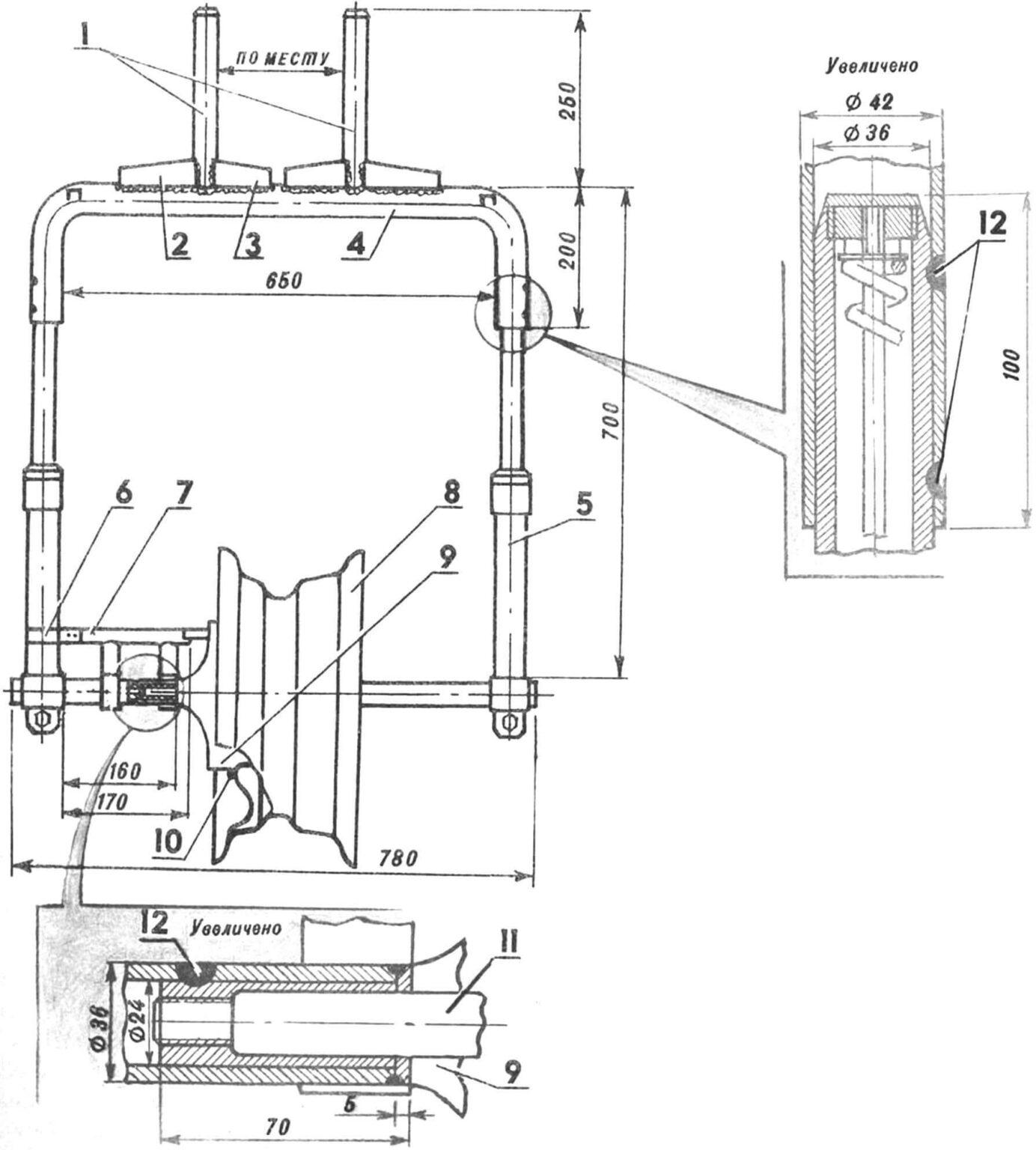
Ходовая снегохода Буран чертеж
Ходовая снегохода Буран чертеж
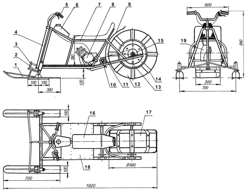
Чертеж мотособака 380 гусеница
Чертеж мотособака 380 гусеница
Снегоход Тайга 500 рама чертеж
Снегоход Тайга 500 рама чертеж
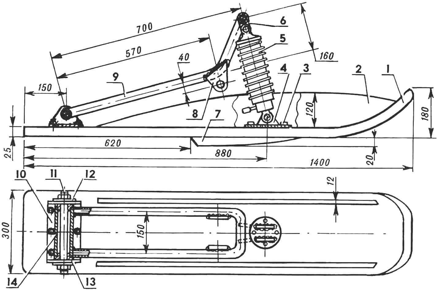
Склизовая подвеска снегохода буран
Склизовая подвеска снегохода буран
Моделист конструктор мотонарты

Фотография Моделист конструктор мотонарты

Конструкция снегохода Буран чертежи
Конструкция снегохода Буран чертежи
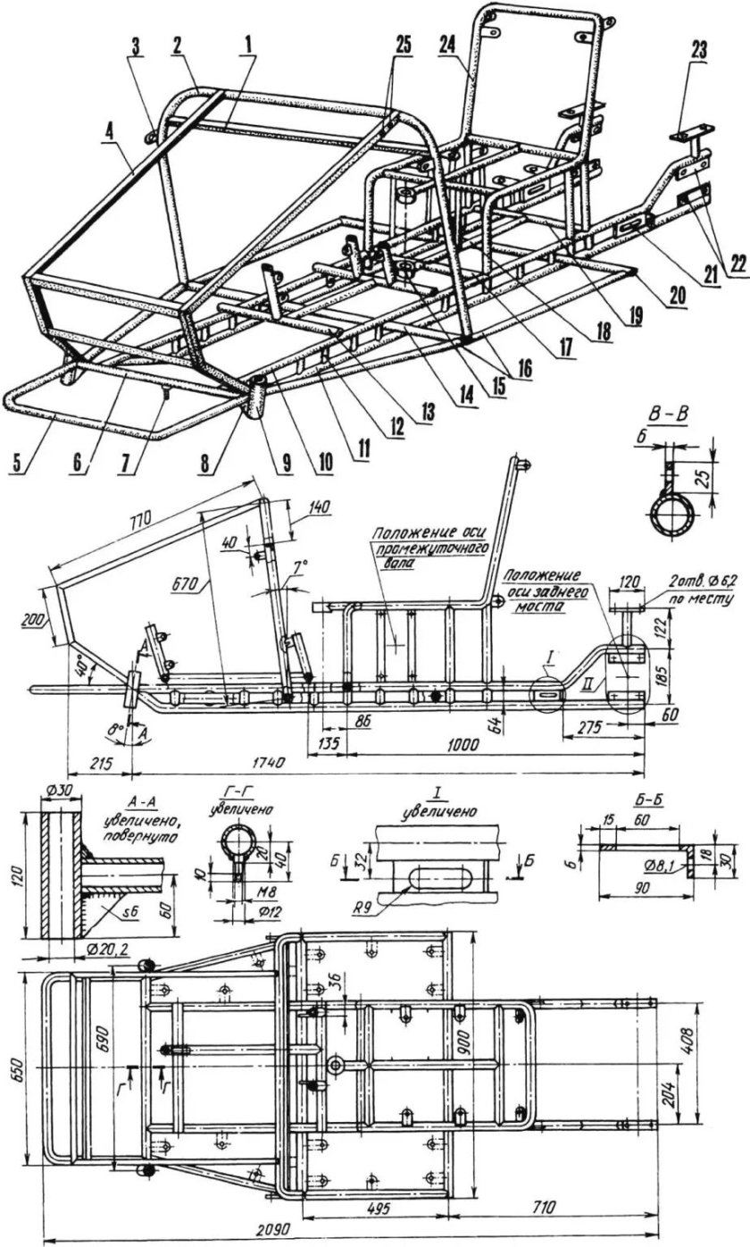
Рама снегохода Буран чертежи
Рама снегохода Буран чертежи
Аэросани моделист конструктор
Аэросани моделист конструктор
Снегоход из бензопилы Урал чертежи
Снегоход из бензопилы Урал чертежи
Схема гусянки Бурана
Схема гусянки Бурана
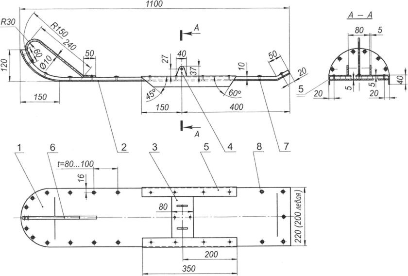
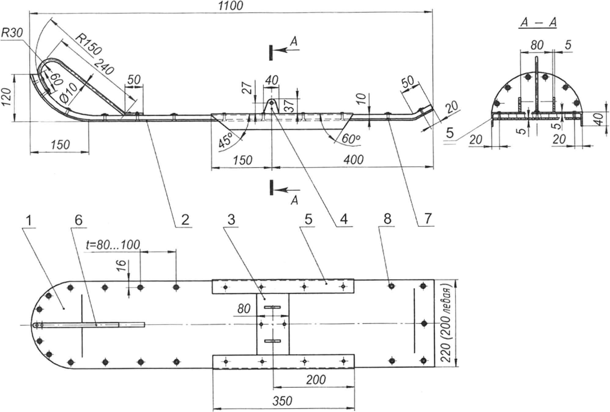
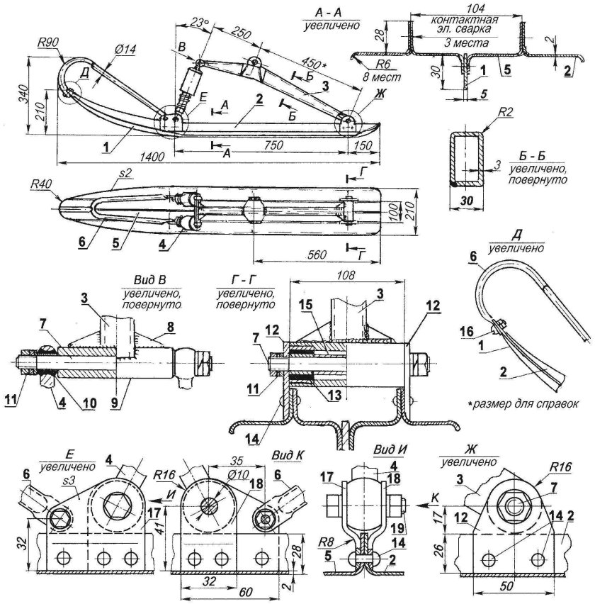
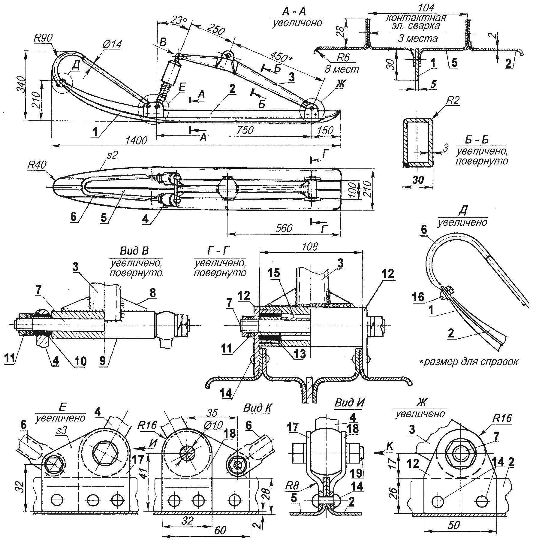
Чертежи лыжи снегохода Буран
Чертежи лыжи снегохода Буран
Чертежи лыжи снегохода Буран
Чертежи лыжи снегохода Буран
Рама снегохода Ямаха
Рама снегохода Ямаха
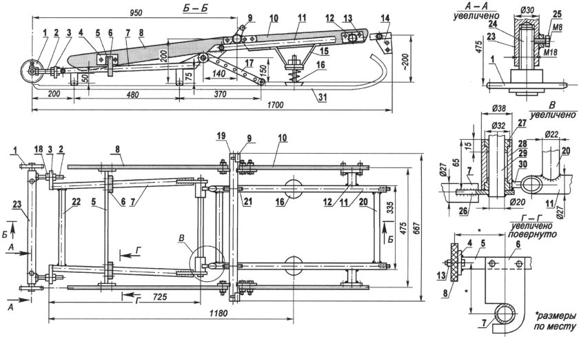
Передний модуль толкач для мотобуксировщика чертежи
Передний модуль толкач для мотобуксировщика чертежи
Сноубайк Васюган
Сноубайк Васюган
Чертежи снегохода чертеж снегохода Буран
Чертежи снегохода чертеж снегохода Буран
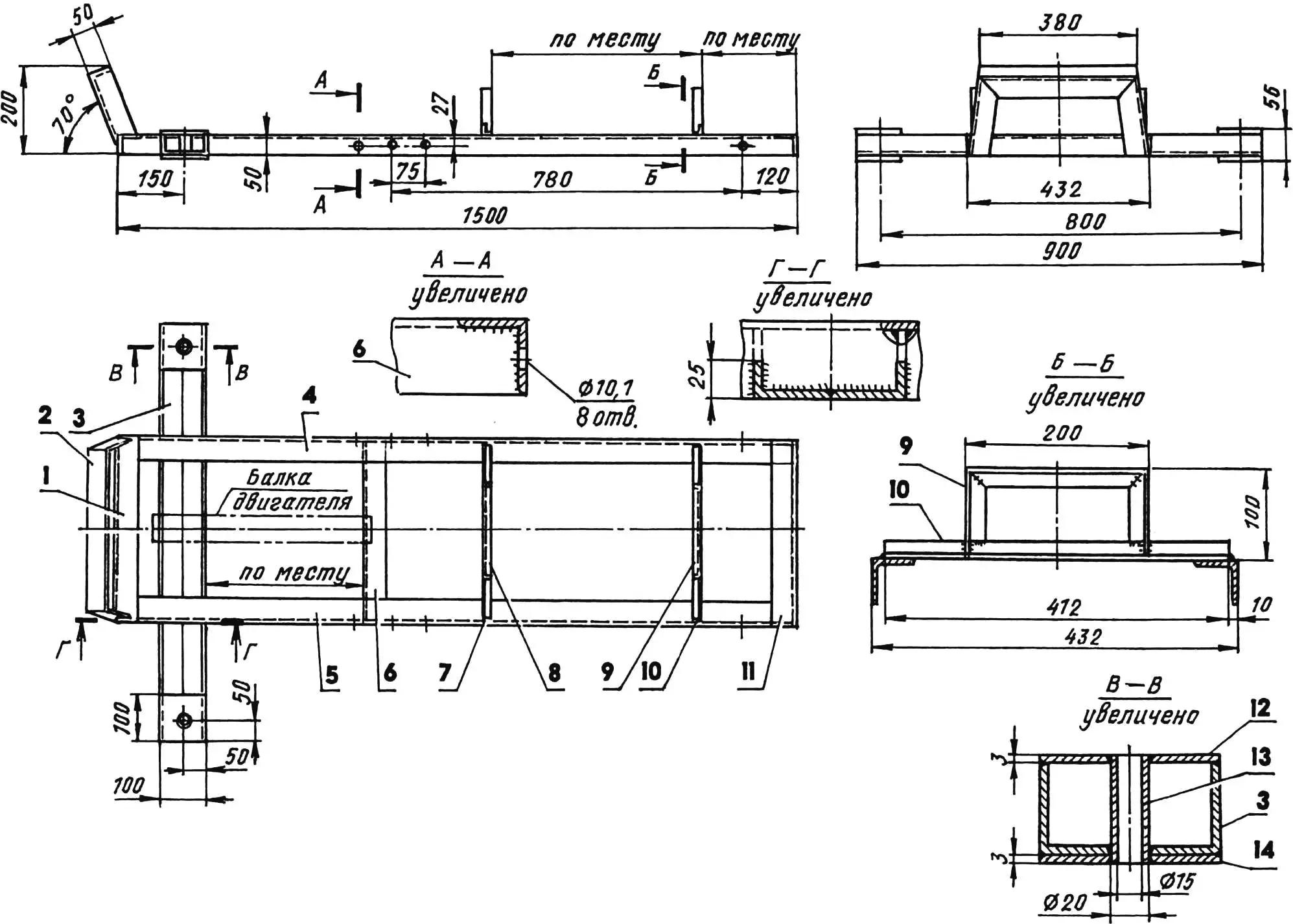
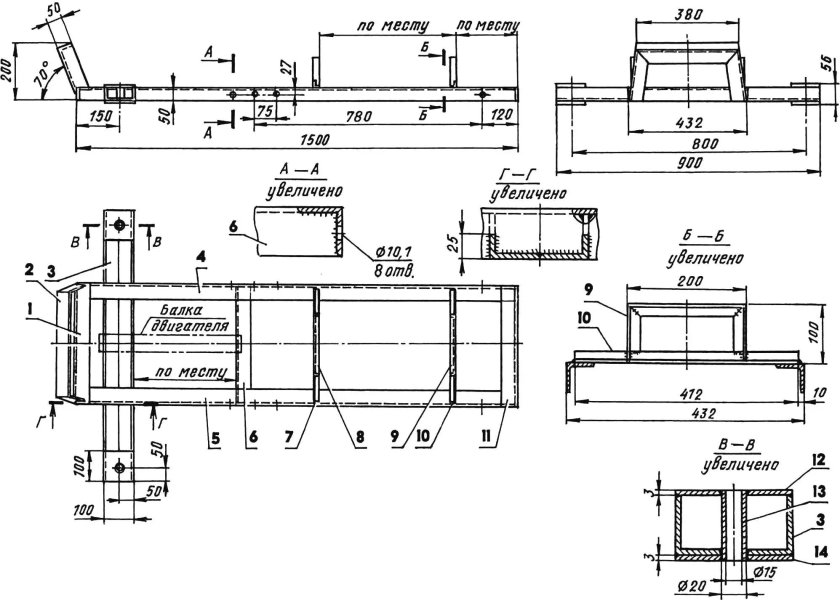
Чертежи рамы мотобуксировщика с гусеницей 380
Чертежи рамы мотобуксировщика с гусеницей 380
Аэросани Моделист
Аэросани Моделист
Чертеж маятниковой вилки мотоцикл Урал
Чертеж маятниковой вилки мотоцикл Урал
Миниснегоход Рыбак 2м чертежи
Миниснегоход Рыбак 2м чертежи
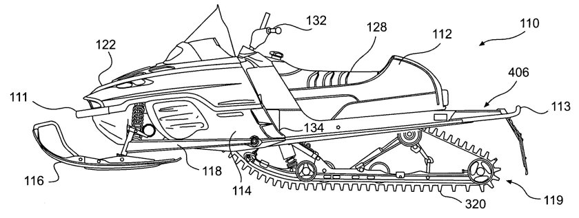
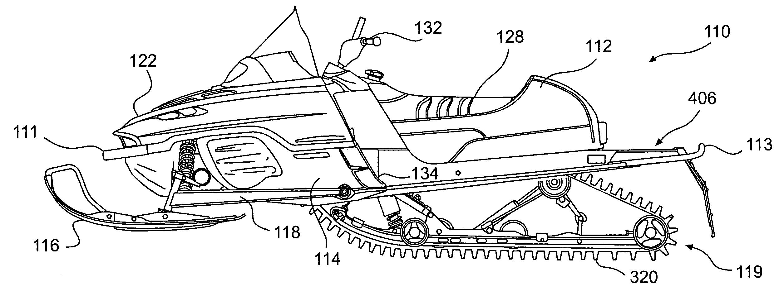
Снегоход Polaris чертежи
Снегоход Polaris чертежи
Чертежи трицикл Васюган
Чертежи трицикл Васюган
Снегоход Тайга 500 рама чертеж
Снегоход Тайга 500 рама чертеж
Габариты снегохода Буран 640
Габариты снегохода Буран 640
Чертеж гусеничного модуля для мотоблока

Фотография Чертеж гусеничного модуля для мотоблока

Ходовая снегохода Буран чертеж
Ходовая снегохода Буран чертеж
Чертеж мотособака 380 гусеница
Чертеж мотособака 380 гусеница
Снегоход ТТМ-1901 Беркут чертёж
Снегоход ТТМ-1901 Беркут чертёж
Самодельный гусеничный модуль на мотоблок
Самодельный гусеничный модуль на мотоблок
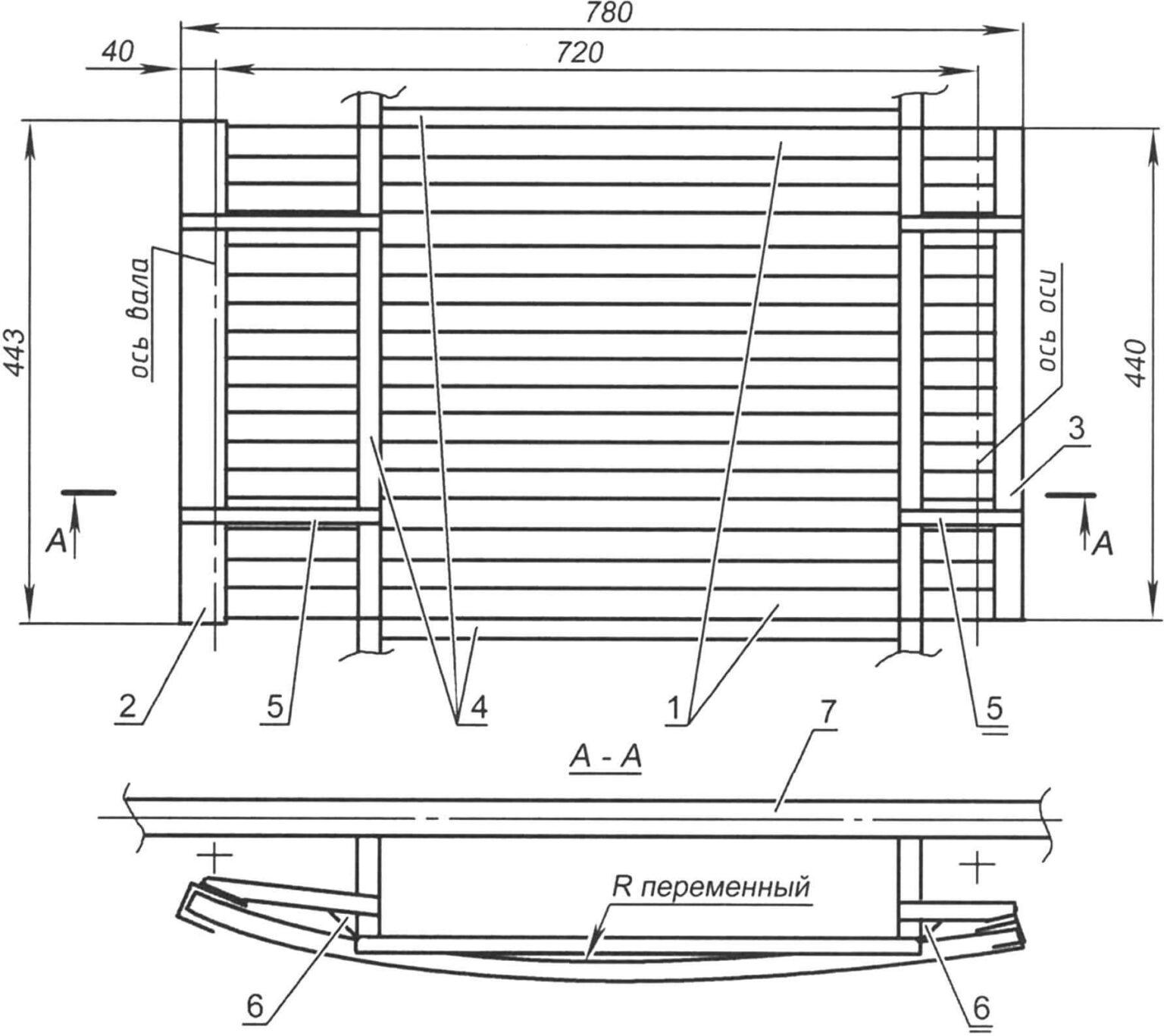
Чертеж гусеницы снегохода
Чертеж гусеницы снегохода
Миниснегоход Рыбак 2м чертежи
Миниснегоход Рыбак 2м чертежи
Чертежи лыжи снегохода Буран
Чертежи лыжи снегохода Буран
Сани ПГА-2500 для снегохода
Сани ПГА-2500 для снегохода
Чертеж мотособака 380 гусеница
Чертеж мотособака 380 гусеница
Пневмоход кузнечик Моделист конструктор
Пневмоход кузнечик Моделист конструктор
Чертежи снегохода Буран
Чертежи снегохода Буран
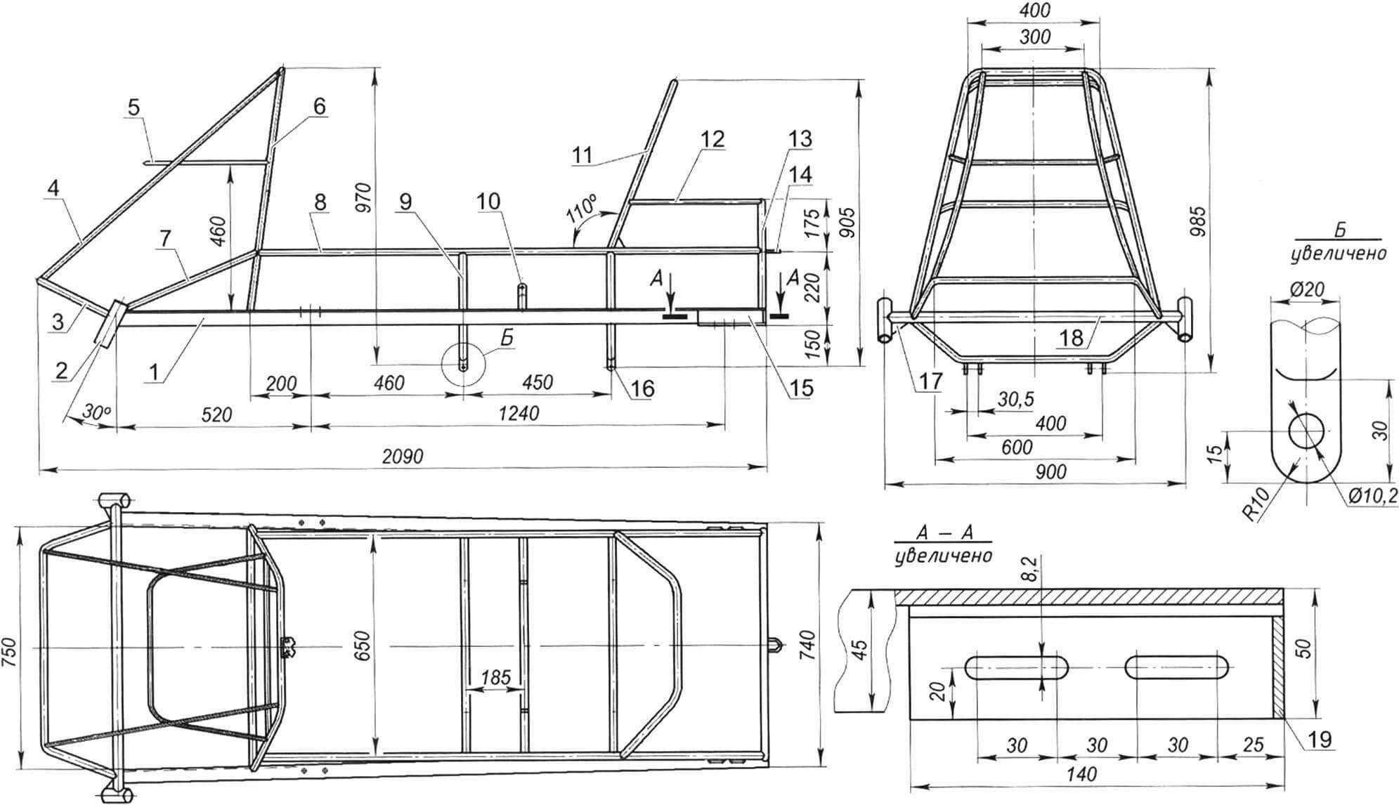
Снегоход Рыбак 2м чертежи
Снегоход Рыбак 2м чертежи
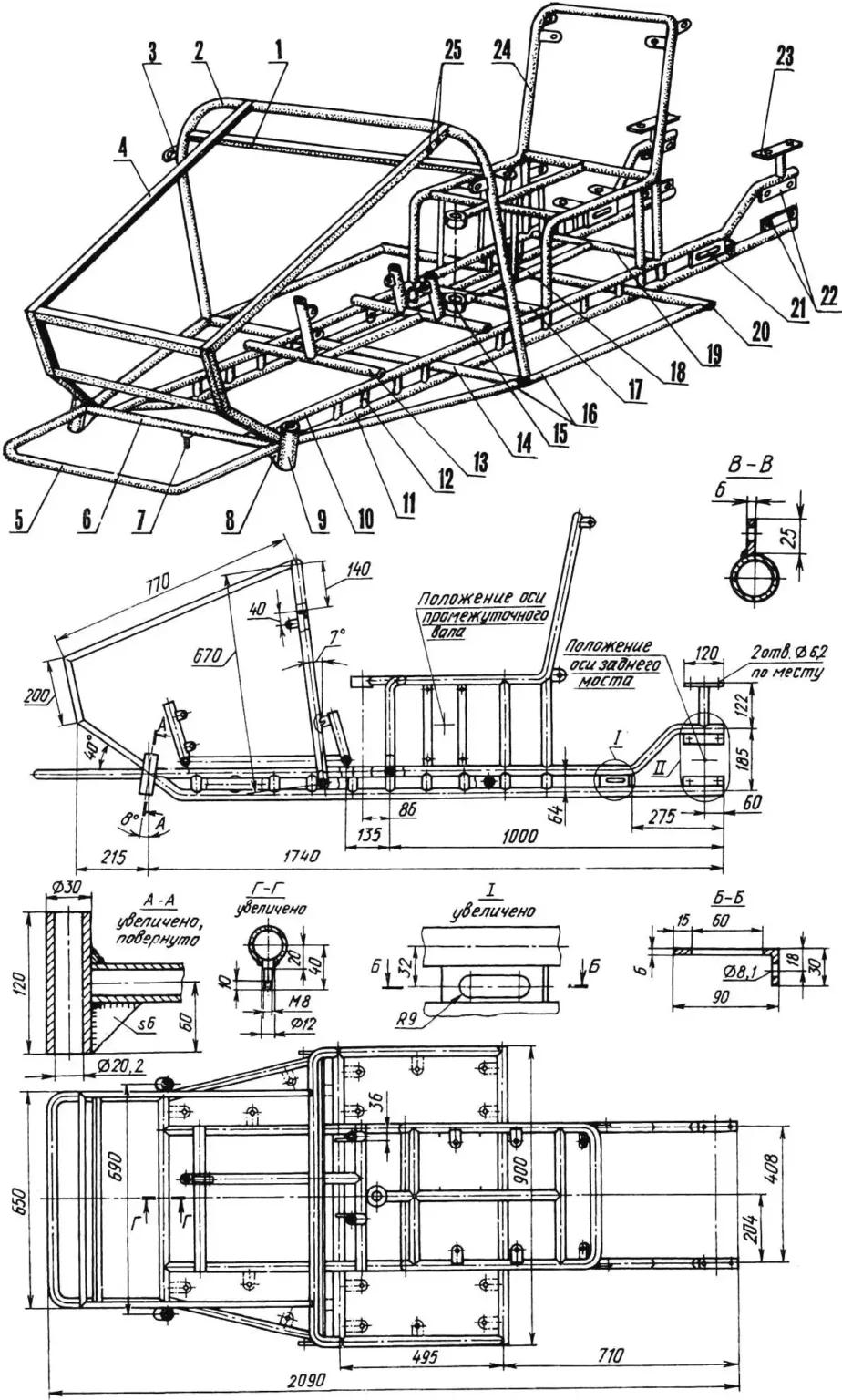
Снегоход Буран чертежи рамы с размерами
Снегоход Буран чертежи рамы с размерами
Мотоснегокат Русак чертежи
Мотоснегокат Русак чертежи
Снегоход своими руками чертежи Моделист конструктор
Снегоход своими руками чертежи Моделист конструктор
Снегокат Васюган чертежи

Фотография Снегокат Васюган чертежи

Снегоход Рыбак 2м чертежи
Снегоход Рыбак 2м чертежи
Чертежи самодельного снегохода
Чертежи самодельного снегохода
Самодельный гусеничный Буран
Самодельный гусеничный Буран
Рама снегохода Тайга 500
Рама снегохода Тайга 500
Склизы для снегохода Буран
Склизы для снегохода Буран
Рама мотобуксировщика гусеница Буран 380
Рама мотобуксировщика гусеница Буран 380
Рама снегохода Тайга 500
Рама снегохода Тайга 500
Сноубайк чертежи
Сноубайк чертежи
Габариты снегохода Ямаха Викинг 540 чертеж
Габариты снегохода Ямаха Викинг 540 чертеж
Сани волокуши чертеж
Сани волокуши чертеж
Снегоход Буран Размеры габариты
Снегоход Буран Размеры габариты
Габариты снегохода Буран 640
Габариты снегохода Буран 640
Чертежи трехколесного караката
Чертежи трехколесного караката
Лыжный модуль для мотособаки чертежи
Лыжный модуль для мотособаки чертежи
Лыжный модуль для мотособаки Барс 380
Лыжный модуль для мотособаки Барс 380
Габариты снегохода Буран 640
Габариты снегохода Буран 640
Рама снегохода Буран чертежи
Рама снегохода Буран чертежи
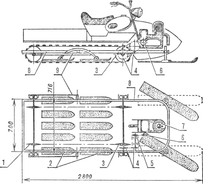
Гусеница Буран 380 чертеж
Гусеница Буран 380 чертеж
Ширина гусеницы снегохода Рыбак 2м
Ширина гусеницы снегохода Рыбак 2м
Мотособака Моделист конструктор
Мотособака Моделист конструктор
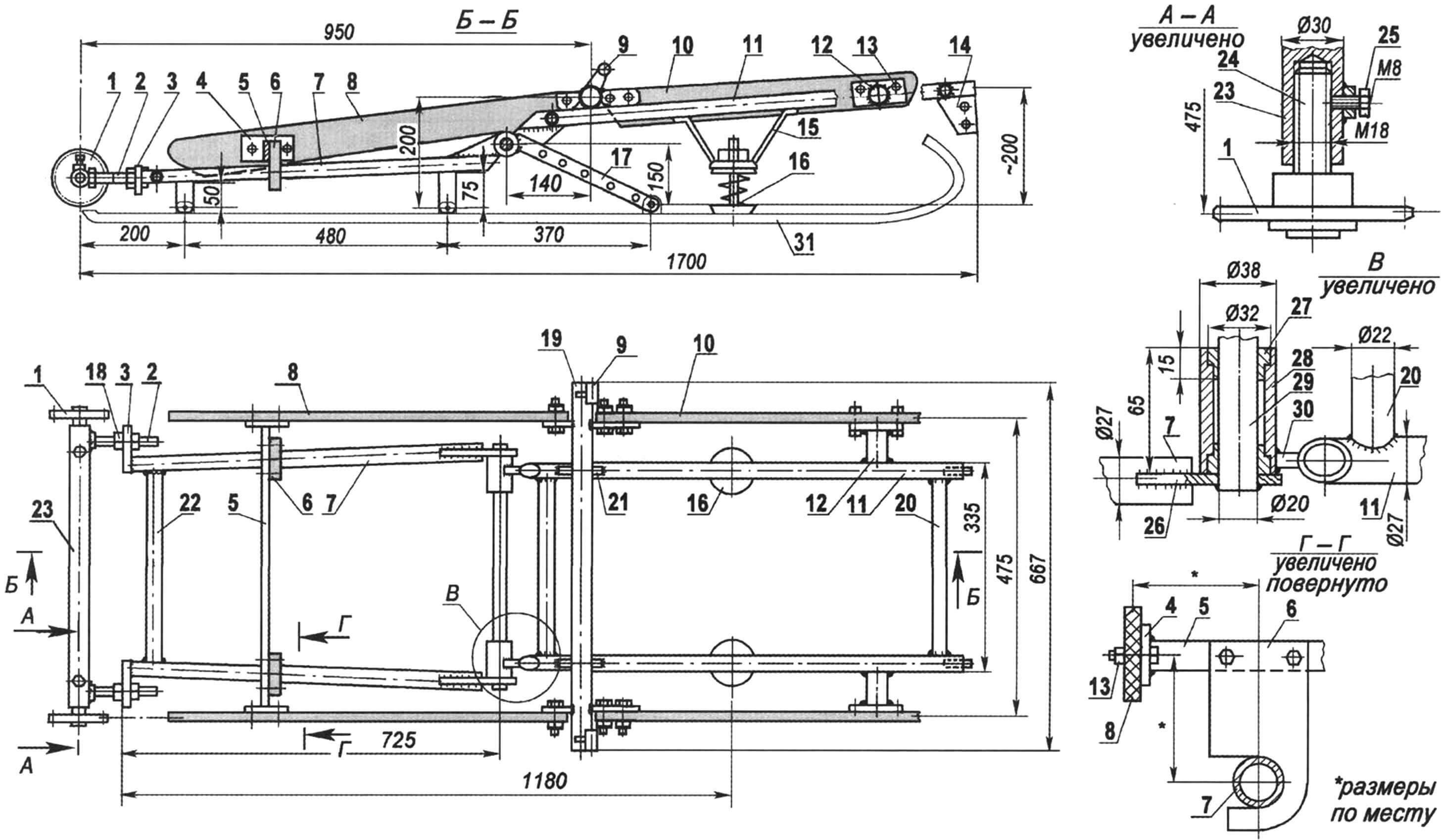
Подвеска снегохода Тайга 500 чертеж
Подвеска снегохода Тайга 500 чертеж
Шнекороторный движитель
Шнекороторный движитель
Подвеска снегохода Тайга 500 чертеж
Подвеска снегохода Тайга 500 чертеж
0

Похожие фотографии

Комментарии (0)

Кликните на изображение чтобы обновить код, если он неразборчив