Крылья сельскохозяйственной техники

0
Крыло переднее
Крыло переднее
Минитрактор Уралец 224
Минитрактор Уралец 224
Крыло н.082.04.406 правое
Крыло н.082.04.406 правое
Крыло переднее
Крыло переднее
Чизельные плуги
Чизельные плуги
80-8403041 Крыло МТЗ
80-8403041 Крыло МТЗ
Крыло заднее
Крыло заднее
Крыло пластиковое
Крыло пластиковое
Артикул крыло пластиковое МТЗ 80

Фотография Артикул крыло пластиковое МТЗ 80

Крыло переднее
Крыло переднее
Плуг отвал
Плуг отвал
Крыло переднее МТЗ 1221
Крыло переднее МТЗ 1221
Крыло заднее МТЗ 952.3 В Н.Новгороде купить
Крыло заднее МТЗ 952.3 В Н.Новгороде купить
151.47.034 Капот
151.47.034 Капот
Крыло переднее левое toyota land cruiser
Крыло переднее левое toyota land cruiser
Переднее крыло
Переднее крыло
Корпус окучника н082.04.000-18 кон-2.8
Корпус окучника н082.04.000-18 кон-2.8
Задние Крылья Кировец к 700
Задние Крылья Кировец к 700
Подкрылки передние
Подкрылки передние
Крыло пластиковое

Фотография Крыло пластиковое

80-8403041 крыло мтз
80-8403041 крыло мтз
Переднее крыло Уралец 244
Переднее крыло Уралец 244
Нож левый 150020010 для почвофрезы (виракс)
Нож левый 150020010 для почвофрезы (виракс)
Крылья велосипедные комплект
Крылья велосипедные комплект
Крыло отвала Светлоград
Крыло отвала Светлоград
Переднее крыло
Переднее крыло
Кабина мтз 80
Кабина мтз 80
Комплект левый
Комплект левый
Удлинители крыльев
Удлинители крыльев
Корпус окучника (крн) (перьевое крыло)
Корпус окучника (крн) (перьевое крыло)
Крыло переднее Джон Дир
Крыло переднее Джон Дир
Передние Крылья на МТЗ 2022
Передние Крылья на МТЗ 2022
Самоходный опрыскиватель Барс 3000
Самоходный опрыскиватель Барс 3000
Пружинные тяги катков сельхоз орудий

Фотография Пружинные тяги катков сельхоз орудий

Туман 2 опрыскиватель самоходный
Туман 2 опрыскиватель самоходный
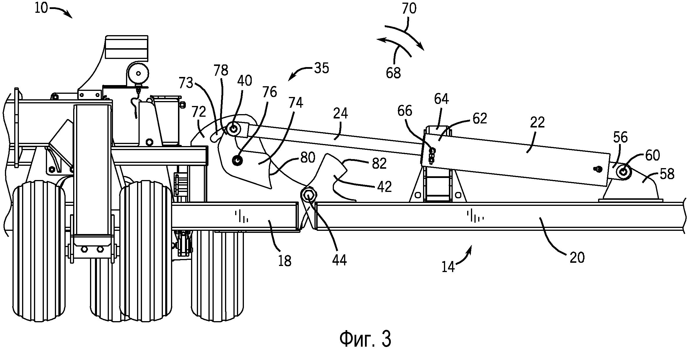
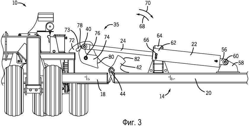
Dk1675 крыло полуприцепаUniversal
Dk1675 крыло полуприцепаUniversal
Мирный Советский комбайн
Мирный Советский комбайн
Опрыскиватель-разбрасыватель самоходный туман-3
Опрыскиватель-разбрасыватель самоходный туман-3
Крыло МТЗ 82 заднее
Крыло МТЗ 82 заднее
Скоба замка капота Кировец к744 р2
Скоба замка капота Кировец к744 р2
80-8403041 Крыло МТЗ
80-8403041 Крыло МТЗ
Офсетные бороны
Офсетные бороны
Крылья на самодельный трактор
Крылья на самодельный трактор
Задние Крылья т 40
Задние Крылья т 40
Крылья передние ЮМЗ 6
Крылья передние ЮМЗ 6
Туман 2 опрыскиватель самоходный
Туман 2 опрыскиватель самоходный
Крыло переднее МТЗ 1221 (пластик) правое
Крыло переднее МТЗ 1221 (пластик) правое
Крыло для минитрактора

Фотография Крыло для минитрактора

Jinma 244
Jinma 244
Крыло переднее МТЗ 80
Крыло переднее МТЗ 80
Крыло отвала р33.пле.21.411
Крыло отвала р33.пле.21.411
Задние Крылья Кировец к 700
Задние Крылья Кировец к 700
Крыло переднее МТЗ 82 С кронштейном
Крыло переднее МТЗ 82 С кронштейном
Опрыскиватель самоходный Amazone, Pantera 4502
Опрыскиватель самоходный Amazone, Pantera 4502
Беспилотный трактор Ростсельмаш
Беспилотный трактор Ростсельмаш
Опрыскиватель Джон Дир r4050i
Опрыскиватель Джон Дир r4050i
Задние Крылья на самодельный минитрактор
Задние Крылья на самодельный минитрактор
Пластиковые Крылья на МТЗ 82 задние
Пластиковые Крылья на МТЗ 82 задние
Синтай 244 передние Крылья
Синтай 244 передние Крылья
Кронштейн крепления переднего крыла МТЗ 82
Кронштейн крепления переднего крыла МТЗ 82
Крепление переднего крыла МТЗ 1221
Крепление переднего крыла МТЗ 1221
РЗЗ.11.51.003-02 отвал левый
РЗЗ.11.51.003-02 отвал левый
Туман-1 самоходный опрыскиватель
Туман-1 самоходный опрыскиватель
Держатель крыльев 294291
Держатель крыльев 294291
Переднее крыло Уралец 244
Переднее крыло Уралец 244
Опрыскиватель самоходный Барс ОС-3000м
Опрыскиватель самоходный Барс ОС-3000м
Отвал предплужника Lemken 3470604
Отвал предплужника Lemken 3470604
Крыло левое РЗЗ.09.01.400-01
Крыло левое РЗЗ.09.01.400-01
Самоходный опрыскиватель Амазон
Самоходный опрыскиватель Амазон
0

Похожие фотографии

Комментарии (0)

Кликните на изображение чтобы обновить код, если он неразборчив