Особая разновидность колесного движителя для передвижения по снегу

0
Гусеничный вездеход из мотоцикла Урал
Гусеничный вездеход из мотоцикла Урал
Велосипед снегоход
Велосипед снегоход
Снегомобиль Snow Crawler
Снегомобиль Snow Crawler
Гусеничный вездеход вихор-rx2
Гусеничный вездеход вихор-rx2
Мотоснегокат Сноухантер
Мотоснегокат Сноухантер
Мотосноуборд sibmaster 13 л.с.
Мотосноуборд sibmaster 13 л.с.
Снегоходы самоделки
Снегоходы самоделки
Мотосноуборд Powerboard 200bd
Мотосноуборд Powerboard 200bd
Мотоснегокат Васюган

Фотография Мотоснегокат Васюган

ЗИЛ 132с с пневмокатками
ЗИЛ 132с с пневмокатками
Электро сноубайк
Электро сноубайк
Шнекоход ЗИЛ 4904
Шнекоход ЗИЛ 4904
Мини снегоход Сноу 2
Мини снегоход Сноу 2
Мотоблок Нева каракат
Мотоблок Нева каракат
Гусеничные движители Trackngo
Гусеничные движители Trackngo
Электросани bobsla
Электросани bobsla
ВАЗ 2107 снегоход
ВАЗ 2107 снегоход
Мотосноуборд Powerboard
Мотосноуборд Powerboard
Вездеход der Ziesel
Вездеход der Ziesel
Аэросани туполева а3

Фотография Аэросани туполева а3

Ktrak зимний велосипед
Ktrak зимний велосипед
Снегомобиль Snow Crawler
Снегомобиль Snow Crawler
Электро сноубайк
Электро сноубайк
Электроcноубайк "MONOTRACK Pro-1"
Электроcноубайк "MONOTRACK Pro-1"
Гусеничные лыжи
Гусеничные лыжи
Электроснегокат snowscooter 1000w
Электроснегокат snowscooter 1000w
Снегоход детский
Снегоход детский
Электроснегокат snowscooter 1000w
Электроснегокат snowscooter 1000w
Гусеничный самокат" DTV-Shredder
Гусеничный самокат" DTV-Shredder
Мотосноуборд Snake
Мотосноуборд Snake
Электровездеход гусеничный
Электровездеход гусеничный
Segway x2
Segway x2
Мотофинки для зимней рыбалки
Мотофинки для зимней рыбалки
Снегомобиль Snow Crawler
Снегомобиль Snow Crawler
Электроснегокат SNOWSCOOTER 1000w
Электроснегокат SNOWSCOOTER 1000w
Гусеницы Trackngo
Гусеницы Trackngo
Вездеход для снега
Вездеход для снега
MC 500 платформа гусеничная
MC 500 платформа гусеничная
Мотосноуборд Black Diamond 200
Мотосноуборд Black Diamond 200
Ripsaw ev3
Ripsaw ev3
Миниснегоход Snow Fly
Миниснегоход Snow Fly
Военные багги Чаборз
Военные багги Чаборз
Бурлак 6.5 мотособака
Бурлак 6.5 мотособака
Снегоходная приставка к мотоблоку Нева
Снегоходная приставка к мотоблоку Нева
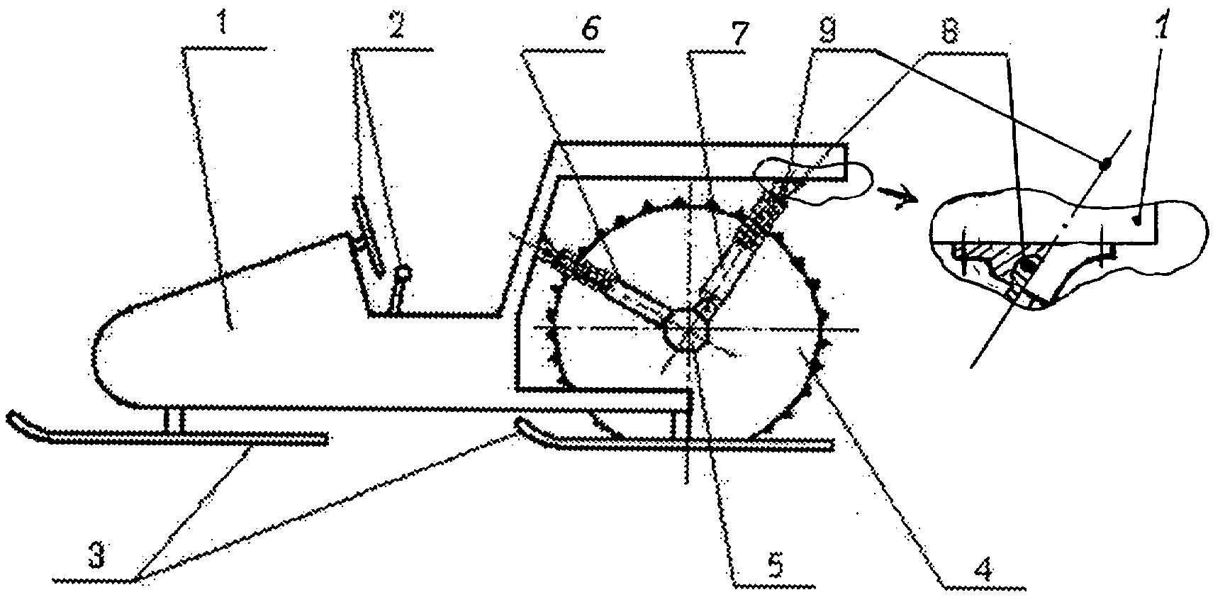
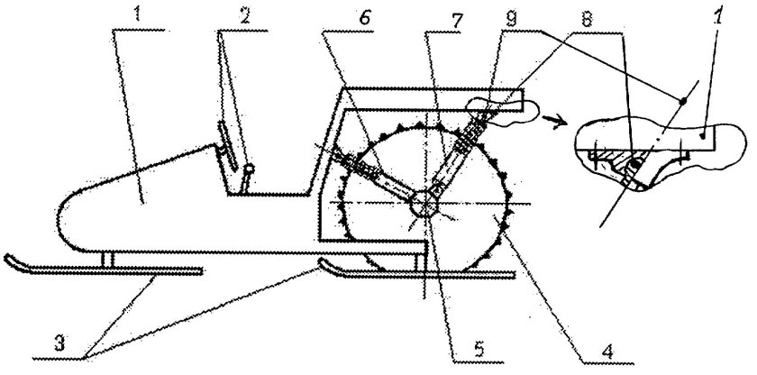
Колесный движитель
Колесный движитель
Снегоход Alpina Sherpa
Снегоход Alpina Sherpa
G Force 1 снегоход
G Force 1 снегоход
Горнолыжник Телемарк
Горнолыжник Телемарк
Гусеничные движители Trackngo
Гусеничные движители Trackngo
СВП Жук -4
СВП Жук -4
Электрическая мотособака mtt136

Фотография Электрическая мотособака mtt136

Комплект гусеничных модулей Trackngo TNG-01
Комплект гусеничных модулей Trackngo TNG-01
Гусеничный самокат зимний
Гусеничный самокат зимний
Вездеход болотоход Арктика
Вездеход болотоход Арктика
Шнекороторный вездеход ЗИЛ-4904
Шнекороторный вездеход ЗИЛ-4904
Комплект гусеничных модулей Trackngo TNG-01
Комплект гусеничных модулей Trackngo TNG-01
0

Похожие фотографии

Комментарии (0)

Кликните на изображение чтобы обновить код, если он неразборчив