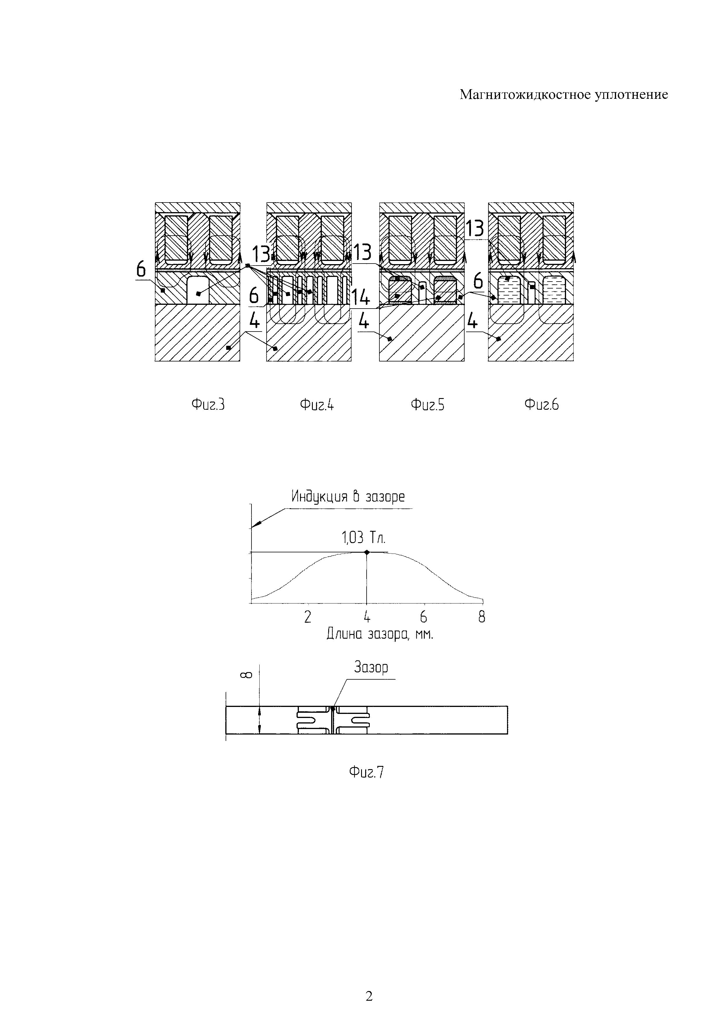
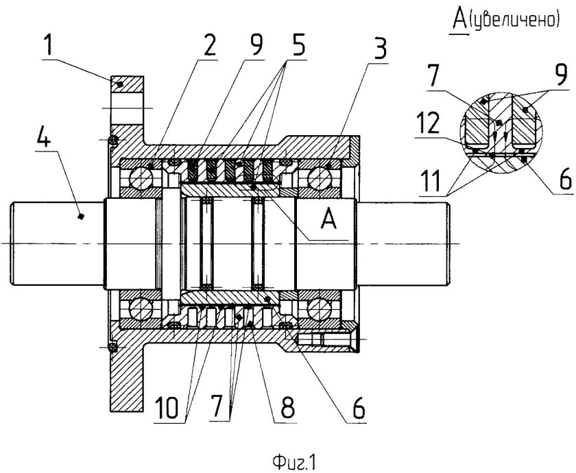
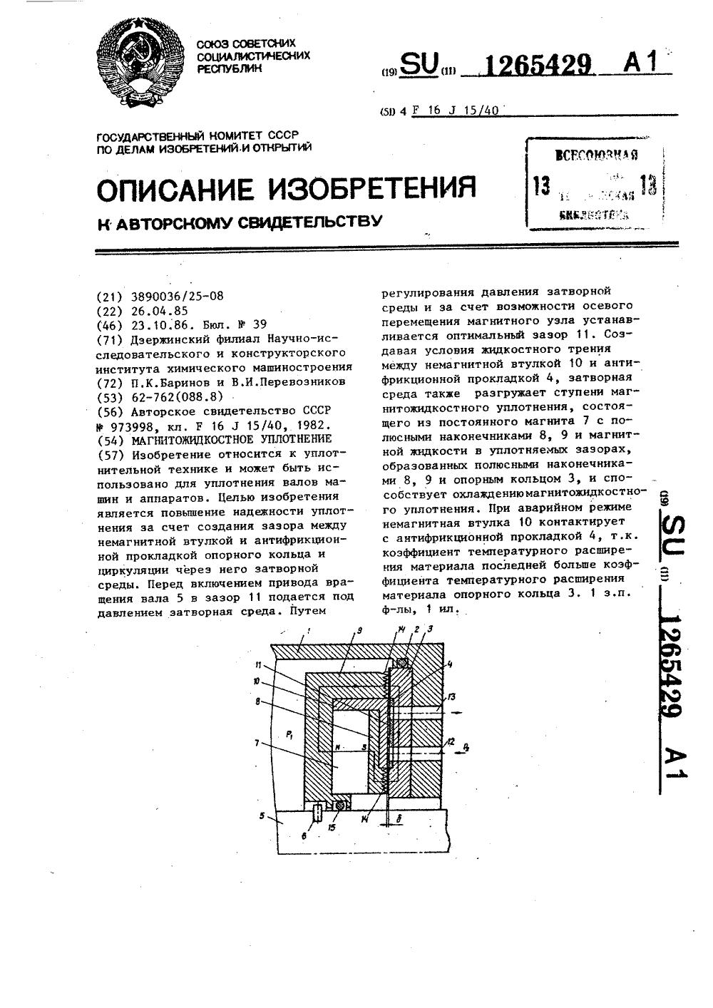
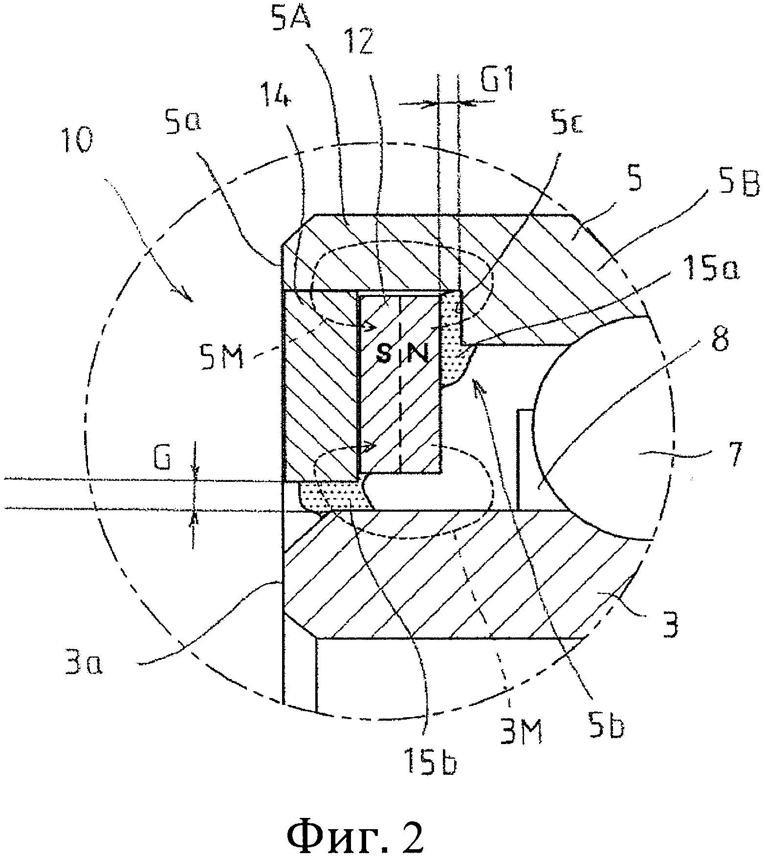
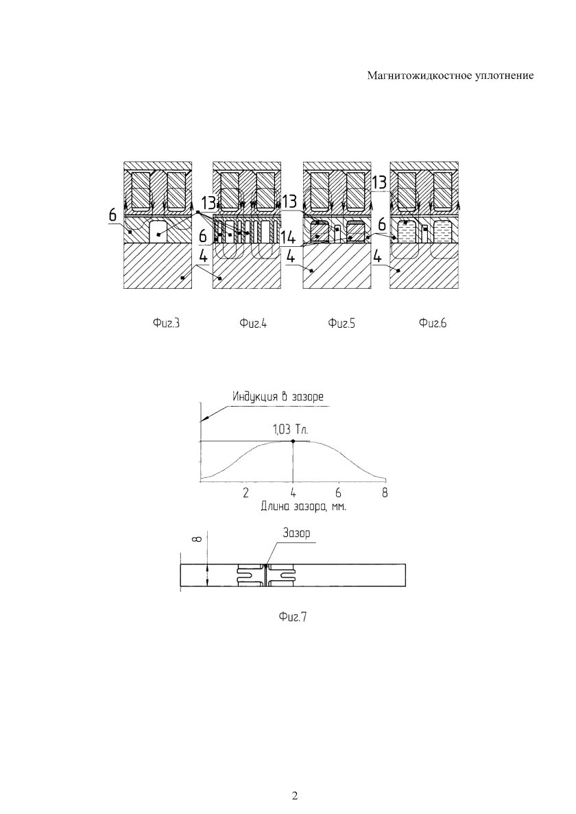
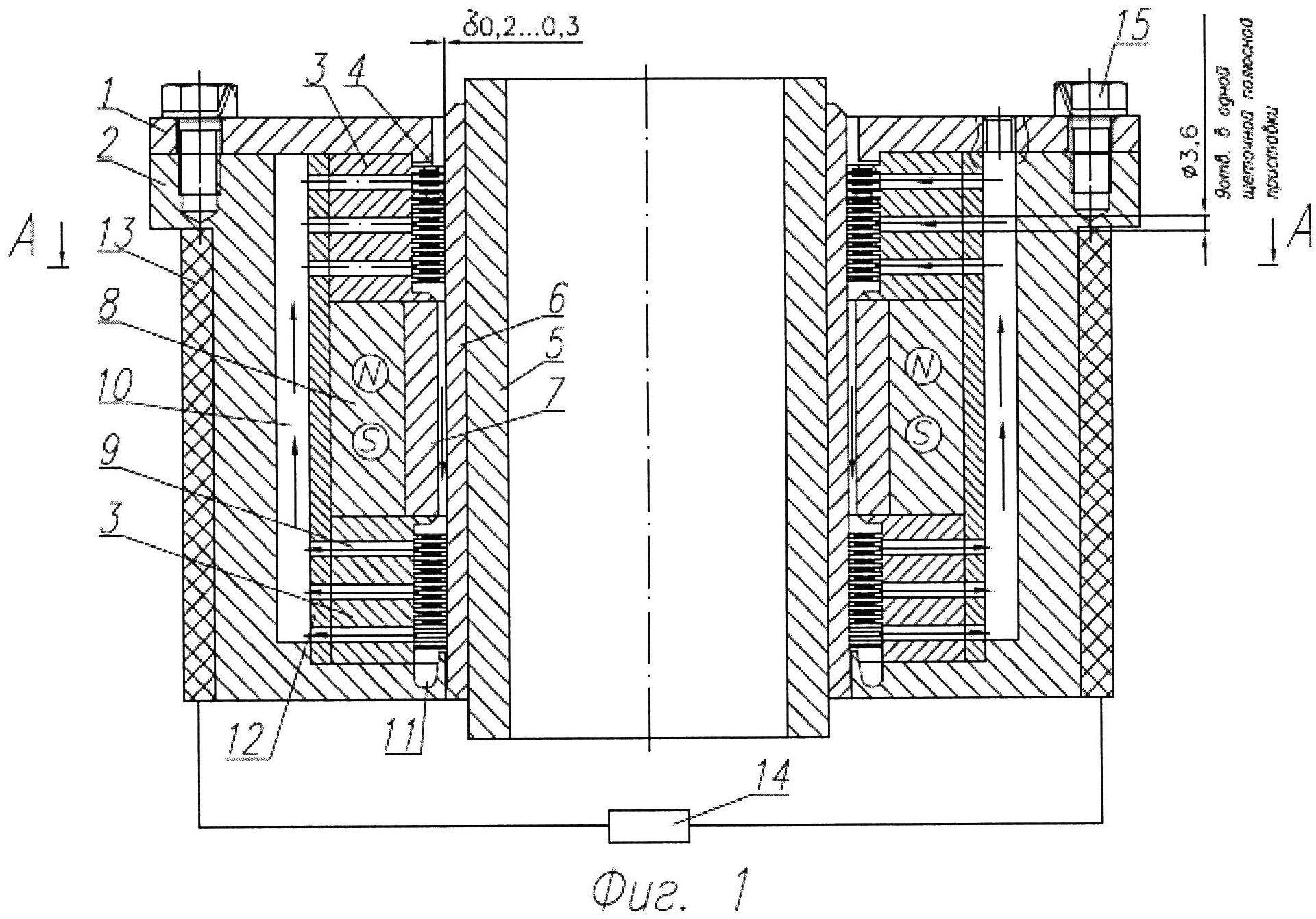
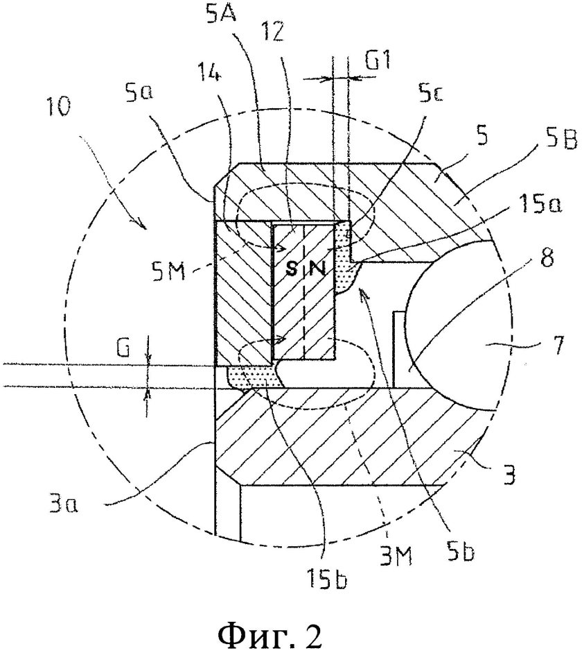
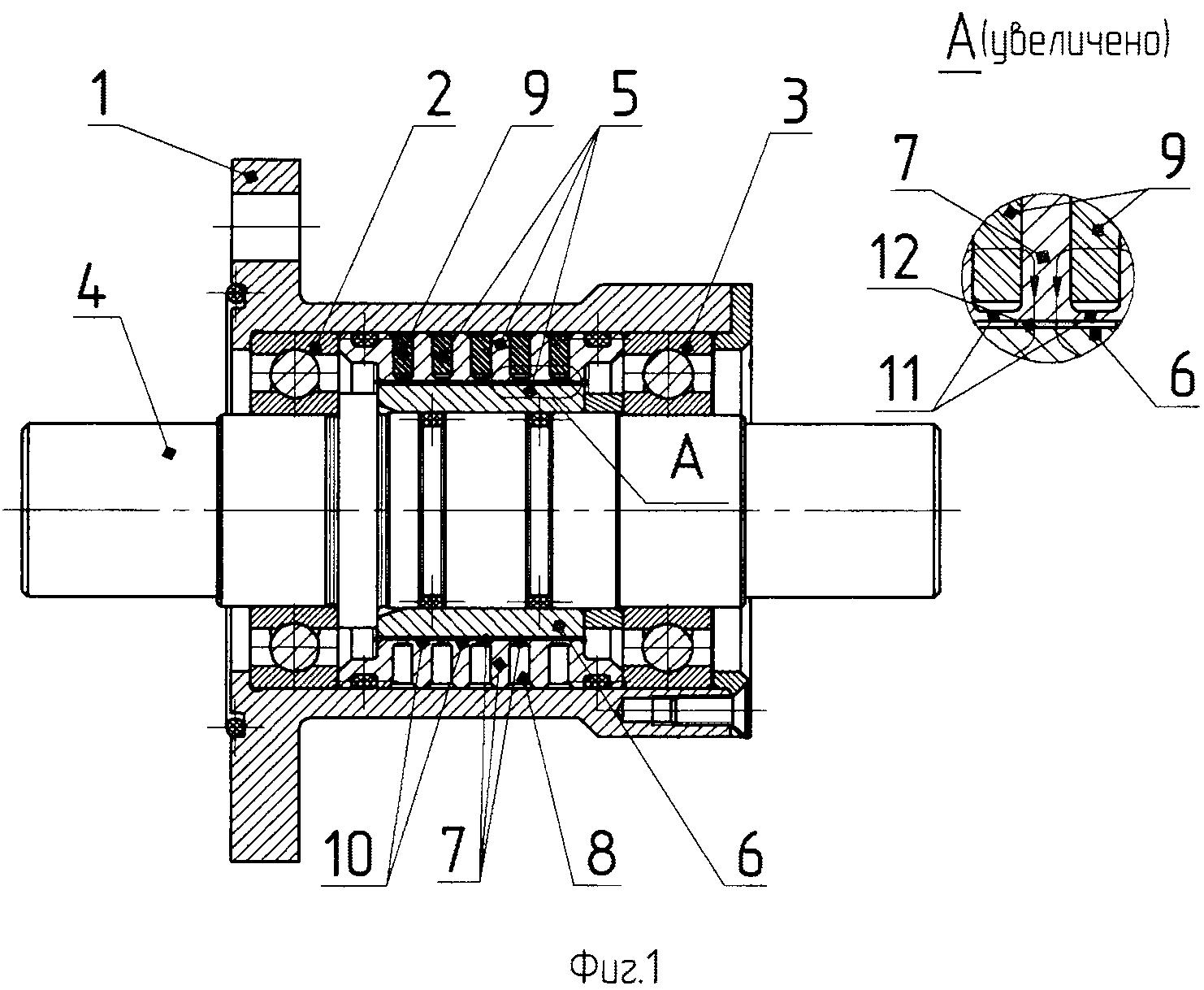
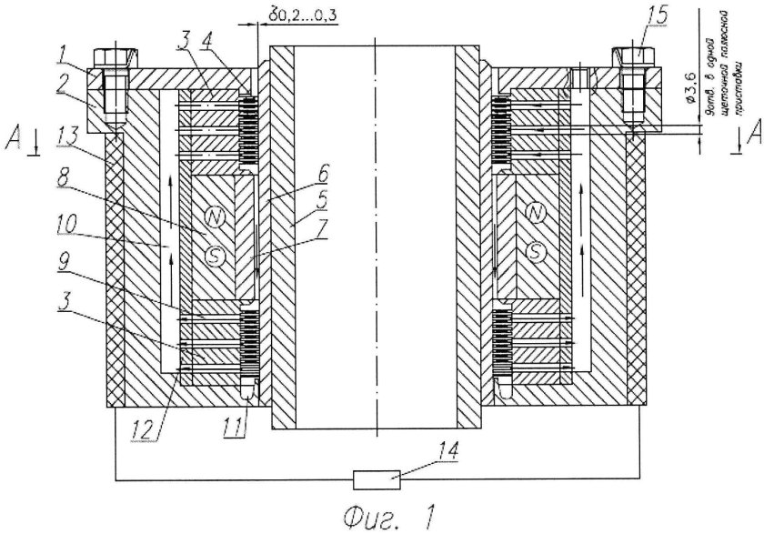
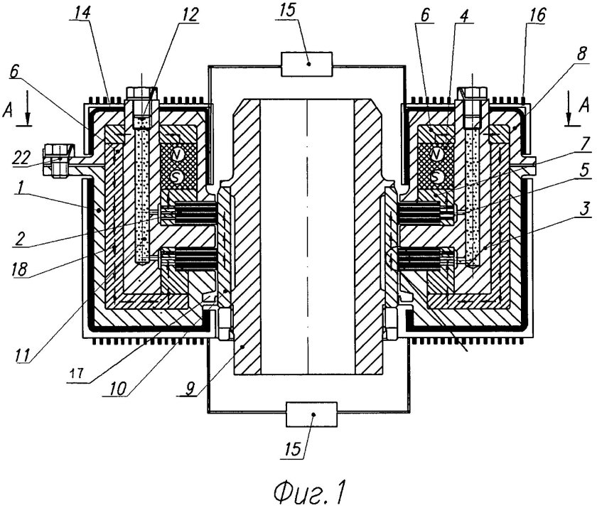
Магнитожидкостное уплотнение

0
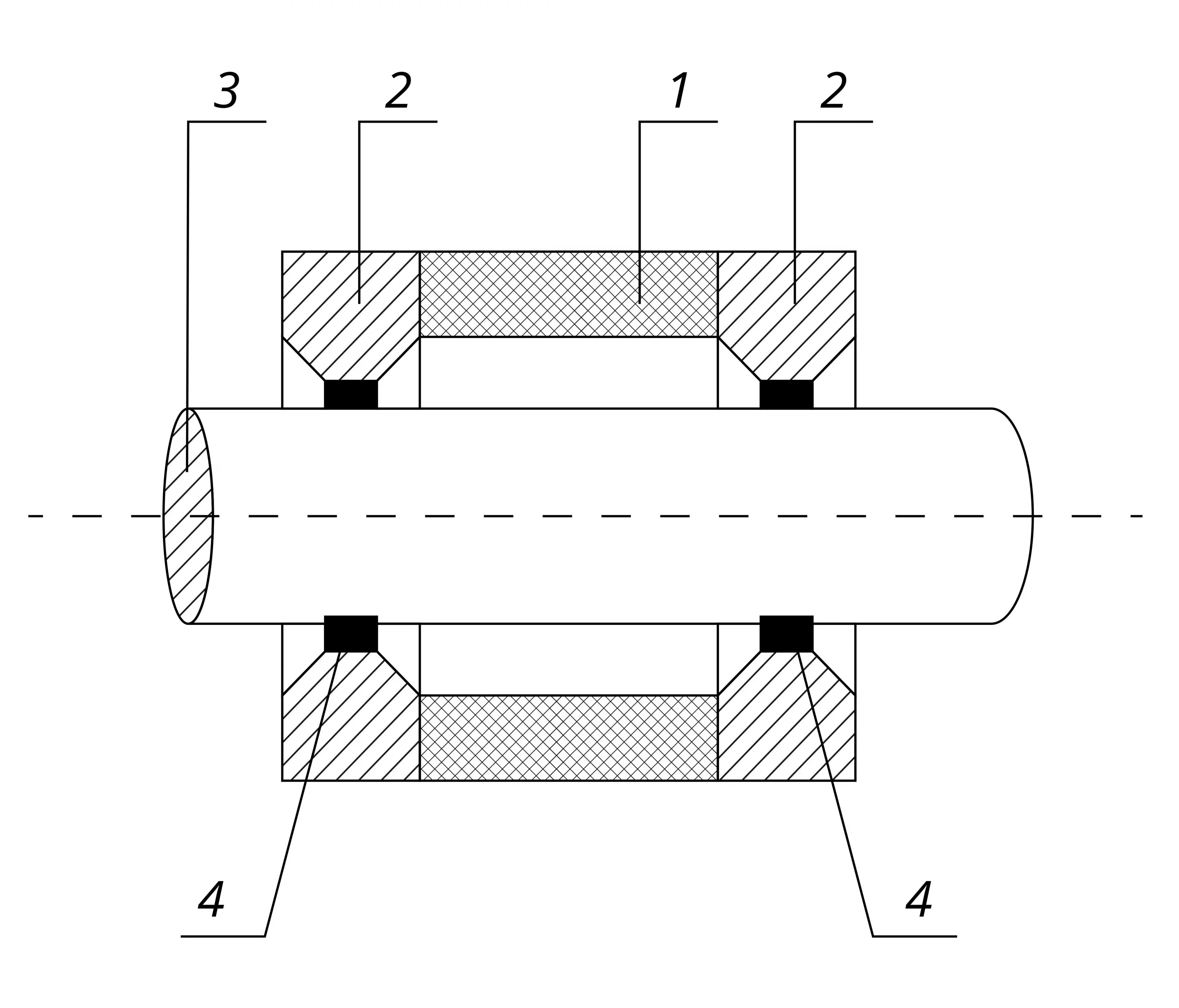
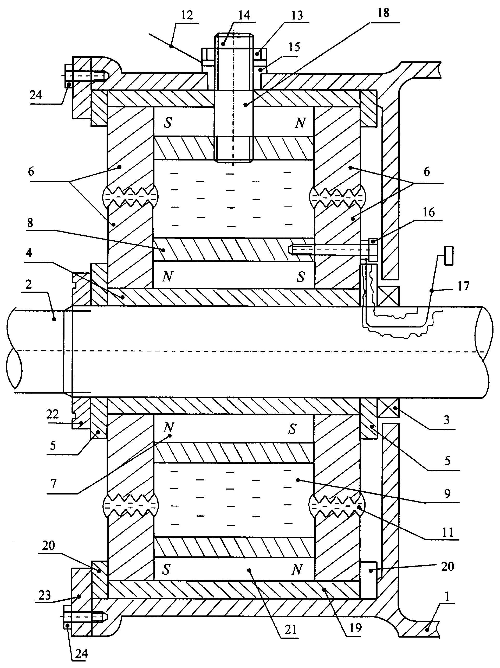
Магнитожидкостное уплотнение вала
Магнитожидкостное уплотнение вала
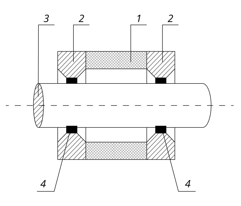
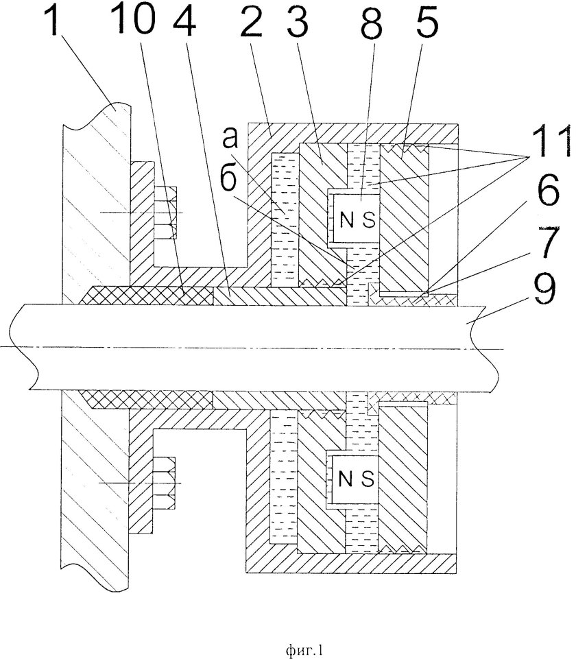
Уплотнение вала
Уплотнение вала
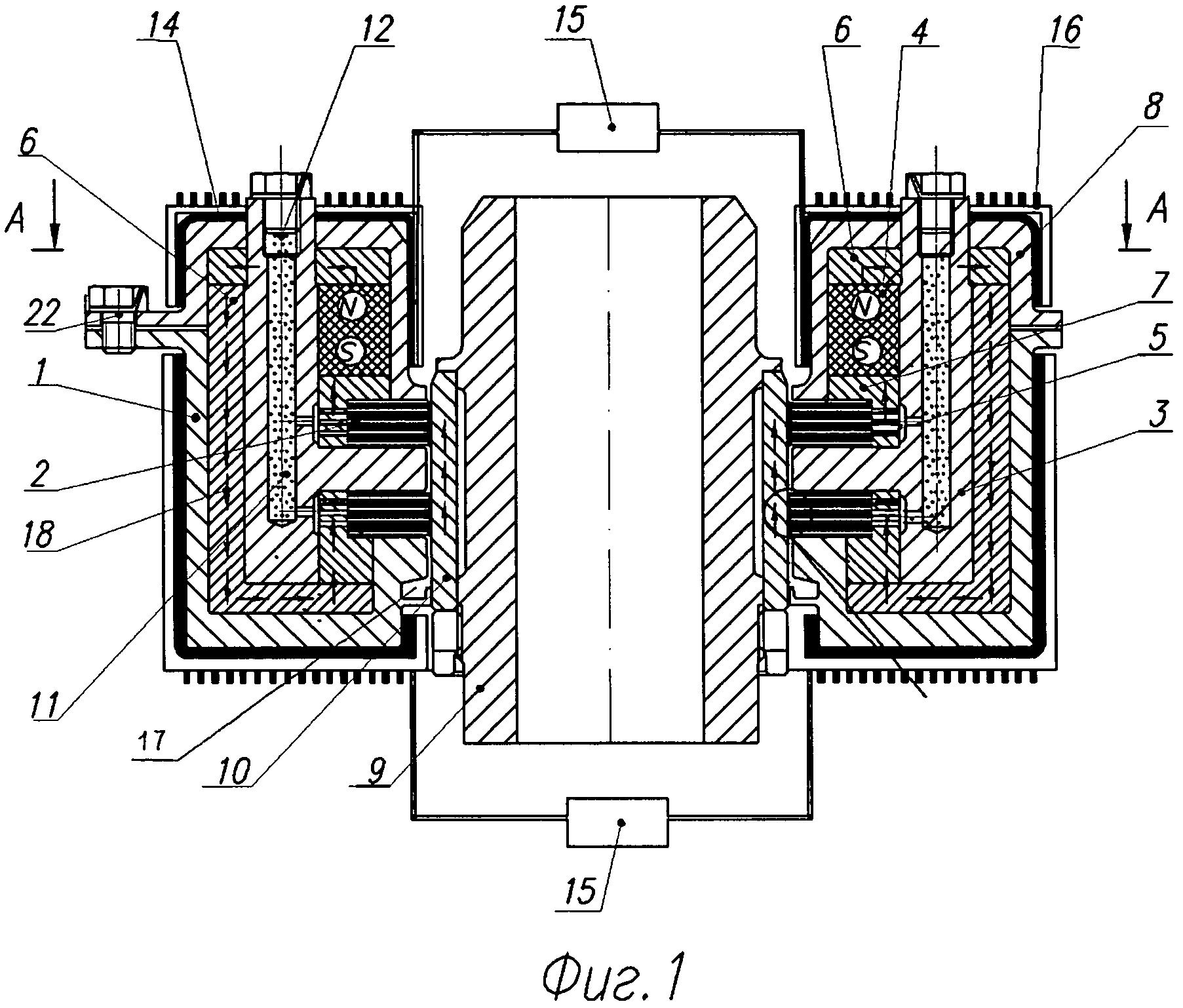
Магнитожидкостное уплотнение немагнитных валов
Магнитожидкостное уплотнение немагнитных валов
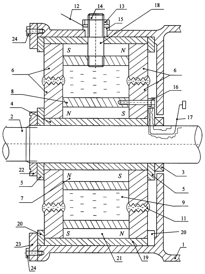
Подвижное соединение
Подвижное соединение
Вакуумный ввод вращения с эластомерным уплотнением
Вакуумный ввод вращения с эластомерным уплотнением
Роторное торцевое уплотнение
Роторное торцевое уплотнение
Вакуумный ввод вращения с эластомерным уплотнением
Вакуумный ввод вращения с эластомерным уплотнением
Уплотнение вала
Уплотнение вала
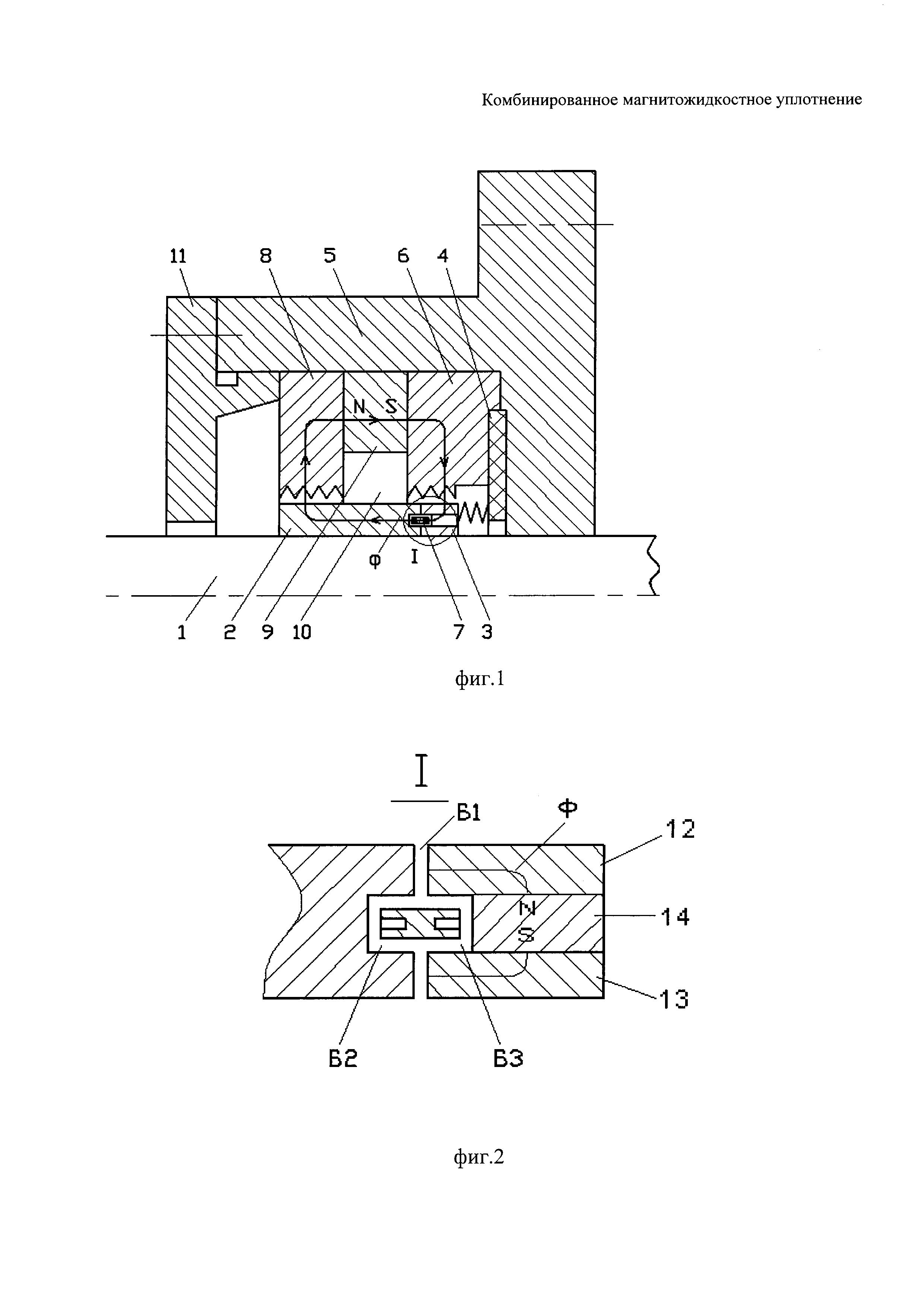
Комбинированный уплотнение

Фотография Комбинированный уплотнение

Уплотнения в черным стержнем распространяется при помощи воды
Уплотнения в черным стержнем распространяется при помощи воды
Диафрагменное уплотнение паровой турбины
Диафрагменное уплотнение паровой турбины
Уплотнение подвижных соединений
Уплотнение подвижных соединений
Вращающееся контактное устройство
Вращающееся контактное устройство
Магнитно-жидкостное уплотнение
Магнитно-жидкостное уплотнение
Магнитожидкостные уплотнения
Магнитожидкостные уплотнения
Магнитно-жидкостное уплотнение
Магнитно-жидкостное уплотнение
Жидкость для магнитожидкостных уплотнений
Жидкость для магнитожидкостных уплотнений
Магнитожидкостное уплотнение подшипники
Магнитожидкостное уплотнение подшипники
Уплотнение времени
Уплотнение времени
Совмещённый пьезопреобразователь

Фотография Совмещённый пьезопреобразователь

Уплотнение вала
Уплотнение вала
Уплотнение вала
Уплотнение вала
Магнитожидкостные уплотнения
Магнитожидкостные уплотнения
Устройство пьезоакселерометра
Устройство пьезоакселерометра
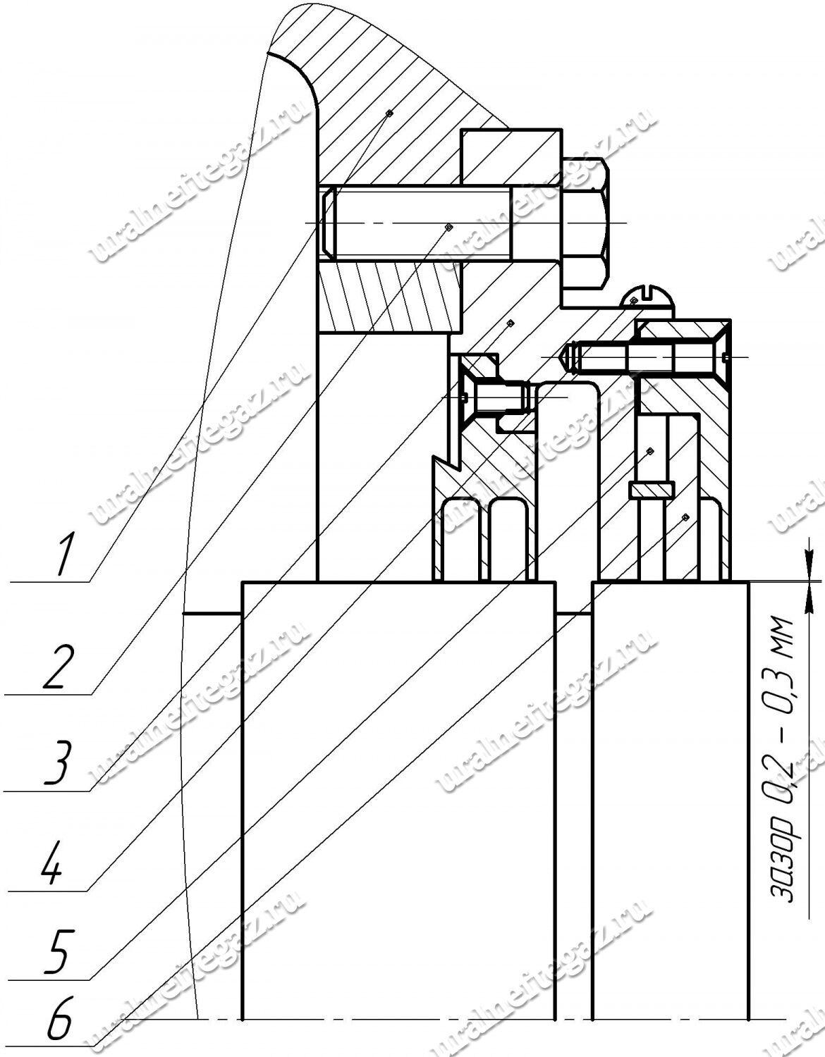
Сальниковое уплотнение вала мешалки чертеж
Сальниковое уплотнение вала мешалки чертеж
Получение магнитных жидкостей
Получение магнитных жидкостей
Уплотнение вращающейся печи
Уплотнение вращающейся печи
Деформационные швы гидротехнических сооружений
Деформационные швы гидротехнических сооружений
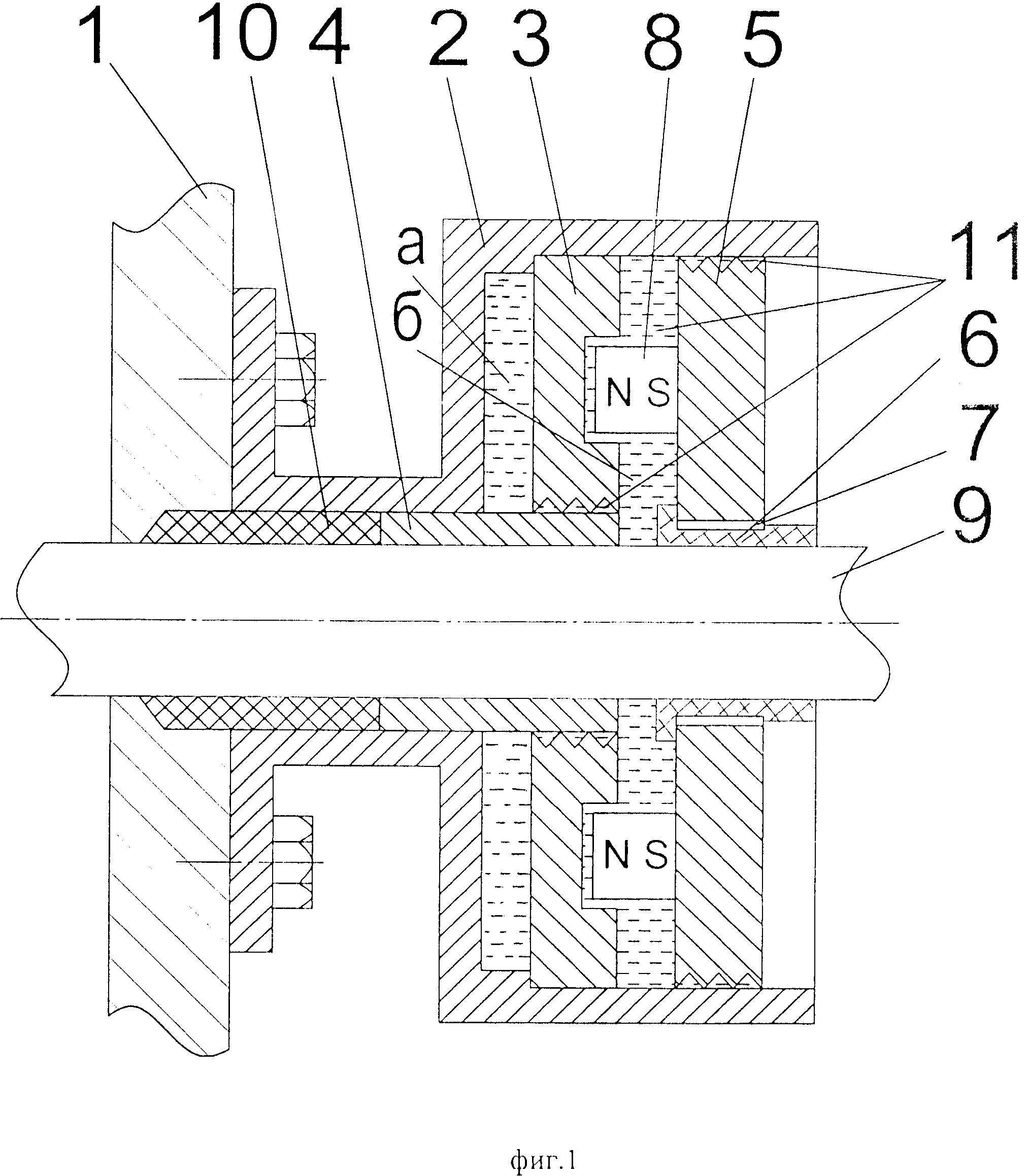
Уплотнения вращающихся валов
Уплотнения вращающихся валов
Арматурные стержни периодического профиля
Арматурные стержни периодического профиля
Магнитопровод двигателя
Магнитопровод двигателя
Магнитожидкостный герметизатор
Магнитожидкостный герметизатор
Устройство для введения пилюлей и магнитной обоймы
Устройство для введения пилюлей и магнитной обоймы
Магнитожидкостное уплотнение подшипники
Магнитожидкостное уплотнение подшипники
Лабиринтные уплотнения SKF

Фотография Лабиринтные уплотнения SKF

Уплотняемая среда
Уплотняемая среда
Сульфат восстанавливающие бактерии
Сульфат восстанавливающие бактерии
Магнитно-жидкостное уплотнение
Магнитно-жидкостное уплотнение
Трапецеидального кольца
Трапецеидального кольца
Торцевые уплотнения гребного вала
Торцевые уплотнения гребного вала
Уплотнение магнитных полей
Уплотнение магнитных полей
Магнитожидкостные герметизаторы
Магнитожидкостные герметизаторы
0

Похожие фотографии

Комментарии (0)

Кликните на изображение чтобы обновить код, если он неразборчив