Короткий взлет

0
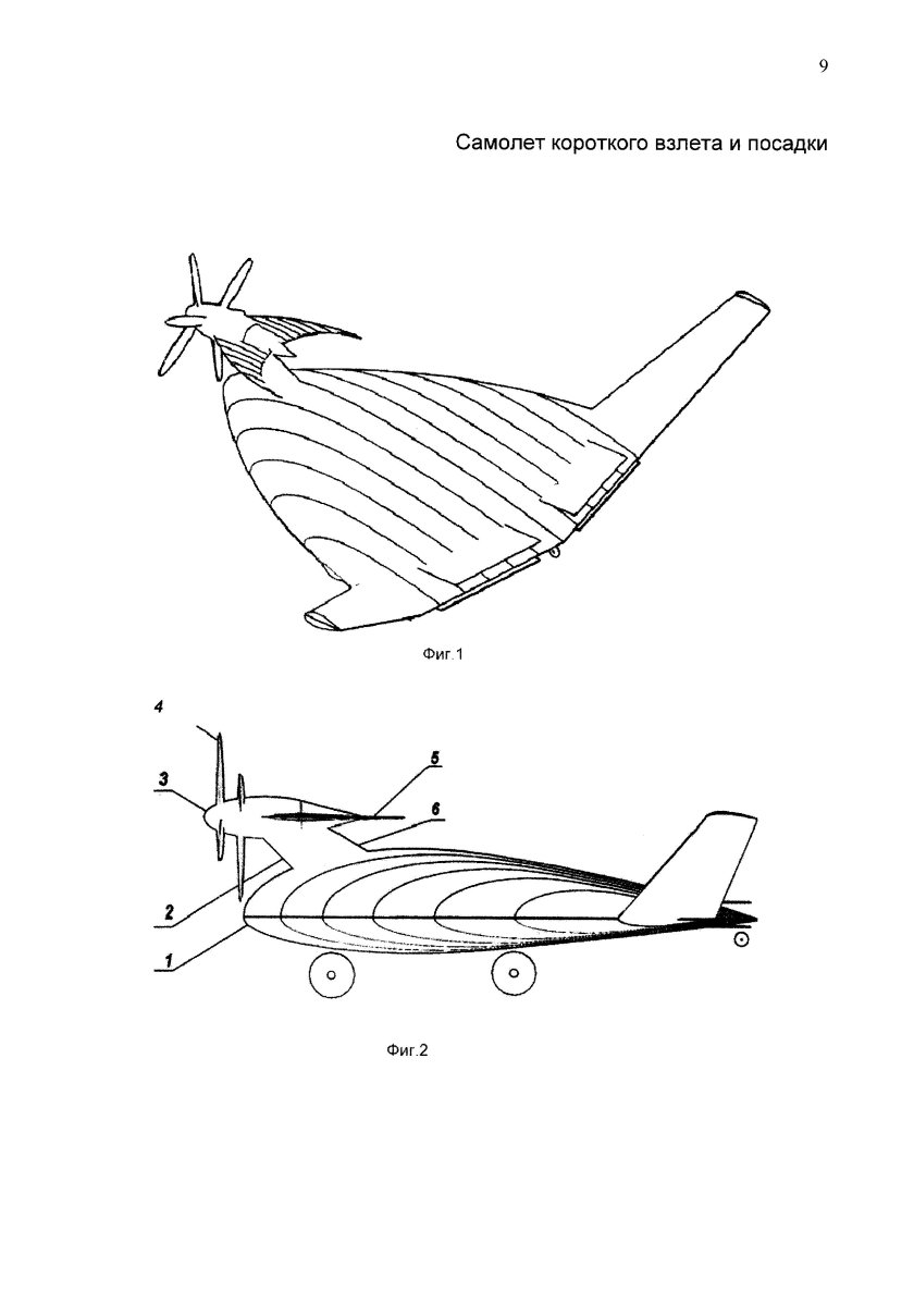
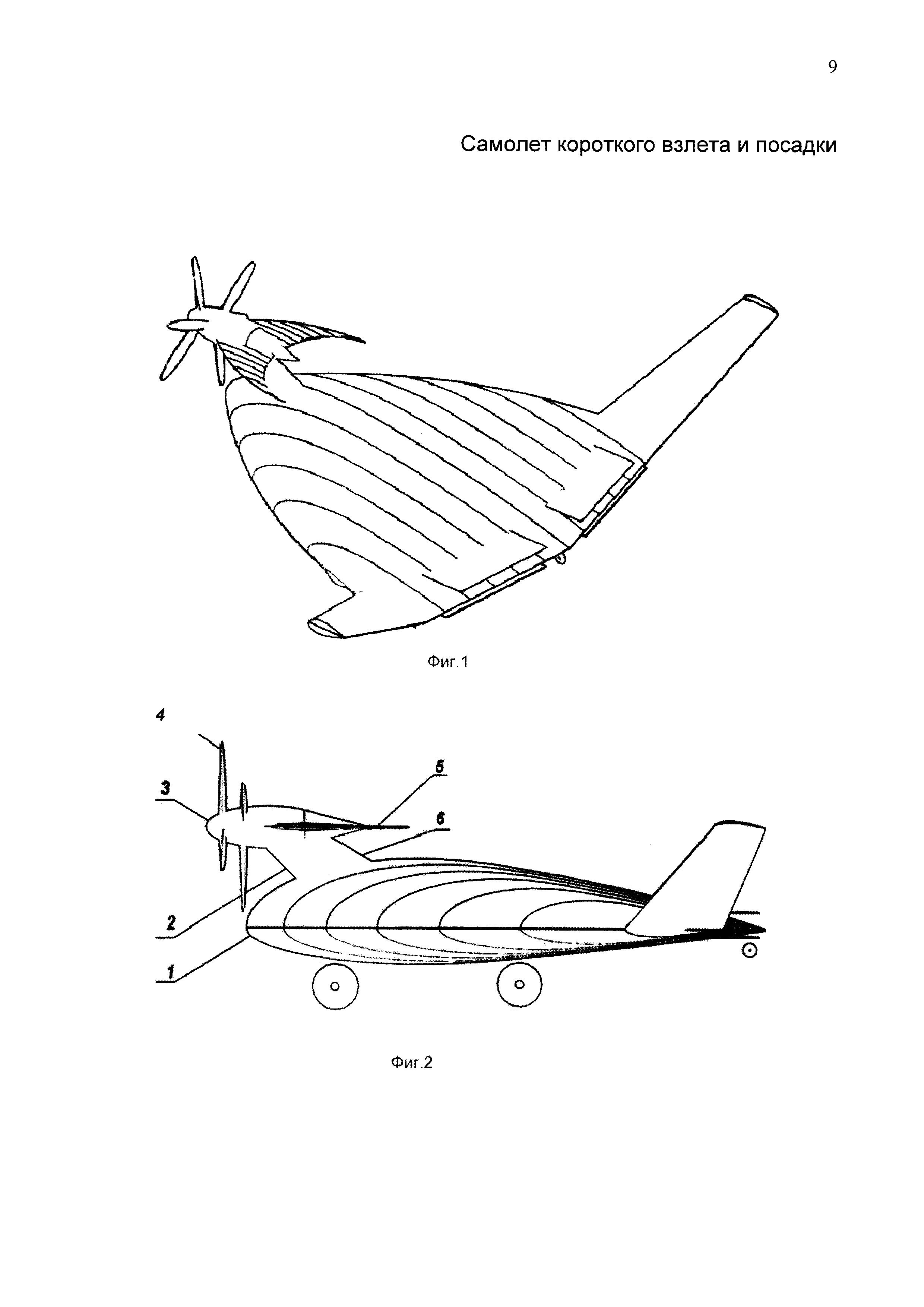
Самолёт короткого взлёта и посадки
Самолёт короткого взлёта и посадки
Посадка самолета
Посадка самолета
Пайпер stol
Пайпер stol
Гидросамолет Noorduyn Norseman
Гидросамолет Noorduyn Norseman
Хуанчо ираускин аэропорт
Хуанчо ираускин аэропорт
Электросамолет пассажирский
Электросамолет пассажирский
Аэропракт а-22 \ летучая лисица\
Аэропракт а-22 \ летучая лисица\
Hybrid electric aircraft
Hybrid electric aircraft
Самолет короткого взлета

Фотография Самолет короткого взлета

Самолет Партизан короткого взлета и посадки
Самолет Партизан короткого взлета и посадки
Самолет короткого взлета
Самолет короткого взлета
БПЛА Партизан
БПЛА Партизан
Самолет боинг 747 400
Самолет боинг 747 400
АН-70 военно-транспортный самолёт
АН-70 военно-транспортный самолёт
Взлёт самолёта из салона
Взлёт самолёта из салона
Самолёт короткого взлёта и посадки
Самолёт короткого взлёта и посадки
YMC-130h
YMC-130h
Цессна 675
Цессна 675
Аэропорт Лукла Непал
Аэропорт Лукла Непал
Аэродинамические схемы летательных аппаратов

Фотография Аэродинамические схемы летательных аппаратов

MC-145b Wily Coyote
MC-145b Wily Coyote
Пайпер самолет
Пайпер самолет
Истребитель пятого поколения су 57
Истребитель пятого поколения су 57
АН-2 ТВС-2мс
АН-2 ТВС-2мс
380 airbus
380 airbus
Твс 2 мс самолет
Твс 2 мс самолет
Берген аэропорт Флесленд
Берген аэропорт Флесленд
АН-2 биплан
АН-2 биплан
Взлет самолета из шереметьево
Взлет самолета из шереметьево
Взлет самолета
Взлет самолета
Airbus a380 взлет
Airbus a380 взлет
Легкомоторный высокоплан
Легкомоторный высокоплан
Тресвятский летчик испытатель
Тресвятский летчик испытатель
ТВС-2мс Партизан

Фотография ТВС-2мс Партизан

Самолет Dornier do-29
Самолет Dornier do-29
Самолёт Боинг 747
Самолёт Боинг 747
Электрический самолёт
Электрический самолёт
Конвертоплан CV-22b Osprey
Конвертоплан CV-22b Osprey
Противообледенительная машина
Противообледенительная машина
Короткий взлет и посадка
Короткий взлет и посадка
Stol самолет
Stol самолет
Ил-62 ночной взлёт
Ил-62 ночной взлёт
Экраноплан Волга 2 чертежи
Экраноплан Волга 2 чертежи
Взлет с авианосца

Фотография Взлет с авианосца

Ф-14 Томкэт
Ф-14 Томкэт
F35 самолет вертикальный взлет
F35 самолет вертикальный взлет
Маленькие пассажирские самолеты
Маленькие пассажирские самолеты
Самолёт Байкал ТВС-2дтс
Самолёт Байкал ТВС-2дтс
Самолет с коротким взлетом и посадкой СИБНИА
Самолет с коротким взлетом и посадкой СИБНИА
0

Похожие фотографии

Комментарии (0)

Кликните на изображение чтобы обновить код, если он неразборчив