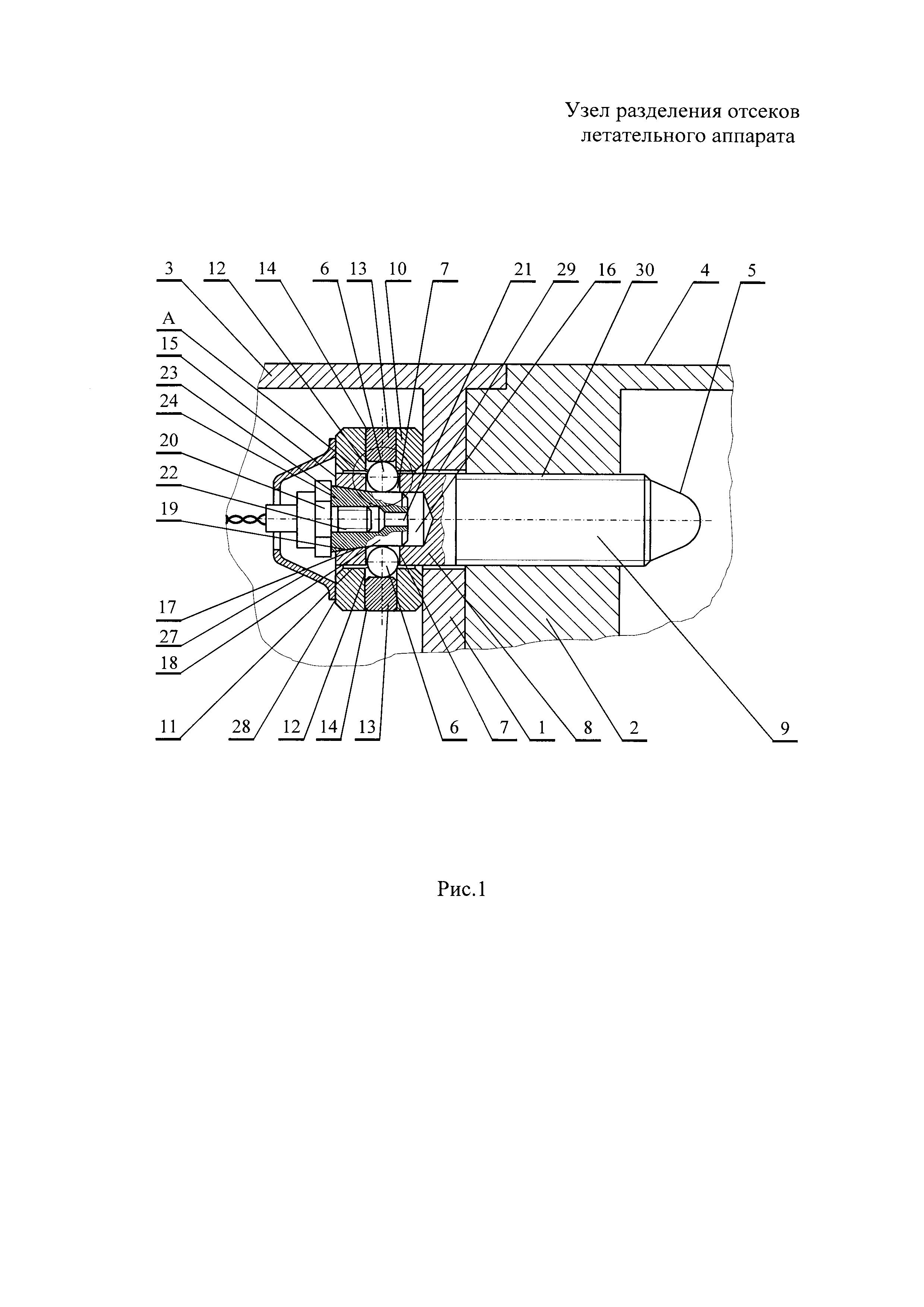
Корпус летательного аппарата

0
Экспериментальный аппарат Northrop m2-f2 (m2-f3) (США)
Экспериментальный аппарат Northrop m2-f2 (m2-f3) (США)
Надувные летательные аппараты
Надувные летательные аппараты
Northrop hl-10
Northrop hl-10
Беспилотные летательные аппараты бпла
Беспилотные летательные аппараты бпла
Летатлин Татлина
Летатлин Татлина
XCOR Lynx
XCOR Lynx
Экип Щукина летающая тарелка
Экип Щукина летающая тарелка
Монокок фюзеляж
Монокок фюзеляж
Летатлин татлина

Фотография Летатлин татлина

Дом из фюзеляжа самолета
Дом из фюзеляжа самолета
Боинг x 48
Боинг x 48
Обшивка самолета
Обшивка самолета
Летательный аппарат кормовая часть
Летательный аппарат кормовая часть
«Чирок»: летательный аппарат
«Чирок»: летательный аппарат
Плоскоовальные трубы типоразмеры
Плоскоовальные трубы типоразмеры
Схемы фюзеляжа БПЛА
Схемы фюзеляжа БПЛА
Экспериментальные летательные аппараты
Экспериментальные летательные аппараты
Проект Аврора самолет
Проект Аврора самолет
Летательный аппарат с пропеллером
Летательный аппарат с пропеллером
Классификация аэростатических летательных аппаратов

Фотография Классификация аэростатических летательных аппаратов

Узлы и агрегаты летательных аппаратов
Узлы и агрегаты летательных аппаратов
Чертежи беспилотника
Чертежи беспилотника
Узлы летательных аппаратов
Узлы летательных аппаратов
Факультет летательных аппаратов НГТУ
Факультет летательных аппаратов НГТУ
Мини дрон квадрокоптер
Мини дрон квадрокоптер
Конический адаптер космического аппарата патент
Конический адаптер космического аппарата патент
Треугольные летательные аппараты
Треугольные летательные аппараты
Летательные аппараты
Летательные аппараты
Летательные аппараты
Летательные аппараты
Турбореактивные двигатели
Турбореактивные двигатели
Катапульта для БПЛА чертежи
Катапульта для БПЛА чертежи
Мерлин ВР БПЛА
Мерлин ВР БПЛА
Компоновка гиперзвукового летающего аппарата
Компоновка гиперзвукового летающего аппарата
Экспериментальные летательные аппараты
Экспериментальные летательные аппараты
Martin Marietta x-24
Martin Marietta x-24
2. Московский авиационный институт (МАИ)
2. Московский авиационный институт (МАИ)
Самолет из композитных материалов
Самолет из композитных материалов
Атлас 180 БПЛА
Атлас 180 БПЛА
Композитное крыло для МС-21

Фотография Композитное крыло для МС-21

Аэростатический принцип полета
Аэростатический принцип полета
Ракета-носитель «Союз-5» («Иртыш», «Сункар»)
Ракета-носитель «Союз-5» («Иртыш», «Сункар»)
PD 1/2 БПЛА
PD 1/2 БПЛА
Традиционная схема летательного аппарата
Традиционная схема летательного аппарата
Экип Саратовский авиационный завод
Экип Саратовский авиационный завод
Двигатель Pratt & Whitney j58-p4
Двигатель Pratt & Whitney j58-p4
Завод Эйрбас в Тулузе
Завод Эйрбас в Тулузе
Геоскан 201 геодезия
Геоскан 201 геодезия
0

Похожие фотографии

Комментарии (0)

Кликните на изображение чтобы обновить код, если он неразборчив