Конструктивный элемент колеса

0
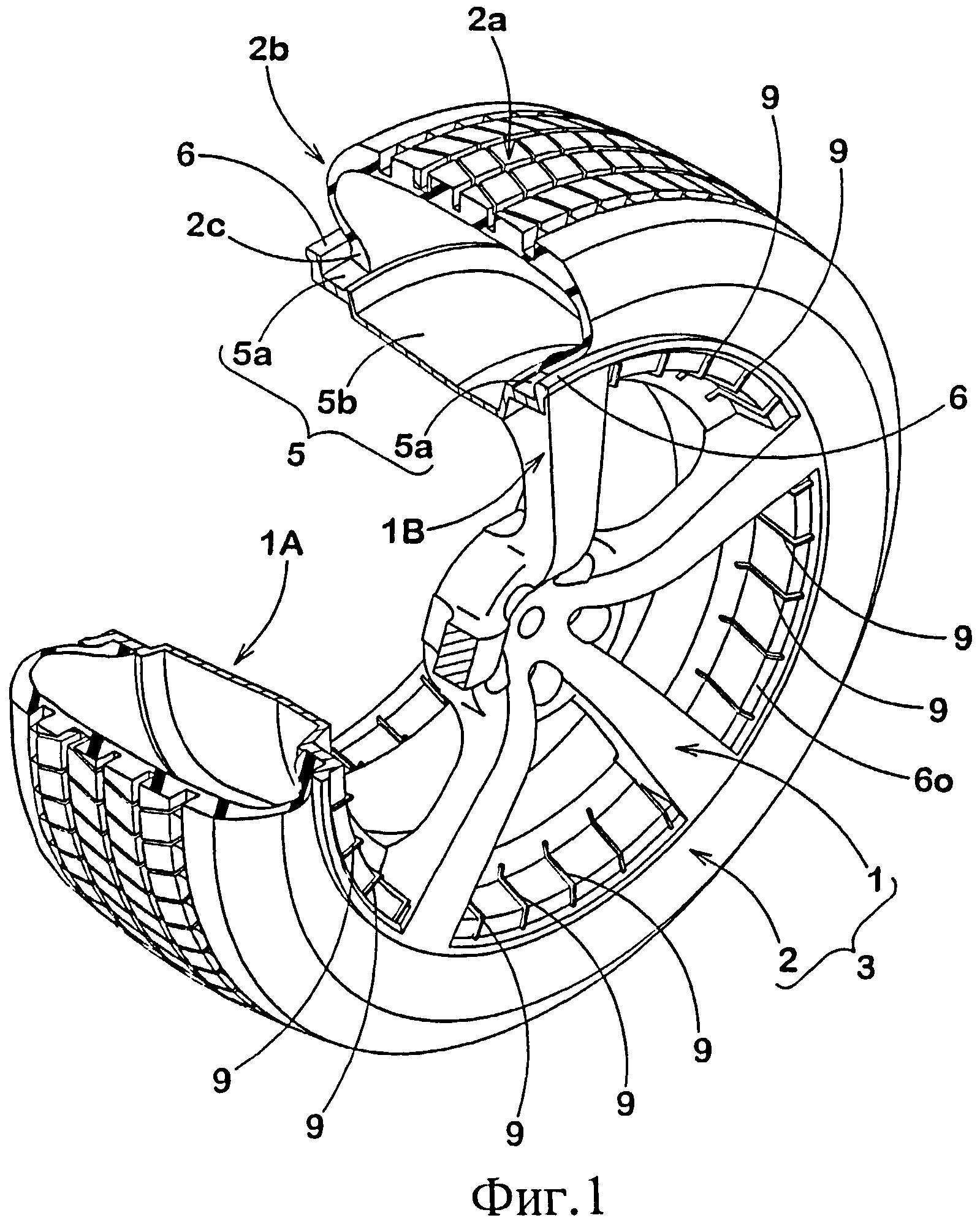
Составные части шины
Составные части шины
Части колеса автомобиля
Части колеса автомобиля
Конструктивные элементы шин
Конструктивные элементы шин
Толщина шины легкового автомобиля сбоку
Толщина шины легкового автомобиля сбоку
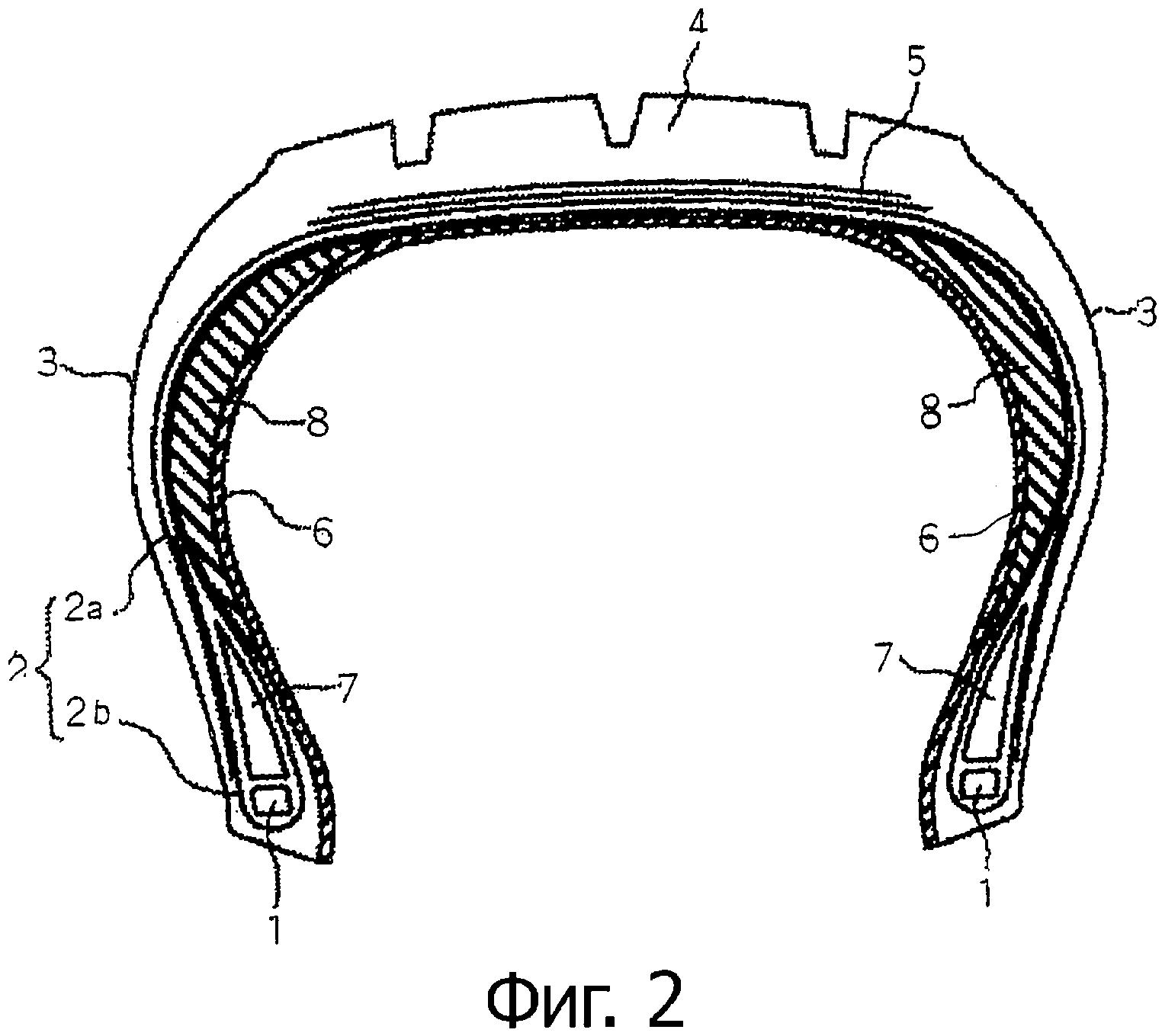
Конструкцию колеса с разъемным и неразъемным ободом
Конструкцию колеса с разъемным и неразъемным ободом
Конструктивные элементы колеса автомобиля криминалистика
Конструктивные элементы колеса автомобиля криминалистика
Схема устройства бескамерной шины
Схема устройства бескамерной шины
Строение автомобильного колеса
Строение автомобильного колеса
Толщина бокового корда покрышки

Фотография Толщина бокового корда покрышки

Бездисковое колесо маз чертеж
Бездисковое колесо маз чертеж
Крепление колеса автомобиля схема
Крепление колеса автомобиля схема
Устройство колеса автомобиля схема
Устройство колеса автомобиля схема
Устройство автомобильного колеса легкового автомобиля схема
Устройство автомобильного колеса легкового автомобиля схема
Диск колеса ЗИЛ 131
Диск колеса ЗИЛ 131
Толщина резины шины автомобиля в разрезе
Толщина резины шины автомобиля в разрезе
Как устроена система автоподкачки колес
Как устроена система автоподкачки колес
Схема колеса автомобиля
Схема колеса автомобиля
Бездисковое колесо МАЗ чертеж
Бездисковое колесо МАЗ чертеж
Колесо тормозное кт192.010
Колесо тормозное кт192.010
Автомобильный диск чертеж

Фотография Автомобильный диск чертеж

Схема устройства автомобильной шины
Схема устройства автомобильной шины
Из чего состоит колесо автомобиля легкового схема
Из чего состоит колесо автомобиля легкового схема
Мотор-колесо от Protean Electric
Мотор-колесо от Protean Electric
Колесная пара грузового вагона схема
Колесная пара грузового вагона схема
Корд шины
Корд шины
Колесная пара тепловоза м62 чертеж
Колесная пара тепловоза м62 чертеж
Диски расшифровка маркировки
Диски расшифровка маркировки
Диаметр центрального отверстия диска Митсубиси Лансер 9
Диаметр центрального отверстия диска Митсубиси Лансер 9
Где находится ступица переднего колеса
Где находится ступица переднего колеса
Колесная пара электровоза вл10
Колесная пара электровоза вл10
Л/C диск BMW С V-образн.спицами диз.328
Л/C диск BMW С V-образн.спицами диз.328
Колесная пара электровоза вл80с
Колесная пара электровоза вл80с
Чертежи профиль шины 175/70r13
Чертежи профиль шины 175/70r13
Схема устройства автомобильной пневматической шины
Схема устройства автомобильной пневматической шины
Схема буксового узла грузового вагона
Схема буксового узла грузового вагона
Диаметр вала балансировочного станка
Диаметр вала балансировочного станка
Строение колеса
Строение колеса
Схема протектора шины криминалистика
Схема протектора шины криминалистика
Колесная пара вл85
Колесная пара вл85
Моторно осевой подшипник 2эс6

Фотография Моторно осевой подшипник 2эс6

Уплотнитель вентильного паза колеса ЗИЛ 131
Уплотнитель вентильного паза колеса ЗИЛ 131
Конструкция автомобильной шины
Конструкция автомобильной шины
Покрышка пневматической шины КАМАЗ схема
Покрышка пневматической шины КАМАЗ схема
Диск колеса газон Некст 19.5
Диск колеса газон Некст 19.5
Крепление колеса автомобиля к ступице
Крепление колеса автомобиля к ступице
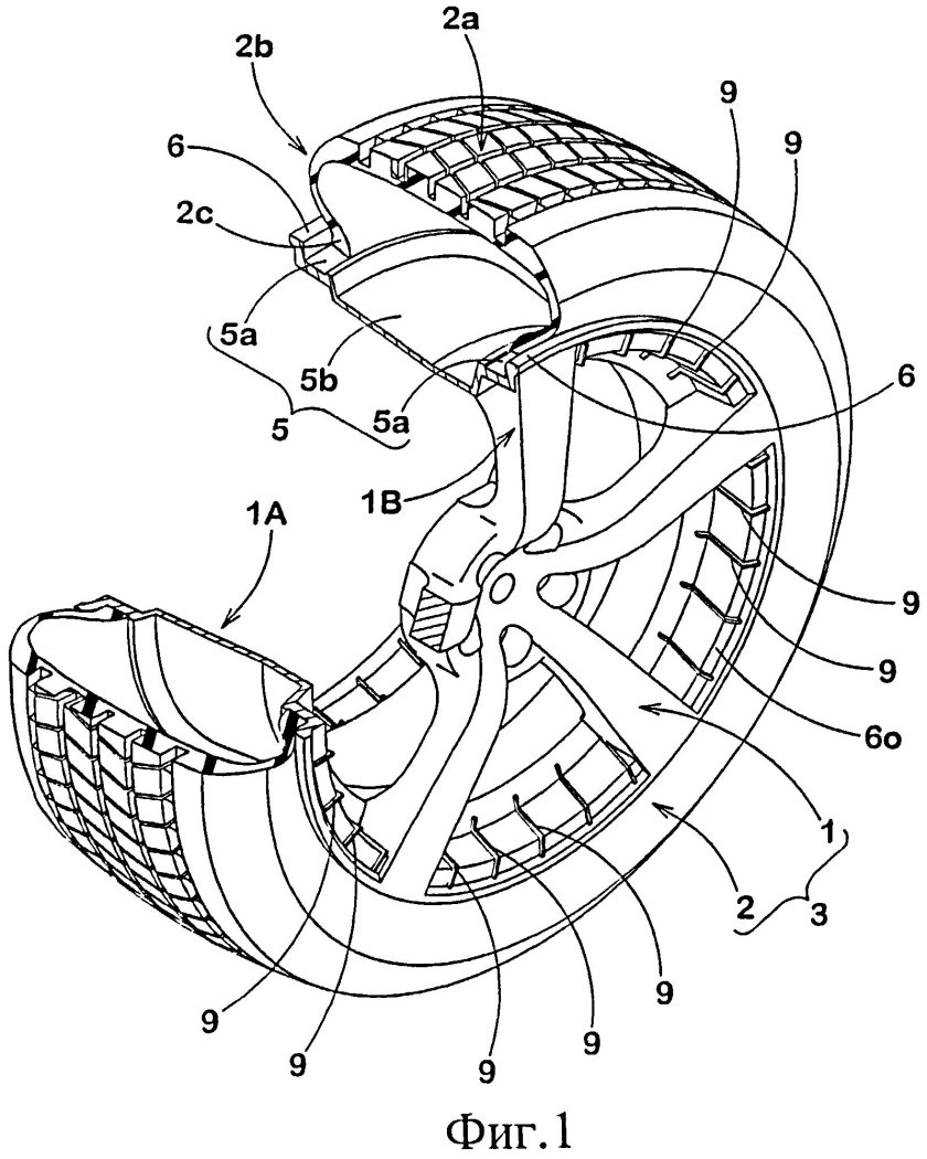
Чертеж безвоздушной шины
Чертеж безвоздушной шины
Из чего состоит диск колеса автомобиля
Из чего состоит диск колеса автомобиля
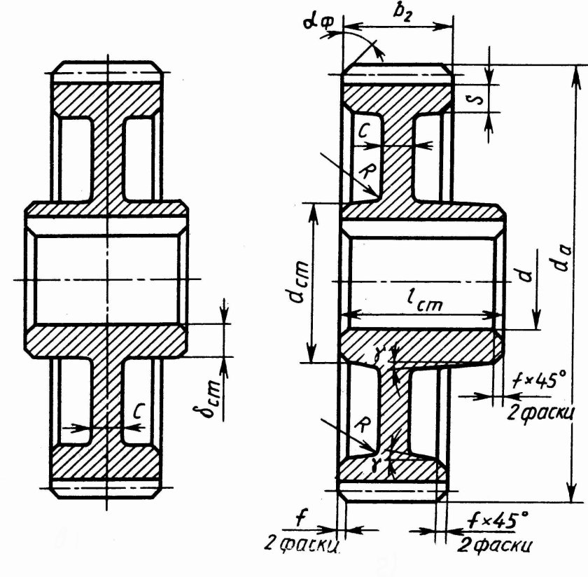
Передняя ступица ВАЗ 2109 схема
Передняя ступица ВАЗ 2109 схема
Брекер шины
Брекер шины
Кольцо бортовое колеса Урал 4320
Кольцо бортовое колеса Урал 4320
Тележка грузового вагона 18-100 (ЦНИИ-х3)
Тележка грузового вагона 18-100 (ЦНИИ-х3)
Колесная пара электровоза вл10
Колесная пара электровоза вл10
Чертеж безвоздушной шины
Чертеж безвоздушной шины
Мч00.31.00.00.сб колесо сборочный чертеж кронштейн
Мч00.31.00.00.сб колесо сборочный чертеж кронштейн
Бескамерная покрышка схема
Бескамерная покрышка схема
Сепаратор подшипника качения схема
Сепаратор подшипника качения схема
Структура корда колеса125мм
Структура корда колеса125мм
Отливка зубчатого колеса чертеж

Фотография Отливка зубчатого колеса чертеж

Колёсная пара тепловоза 2тэ116
Колёсная пара тепловоза 2тэ116
Схема крепления колеса
Схема крепления колеса
Маркировка шин 165/70 r13
Маркировка шин 165/70 r13
Строение ступицы переднего колеса
Строение ступицы переднего колеса
Колесная пара ру1ш-950 чертеж
Колесная пара ру1ш-950 чертеж
Колесная пара моторного вагона эд4м чертеж
Колесная пара моторного вагона эд4м чертеж
Тележка 18 100 конструкция
Тележка 18 100 конструкция
Покрышка пневматической шины КАМАЗ схема
Покрышка пневматической шины КАМАЗ схема
Типы колес
Типы колес
Колесная пара моторного вагона эд4м
Колесная пара моторного вагона эд4м
Передняя ступица ВАЗ 2108 схема
Передняя ступица ВАЗ 2108 схема
Поворотная колесная опора SC 160 мм КРЕПЫЖ
Поворотная колесная опора SC 160 мм КРЕПЫЖ
Схема велосипеда с названием деталей стелс
Схема велосипеда с названием деталей стелс
0

Похожие фотографии

Комментарии (0)

Кликните на изображение чтобы обновить код, если он неразборчив