Колесная формула 4х4

0
КАМАЗ колесная формула 4 на 4
КАМАЗ колесная формула 4 на 4
КАМАЗ 43502 бортовой
КАМАЗ 43502 бортовой
Jac n80 шасси
Jac n80 шасси
Исузу 4х4 грузовики
Исузу 4х4 грузовики
Разбрасыватель удобрений на базе уаз патриот
Разбрасыватель удобрений на базе уаз патриот
Газ садко next
Газ садко next
Колесное транспортное средство
Колесное транспортное средство
Isuzu elf n series
Isuzu elf n series
Isuzu elf n series

Фотография Isuzu elf n series

Isuzu elf n series
Isuzu elf n series
Isuzu elf n series
Isuzu elf n series
Dongfeng mengshi ms 600
Dongfeng mengshi ms 600
Вездеход газ садко next на шинах низкого давления
Вездеход газ садко next на шинах низкого давления
Isuzu elf n series
Isuzu elf n series
Урал 432067
Урал 432067
Вездеход урса
Вездеход урса
Камаз 43502
Камаз 43502
Вахтовый автобус газ
Вахтовый автобус газ
Газ-66 бархан снегоболотоход
Газ-66 бархан снегоболотоход
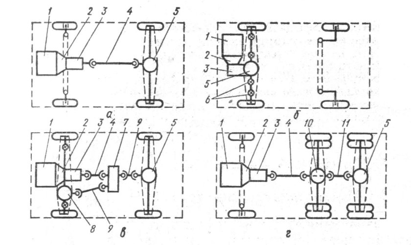
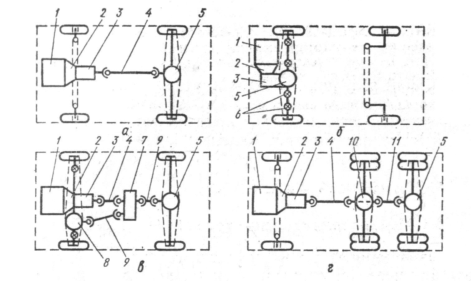
Трансмиссия МАЗ схема

Фотография Трансмиссия МАЗ схема

КАМАЗ 43502 бортовой
КАМАЗ 43502 бортовой
Вахтовый автобус камаз
Вахтовый автобус камаз
Колесные трактора
Колесные трактора
Ford ranger t 6
Ford ranger t 6
Модели зил
Модели зил
Ford ranger t 6
Ford ranger t 6
Колесные трактора
Колесные трактора
Исузу 4х4 грузовики
Исузу 4х4 грузовики
Газ 3309 передвижная мастерская
Газ 3309 передвижная мастерская
Передвижная автомобильная ремонтная мастерская газ 3010 1с
Передвижная автомобильная ремонтная мастерская газ 3010 1с
Шины ки 115 на ГАЗ 33081 купить в Москве
Шины ки 115 на ГАЗ 33081 купить в Москве
Беспилотный Урал
Беспилотный Урал
Бортовой КАМАЗ 43502-6023-66
Бортовой КАМАЗ 43502-6023-66
КАМАЗ 43502-3036-66(d5)
КАМАЗ 43502-3036-66(d5)
Экспедит 12 варзон
Экспедит 12 варзон
Mercedes-Benz Zetros 2733
Mercedes-Benz Zetros 2733
0

Похожие фотографии

Комментарии (0)

Кликните на изображение чтобы обновить код, если он неразборчив