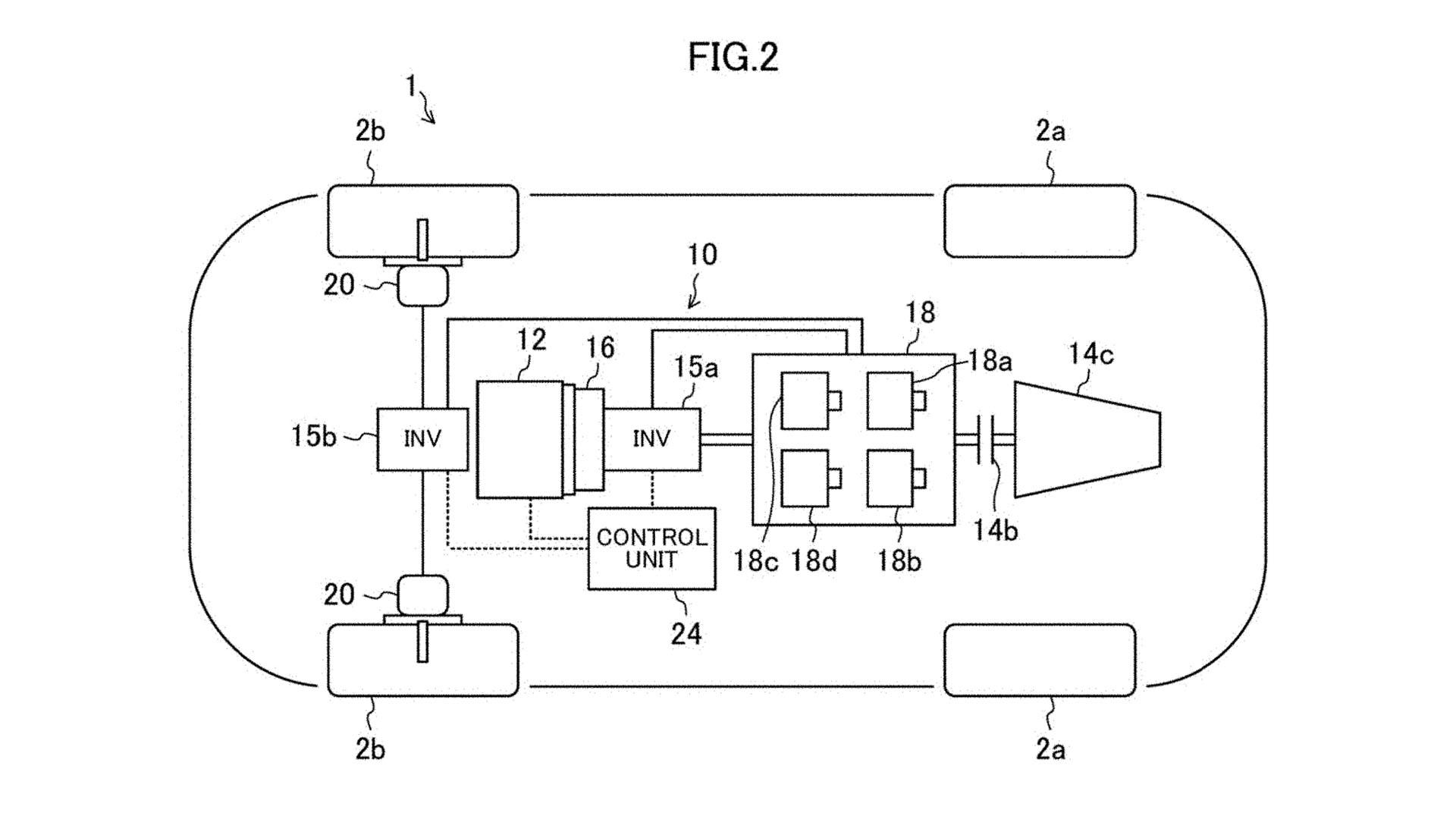
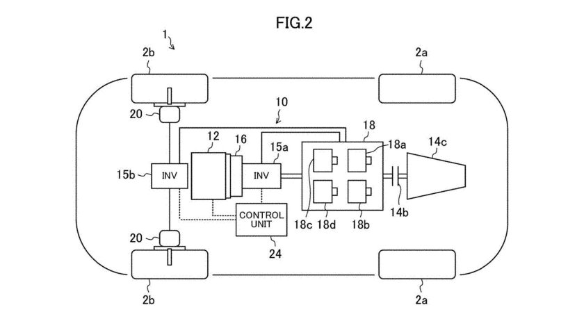
Четырехмоторная электрическая установка

0
Автомобили фон
Автомобили фон
Кенигсегг Гемера мотор
Кенигсегг Гемера мотор
Валогенератор судовой
Валогенератор судовой
Concept car
Concept car
Электрическая силовая установка
Электрическая силовая установка
Газопоршневая электростанция 400 КВТ
Газопоршневая электростанция 400 КВТ
Активная подвеска
Активная подвеска
Электрический внедорожник
Электрический внедорожник
Ардуино нано

Фотография Ардуино нано

Ferrari elettrica
Ferrari elettrica
Шкаф управления
Шкаф управления
Авто
Авто
Компенсаторы реактивной мощности УКРМ
Компенсаторы реактивной мощности УКРМ
Устройства автомобиля
Устройства автомобиля
Прицеп на TZ-4k-14
Прицеп на TZ-4k-14
Установка дезактивации
Установка дезактивации
Delorean dmc 12 машина времени
Delorean dmc 12 машина времени
Пищевое производство
Пищевое производство
Двигатель автомобиля
Двигатель автомобиля
Двигатель автомобиля

Фотография Двигатель автомобиля

Электромобиль с синхронным двигателем
Электромобиль с синхронным двигателем
Тяговый электродвигатель электромобиля тесла
Тяговый электродвигатель электромобиля тесла
Kentatsu электрокотел
Kentatsu электрокотел
Газ генераторы
Газ генераторы
Заземление силового трансформатора 10/0.4
Заземление силового трансформатора 10/0.4
Grundfos насосная станция hydro multi-e2
Grundfos насосная станция hydro multi-e2
Mercedes benz v class maybach
Mercedes benz v class maybach
Mercedes g 63 amg
Mercedes g 63 amg
Газопоршневые электростанции ямз
Газопоршневые электростанции ямз
Электромонтажные работы
Электромонтажные работы
Выпрямительная установка вл80с
Выпрямительная установка вл80с
Электродвигатели Сименс для авиации
Электродвигатели Сименс для авиации
Котлы могучи

Фотография Котлы могучи

Щит вводной распределительный 380 15 кв
Щит вводной распределительный 380 15 кв
Авиационный мотор Аргус
Авиационный мотор Аргус
Манта плата
Манта плата
Щит управления ЩУВ-1 (4;380;NC)
Щит управления ЩУВ-1 (4;380;NC)
Приточная вентиляция веза
Приточная вентиляция веза
BMW Vision neue klasse
BMW Vision neue klasse
УКМ 58-0,4-100 у3
УКМ 58-0,4-100 у3
Zeekr 001 2023
Zeekr 001 2023
Схема автоматизации приточной установки с частотником
Схема автоматизации приточной установки с частотником
Инженеры БМВ
Инженеры БМВ
Блок автоматики Fubag Startmaster BS 11500d
Блок автоматики Fubag Startmaster BS 11500d
Wilo cor-3 MHI 203/SKW-EB-R
Wilo cor-3 MHI 203/SKW-EB-R
Wilo co 2 BL 50/220-2.2/4/sk-FFS-R-CS
Wilo co 2 BL 50/220-2.2/4/sk-FFS-R-CS
0

Похожие фотографии

Комментарии (0)

Кликните на изображение чтобы обновить код, если он неразборчив