Реостатный контроллер

0
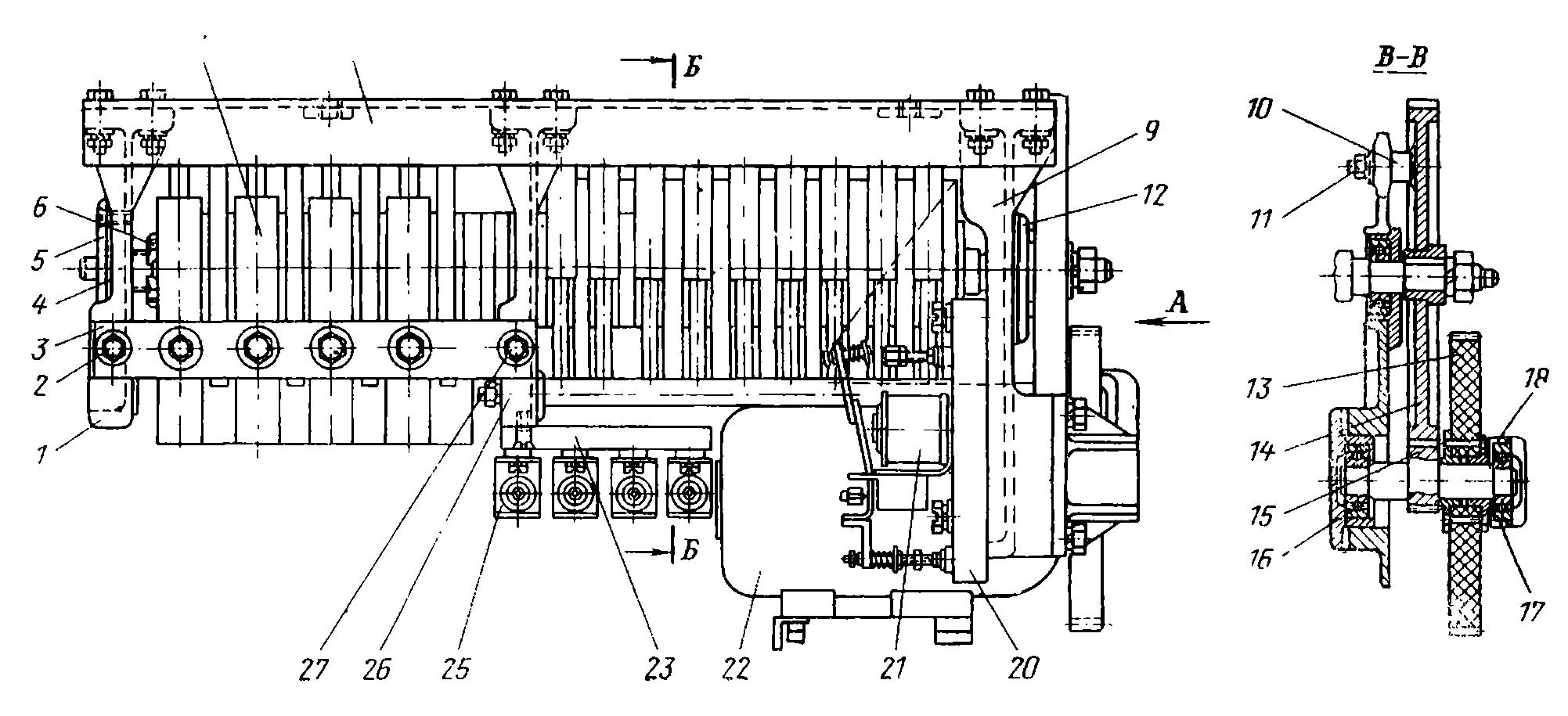
Реостатный контроллер 1кс 009
Реостатный контроллер 1кс 009
Реостатный контроллер 1кс 009
Реостатный контроллер 1кс 009
Реверсивно тормозной переключатель 1п-004у2
Реверсивно тормозной переключатель 1п-004у2
Реверсивно тормозной переключатель 1п-004у2
Реверсивно тормозной переключатель 1п-004у2
Контактор ослабления поля вл80с
Контактор ослабления поля вл80с
Силовой контроллер 1кс-006
Силовой контроллер 1кс-006
Реостатный контроллер КСП-1а
Реостатный контроллер КСП-1а
Реостатный силовой контроллер 1кс-009
Реостатный силовой контроллер 1кс-009
Силовой контроллер 1кс 009

Фотография Силовой контроллер 1кс 009

Реостатный силовой контроллер 1кс-009
Реостатный силовой контроллер 1кс-009
Силовой контроллер 1кс-006
Силовой контроллер 1кс-006
Тормозной переключатель эд4м
Тормозной переключатель эд4м
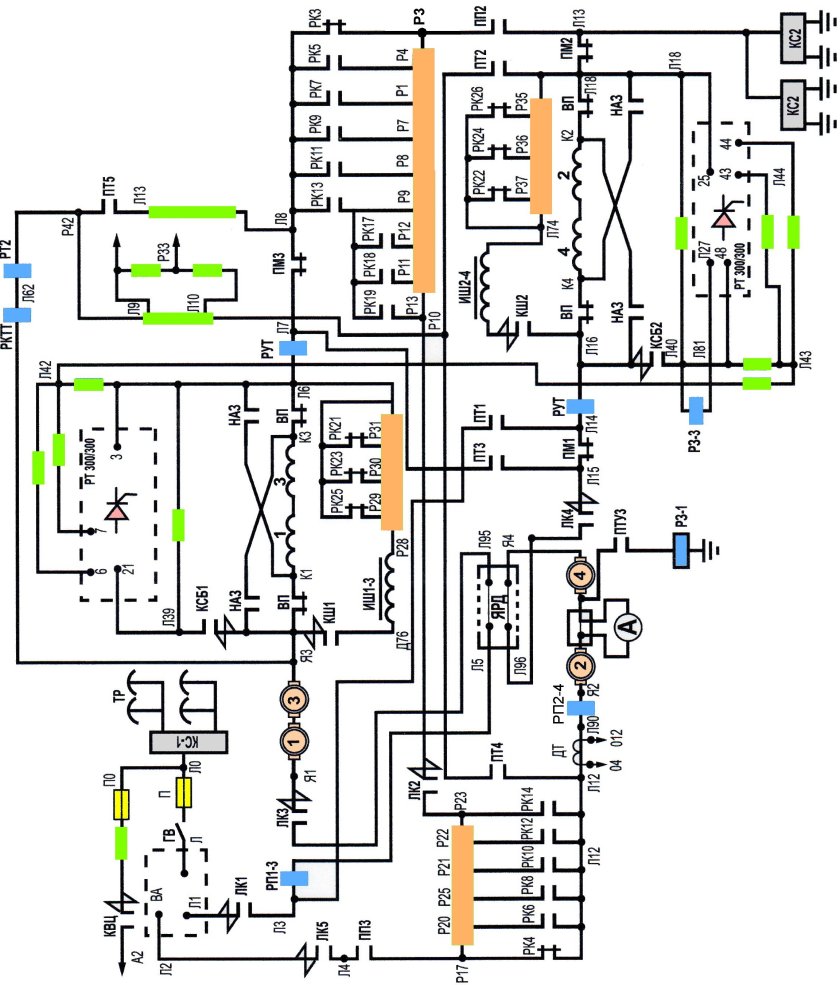
Схема электрическая принципиальная
Схема электрическая принципиальная
Групповой реостатный контроллер экг-39б
Групповой реостатный контроллер экг-39б
Контроллер машиниста кв-70
Контроллер машиниста кв-70
Вакуумный контактор
Вакуумный контактор
Контроллер силовой КС-304м
Контроллер силовой КС-304м
Блоков резисторов КФ 51
Блоков резисторов КФ 51
Реостатный контроллер 1кс 009
Реостатный контроллер 1кс 009
Вл80 высоковольтная камера

Фотография Вл80 высоковольтная камера

Пуско тормозные сопротивления 81-717
Пуско тормозные сопротивления 81-717
Токоприемник электровоза
Токоприемник электровоза
Реверсивная рукоятка машиниста кв 70
Реверсивная рукоятка машиниста кв 70
Тормозной переключатель эд4м
Тормозной переключатель эд4м
Депо метро екатеринбург
Депо метро екатеринбург
Разъединитель РКС-3.3/4000 ухл1
Разъединитель РКС-3.3/4000 ухл1
Переключатель кулачковый групповой пкг-040
Переключатель кулачковый групповой пкг-040
Расположение оборудования моторного вагона эд4м
Расположение оборудования моторного вагона эд4м
Контроллер силовой пневматический 1кс-006
Контроллер силовой пневматический 1кс-006
Поршневой оппозитный компрессор 2гм схема
Поршневой оппозитный компрессор 2гм схема
Силовой контроллер
Силовой контроллер
Моторный вагон электропоезда эт2м
Моторный вагон электропоезда эт2м
Регулятор оборотов розетка
Регулятор оборотов розетка
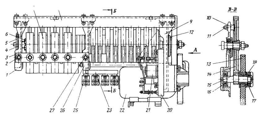
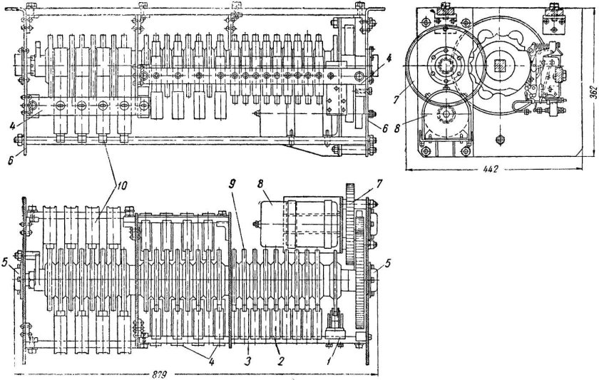
Кулачковый барабан реостатного контроллера
Кулачковый барабан реостатного контроллера
Капстоун микротурбины

Фотография Капстоун микротурбины

Реверсивная рукоятка машиниста кв 70
Реверсивная рукоятка машиниста кв 70
Пуско-тормозные резисторы эд4м
Пуско-тормозные резисторы эд4м
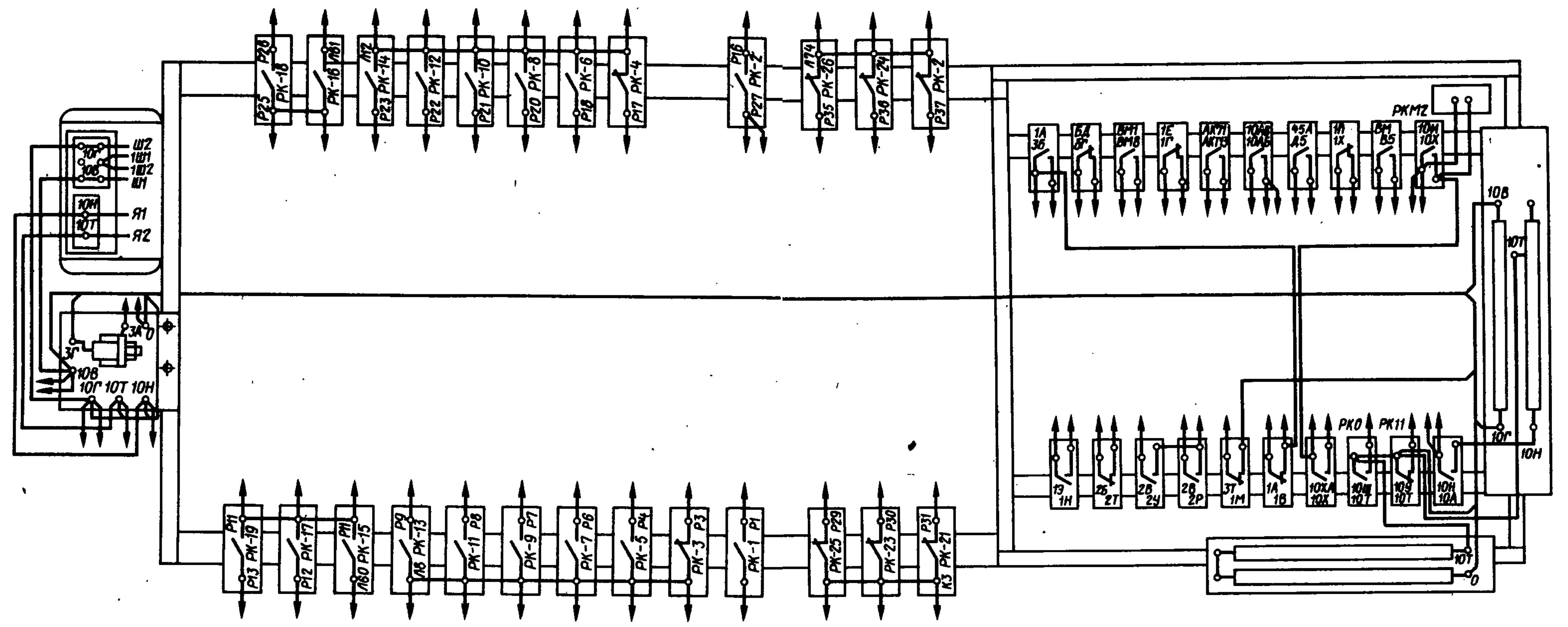
Управление реостатным контроллером
Управление реостатным контроллером
Газоанализатор мх4
Газоанализатор мх4
Реостат РМ 1671-у3
Реостат РМ 1671-у3
КТМ 5 кабина
КТМ 5 кабина
Контроллер машиниста КМЭ 70
Контроллер машиниста КМЭ 70
Реостатный контроллер 81-717
Реостатный контроллер 81-717
Пульт тепловоза тэп70
Пульт тепловоза тэп70
Схема силовой цепи эр2
Схема силовой цепи эр2
Реостатный контроллер схема
Реостатный контроллер схема
0

Похожие фотографии

Комментарии (0)

Кликните на изображение чтобы обновить код, если он неразборчив