Заклепки в самолетостроении

0
Клепка деталей
Клепка деталей
Обшивка самолета
Обшивка самолета
Обшивка самолета
Обшивка самолета
Restrain Rivet
Restrain Rivet
Крепление оцинкованного листа на заклепках
Крепление оцинкованного листа на заклепках
Металлическая обшивка
Металлическая обшивка
Коррозия фюзеляжа
Коррозия фюзеляжа
Заклепка 2,6-6-АН.Окс-ОСТ 1 34087-80/01
Заклепка 2,6-6-АН.Окс-ОСТ 1 34087-80/01
Металлическая обшивка самолета

Фотография Металлическая обшивка самолета

Обшивка самолета
Обшивка самолета
Металлическая обшивка
Металлическая обшивка
Обшивка фюзеляжа
Обшивка фюзеляжа
Металл с заклепками
Металл с заклепками
Клепанное соединение
Клепанное соединение
Металл с заклепками
Металл с заклепками
Фюзеляж самолета ил 2
Фюзеляж самолета ил 2
Клепаные конструкции из металла
Клепаные конструкции из металла
Титановая обшивка самолета
Титановая обшивка самолета
Теплоизоляция самолета
Теплоизоляция самолета
Заклепки нержавеющие

Фотография Заклепки нержавеющие

Изображение заклепки
Изображение заклепки
Заклепка пластиковая Yamaha 9026908801
Заклепка пластиковая Yamaha 9026908801
Заклепка металл
Заклепка металл
Фон металл
Фон металл
Заклепка вытяжная 4х8 нерж/нерж
Заклепка вытяжная 4х8 нерж/нерж
Заклепки металлургический завод авалда
Заклепки металлургический завод авалда
Заклепка из нержавеющей стали
Заклепка из нержавеющей стали
Клепки металлические
Клепки металлические
Заклепка вытяжная 4х10
Заклепка вытяжная 4х10
Заклёпка нержавеющая 4.8х12
Заклёпка нержавеющая 4.8х12
Заклепка вытяжная 5х20
Заклепка вытяжная 5х20
Заклепка 9б324.0101
Заклепка 9б324.0101
Металлические конструкции
Металлические конструкции
Заклепка ГОСТ 10300-80
Заклепка ГОСТ 10300-80
Технология клепания заклепок клепка металла склепывание
Технология клепания заклепок клепка металла склепывание
Схема заклепочного соединения
Схема заклепочного соединения
Заклепка ОСТ 1 34076-85.
Заклепка ОСТ 1 34076-85.
Развальцовка заклепок чертеж
Развальцовка заклепок чертеж
Заклепочник под заклепки вытяжные 6,4
Заклепочник под заклепки вытяжные 6,4
Заклепка 7703072362 Renault

Фотография Заклепка 7703072362 Renault

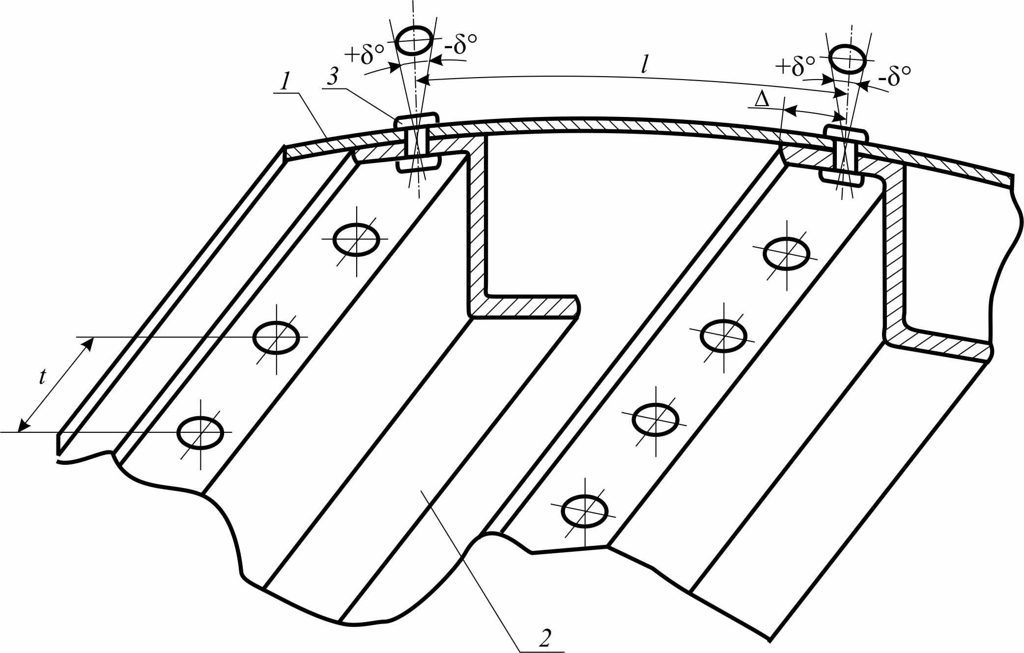
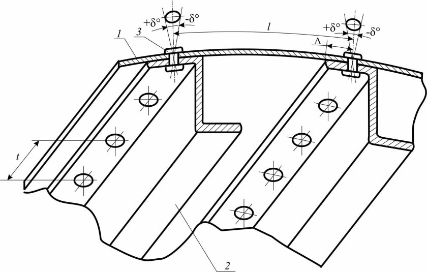
Стрингер чертеж
Стрингер чертеж
Развальцовка заклепок 6 чертёж
Развальцовка заклепок 6 чертёж
Клепать заклепки клепальником
Клепать заклепки клепальником
Схема соединения на вытяжных заклепках
Схема соединения на вытяжных заклепках
Заклепка вытяжная алюминиевая 6.4 мм
Заклепка вытяжная алюминиевая 6.4 мм
Клепки металлические
Клепки металлические
Поставить заклепку ударную
Поставить заклепку ударную
Штифты - фиксаторы Cleco
Штифты - фиксаторы Cleco
Болт заклепка Авиационная
Болт заклепка Авиационная
Заклёпки трубчатые нержавейка
Заклёпки трубчатые нержавейка
Соединение заклепками
Соединение заклепками
Клёпка металла инструменты и приспособления для клепки
Клёпка металла инструменты и приспособления для клепки
Неопреновая заклепка резьбовая м6
Неопреновая заклепка резьбовая м6
Din 660 заклёпки с полукруглой головкой под молоток
Din 660 заклёпки с полукруглой головкой под молоток
Заклепки вытяжные на 8 20
Заклепки вытяжные на 8 20
Имитация заклепок на металле
Имитация заклепок на металле
Узел болтового соединения металлоконструкций

Фотография Узел болтового соединения металлоконструкций

ГОСТ 10299-80 заклепки
ГОСТ 10299-80 заклепки
Заклепка ГОСТ 10299
Заклепка ГОСТ 10299
Крепление заклепок к металлу
Крепление заклепок к металлу
Заклепка вытяжная 3,2х6
Заклепка вытяжная 3,2х6
Заклепка вытяжная 3,2х6
Заклепка вытяжная 3,2х6
Заклепка Дин 662
Заклепка Дин 662
Заклепки вытяжные комб алюм сталь 7337 4,8*12/14/16
Заклепки вытяжные комб алюм сталь 7337 4,8*12/14/16
Заклепка герметичная
Заклепка герметичная
1/48 FJ-2
1/48 FJ-2
Заклепка алюминиевая д18 под молоток
Заклепка алюминиевая д18 под молоток
Металлические балки с заклепками
Металлические балки с заклепками
Заклепка вытяжная 4х12
Заклепка вытяжная 4х12
Din 7337
Din 7337
Металлические конструкции
Металлические конструкции
Заклепки для фиброцементных плит
Заклепки для фиброцементных плит
Заклепка вытяжная 4,8*25
Заклепка вытяжная 4,8*25
Гайки ОСТ 1 13865-81
Гайки ОСТ 1 13865-81
Клепка а1100
Клепка а1100
0

Похожие фотографии

Комментарии (0)

Кликните на изображение чтобы обновить код, если он неразборчив