Дизайн крыла автомобиля

0
Пластиковые Крылья на авто
Пластиковые Крылья на авто
Стеклопластиковые Крылья Гранд Чероки wk1
Стеклопластиковые Крылья Гранд Чероки wk1
Покраска бампера
Покраска бампера
Стеклопластиковые Крылья Пассат б3
Стеклопластиковые Крылья Пассат б3
Стикербомбинг Honda Civic
Стикербомбинг Honda Civic
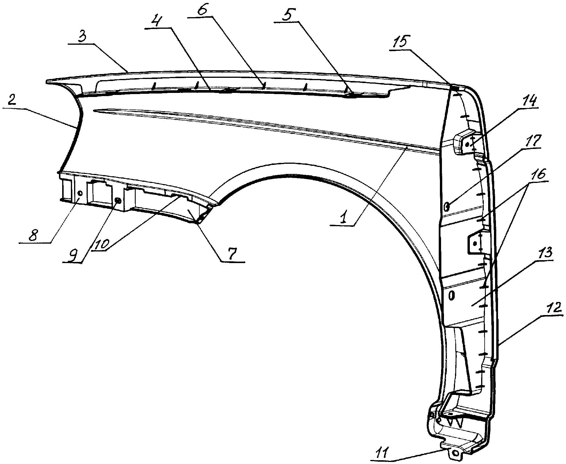
Переднее крыло автомобиля
Переднее крыло автомобиля
Аэрография. Авто
Аэрография. Авто
Кузовной ремонт
Кузовной ремонт
Подставка для покраски крыла автомобиля

Фотография Подставка для покраски крыла автомобиля

Крайслер 300с накладки на Крылья
Крайслер 300с накладки на Крылья
Чертеж переднего крыла ВАЗ 2170
Чертеж переднего крыла ВАЗ 2170
Полировка кузова
Полировка кузова
Подставка для покраски крыла автомобиля
Подставка для покраски крыла автомобиля
Плавник на машину
Плавник на машину
Смарт Джереми Скотт
Смарт Джереми Скотт
Крылья автомобиля
Крылья автомобиля
Ремонт алюминиевого кузова автомобиля
Ремонт алюминиевого кузова автомобиля
Лопнуло алюминиевое крыло
Лопнуло алюминиевое крыло
ВАЗ 2112 С наклейкой 12 на капоте
ВАЗ 2112 С наклейкой 12 на капоте
Покраска крыла

Фотография Покраска крыла

Антигравий на пороги Форд фокус 2
Антигравий на пороги Форд фокус 2
Покраска крыла по ребру
Покраска крыла по ребру
Жабры на капот ВАЗ 2109
Жабры на капот ВАЗ 2109
Покраска бампера
Покраска бампера
Стеклопластиковые Крылья Пассат б3
Стеклопластиковые Крылья Пассат б3
Кузовной ремонт
Кузовной ремонт
Расширение кузова
Расширение кузова
Вмятина на крыле автомобиля
Вмятина на крыле автомобиля
Покраска крыла автомобиля
Покраска крыла автомобиля
Стойка для покраски крыла
Стойка для покраски крыла
Каллиграфия на авто
Каллиграфия на авто
Покраска крыла автомобиля
Покраска крыла автомобиля
3д принтер в автомобилестроении
3д принтер в автомобилестроении
Покрас Лампас ВАЗ 2107
Покрас Лампас ВАЗ 2107
Volkswagen Golf GTI 6 аэрография
Volkswagen Golf GTI 6 аэрография
Chevrolet Corvette c7 Duraflex
Chevrolet Corvette c7 Duraflex
Наклейка на автомобиль
Наклейка на автомобиль
Шпаклеванное крыло
Шпаклеванное крыло
Покраска крыла автомобиля

Фотография Покраска крыла автомобиля

Грунтовка кузова автомобиля
Грунтовка кузова автомобиля
Накладка колесной арки w204
Накладка колесной арки w204
Винилы на авто
Винилы на авто
Крылья передние Nissan Skyline r33
Крылья передние Nissan Skyline r33
Матрица для крыла автомобиля
Матрица для крыла автомобиля
Крыло Лада Веста
Крыло Лада Веста
БМВ м8 Веном
БМВ м8 Веном
Жабры на передние Крылья Infiniti FX s50
Жабры на передние Крылья Infiniti FX s50
Переднее крыло Форд фокус 2 дорестайлинг
Переднее крыло Форд фокус 2 дорестайлинг
Пластиковые Крылья Golf GTI
Пластиковые Крылья Golf GTI
Покраска бампера
Покраска бампера
Расширители арок на Крылья Марк 2 90
Расширители арок на Крылья Марк 2 90
Фары авто
Фары авто
Покраска заднего крыла
Покраска заднего крыла
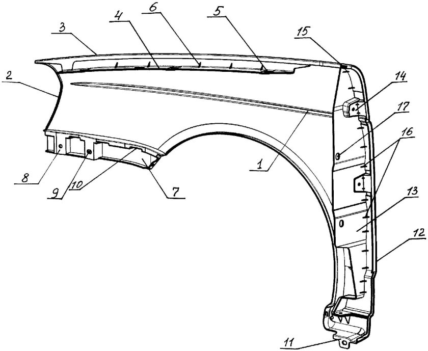
Переднее крыло автомобиля

Фотография Переднее крыло автомобиля

Стеллаж для бамперов
Стеллаж для бамперов
Audi rs6 r ABT
Audi rs6 r ABT
Крыло к690
Крыло к690
Крыло из стекловолокна
Крыло из стекловолокна
Наклейка "машины"
Наклейка "машины"
Бампер пластик
Бампер пластик
Лада Гранта винил
Лада Гранта винил
Матрица для крыла автомобиля
Матрица для крыла автомобиля
Наклейки на крыло автомобиля
Наклейки на крыло автомобиля
Покрас Лампас Lamborghini
Покрас Лампас Lamborghini
Крыло заднее Москвич 400
Крыло заднее Москвич 400
Аэрография. Авто
Аэрография. Авто
Nissan 180sx livery развёртка
Nissan 180sx livery развёртка
Аэрография на автомобиле
Аэрография на автомобиле
Расширение задних крыльев на Марк 90
Расширение задних крыльев на Марк 90
Покраска крыла автомобиля
Покраска крыла автомобиля
Расширители колесных арок Форд фокус 3
Расширители колесных арок Форд фокус 3
0

Похожие фотографии

Комментарии (0)

Кликните на изображение чтобы обновить код, если он неразборчив