Панель приборов сурф 130

0
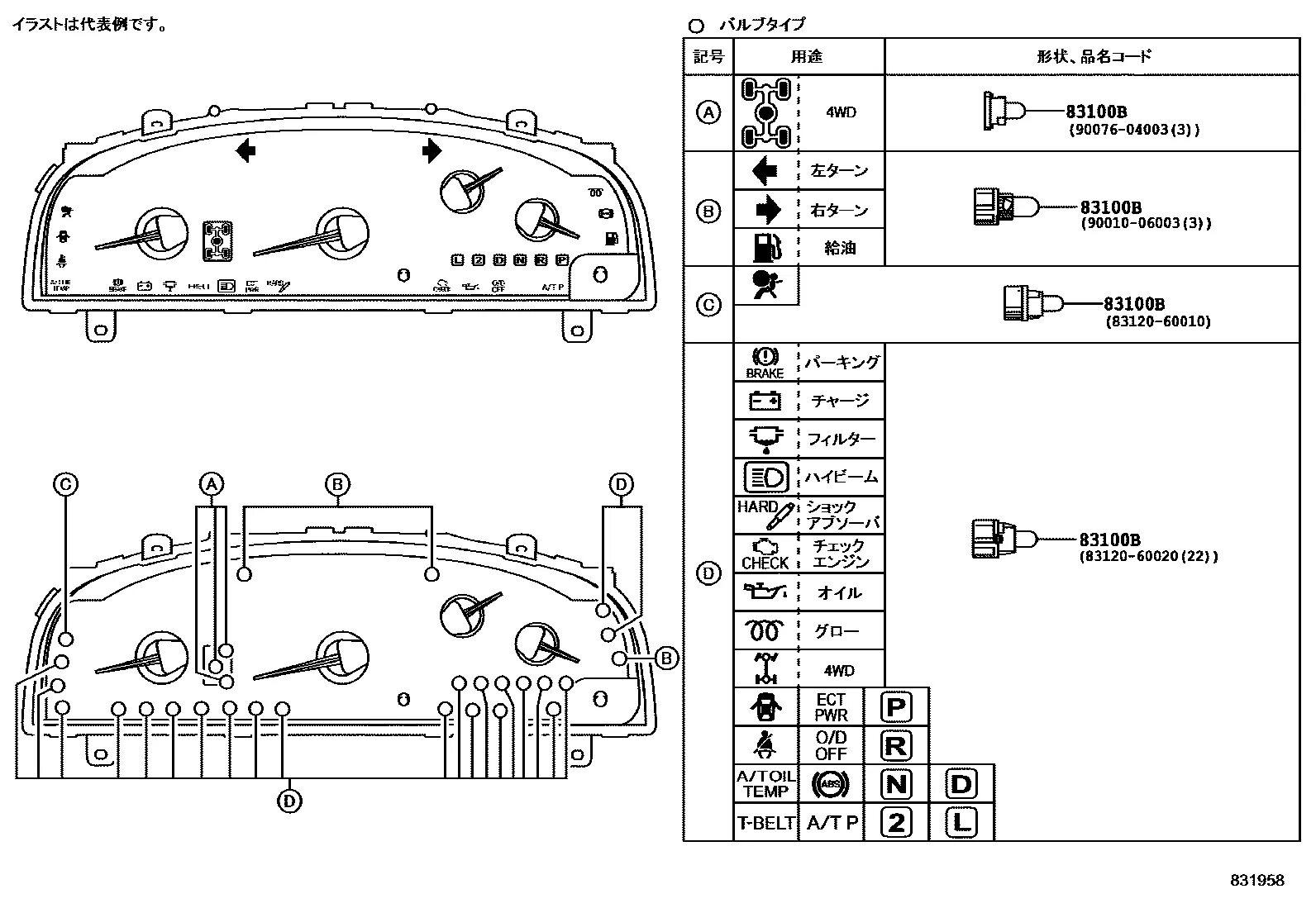
Щиток приборов Toyota Hilux Surf 130
Щиток приборов Toyota Hilux Surf 130
Панель приборов тойота
Панель приборов тойота
Приборная панель Сурф 130
Приборная панель Сурф 130
Панель приборов тойота
Панель приборов тойота
Панель приборов тойота
Панель приборов тойота
Приборная панель Сурф 130
Приборная панель Сурф 130
Панель Тойота Сурф 185
Панель Тойота Сурф 185
Приборная панель Сурф 185
Приборная панель Сурф 185
Панель приборов Toyota Hilux Surf

Фотография Панель приборов Toyota Hilux Surf

Сурф 185 дизель панель приборов
Сурф 185 дизель панель приборов
Surf 185 панель приборов оптитрон
Surf 185 панель приборов оптитрон
Панель приборов тойота
Панель приборов тойота
Панель приборов тойота
Панель приборов тойота
Электронная приборная панель ленд крузер 100
Электронная приборная панель ленд крузер 100
Панель приборов Toyota Hilux Surf
Панель приборов Toyota Hilux Surf
Приборка Хайлюкс
Приборка Хайлюкс
Приборная панель Сурф 130

Фотография Приборная панель Сурф 130

Toyota 4runner приборная панель
Toyota 4runner приборная панель
Оптитрон Сурф 185
Оптитрон Сурф 185
Приборная панель оптитрон Сурф 215
Приборная панель оптитрон Сурф 215
Панель приборов 4runner 130
Панель приборов 4runner 130
4runner Toyota 130 панель приборов
4runner Toyota 130 панель приборов
Щиток приборов Toyota Hilux Surf 130
Щиток приборов Toyota Hilux Surf 130
Тойота 4runner 2 поколение
Тойота 4runner 2 поколение
Щиток приборов Toyota Hilux Surf 130
Щиток приборов Toyota Hilux Surf 130
Сурф 185 дизель панель приборов
Сурф 185 дизель панель приборов
Кренометр Toyota Hilux Surf 130
Кренометр Toyota Hilux Surf 130
Панель приборов Тойота Сурф 185
Панель приборов Тойота Сурф 185
Приборной панели Toyota 4runner 4
Приборной панели Toyota 4runner 4
Тахометр Toyota
Тахометр Toyota
Приборная панель Surf 130
Приборная панель Surf 130
Приборная панель Surf 130
Приборная панель Surf 130
Панель приборов Тойота Сурф 185
Панель приборов Тойота Сурф 185
Toyota 4runner 2 салон

Фотография Toyota 4runner 2 салон

Панель приборов Тойота Сурф 185
Панель приборов Тойота Сурф 185
Приборная панель Сурф 185
Приборная панель Сурф 185
Магнитола в Hilux Surf 185
Магнитола в Hilux Surf 185
Панель Сурф 130
Панель Сурф 130
Сурф 185 кузов панель приборов лампочки
Сурф 185 кузов панель приборов лампочки
Панель приборов Toyota Hilux Surf Пересвет
Панель приборов Toyota Hilux Surf Пересвет
Не работает тахометр Тойота Сурф 185
Не работает тахометр Тойота Сурф 185
Приборная панель Hilux surfc185
Приборная панель Hilux surfc185
Панель приборов Тойота мастер айс Сурф
Панель приборов Тойота мастер айс Сурф
Приборная панель Тойота Сурф 185
Приборная панель Тойота Сурф 185
Снятие Торпедо Сурф 185
Снятие Торпедо Сурф 185
Оптитрон Сурф 185
Оптитрон Сурф 185
Консоль мастер айс Сурф
Консоль мастер айс Сурф
Панель приборов Тойота мастер айс Сурф
Панель приборов Тойота мастер айс Сурф
Приборная панель Сурф 185
Приборная панель Сурф 185
Оптитрон Сурф 185

Фотография Оптитрон Сурф 185

Surf 130 Генератор
Surf 130 Генератор
Toyota 4runner 130 салон
Toyota 4runner 130 салон
Торпедо Сурф 215
Торпедо Сурф 215
Toyota 4runner 130 схема электропроводки
Toyota 4runner 130 схема электропроводки
Панель приборов Тойота корона st190
Панель приборов Тойота корона st190
Провод тахометра Тойота Сурф 185
Провод тахометра Тойота Сурф 185
Панель приборов Тойота мастер айс Сурф
Панель приборов Тойота мастер айс Сурф
Toyota Hilux Surf 130 салон
Toyota Hilux Surf 130 салон
Панель приборов Тойота мастер айс Сурф
Панель приборов Тойота мастер айс Сурф
Оптитрон Сурф 185
Оптитрон Сурф 185
Кренометр Toyota Hilux Surf 130
Кренометр Toyota Hilux Surf 130
Спидометр оптитрон Сурф 215
Спидометр оптитрон Сурф 215
Kzn-185 приборная панель
Kzn-185 приборная панель
Креномер на Торпедо Hilux ln106
Креномер на Торпедо Hilux ln106
Цветной оптитрон Сурф 185
Цветной оптитрон Сурф 185
Индикаторы панели приборов Тойота Сурф 185 3rz Fe
Индикаторы панели приборов Тойота Сурф 185 3rz Fe
Провод питания тахометр Hilux Surf 185
Провод питания тахометр Hilux Surf 185
Сурф 185 салон
Сурф 185 салон
0

Похожие фотографии

Комментарии (0)

Кликните на изображение чтобы обновить код, если он неразборчив