Гусеничный движитель

0
Вездеход Ripsaw ev2
Вездеход Ripsaw ev2
Вездеход ripsaw ev2
Вездеход ripsaw ev2
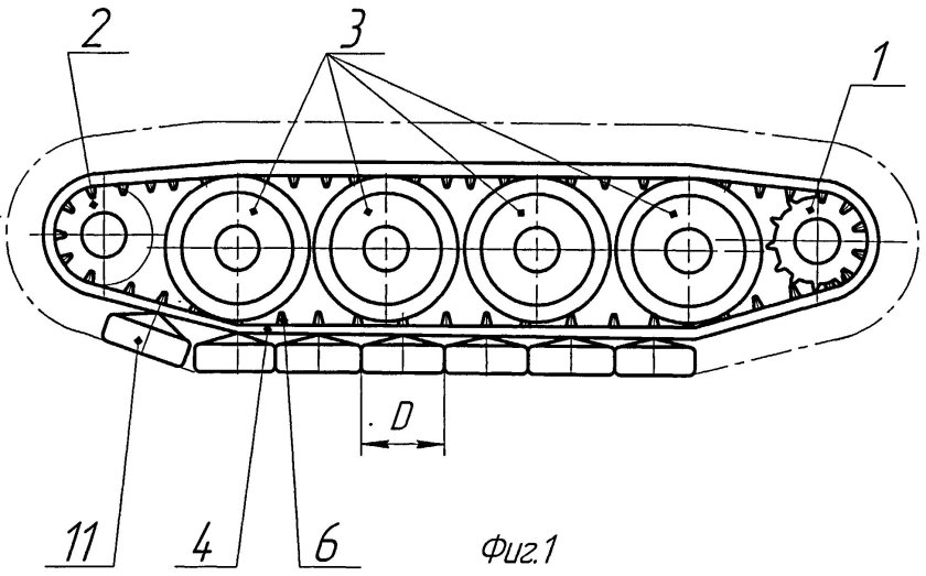
1837 Гусеничный движитель
1837 Гусеничный движитель
Гусеницы Кимпекс
Гусеницы Кимпекс
Гусеницы mattracks
Гусеницы mattracks
Движитель Авенариуса
Движитель Авенариуса
Загряжский гусеничный ход
Загряжский гусеничный ход
ВГД 2500 гусеницы
ВГД 2500 гусеницы
Ripsaw ms1

Фотография Ripsaw ms1

Торсионная подвеска танка т-72
Торсионная подвеска танка т-72
Гусеничный вездеход Юкон
Гусеничный вездеход Юкон
Гусеничные движители ВГД-3000
Гусеничные движители ВГД-3000
Задняя подвеска снегохода arctic cat z1
Задняя подвеска снегохода arctic cat z1
Подвеска снегохода тайга барс 850
Подвеска снегохода тайга барс 850
Гусеничный вездеход ВАЕР 1800
Гусеничный вездеход ВАЕР 1800
Механизм натяжения тележки гусениц т-130
Механизм натяжения тележки гусениц т-130
Delta 4x4 Мерседес на гусеницах
Delta 4x4 Мерседес на гусеницах
Гусеничный вездеход dozor
Гусеничный вездеход dozor
Ходовая часть гусеничного трактора ДТ-75 движитель
Ходовая часть гусеничного трактора ДТ-75 движитель
Ходовая часть бульдозера Катерпиллер
Ходовая часть бульдозера Катерпиллер
Гусеничный вездеход патруль трак
Гусеничный вездеход патруль трак
Гусеничный комплект (гусеницы) для квадроциклов atv stels Guepard 650
Гусеничный комплект (гусеницы) для квадроциклов atv stels Guepard 650
Трак гусеницы т70
Трак гусеницы т70
Чертеж мотособака 380 гусеница
Чертеж мотособака 380 гусеница
ЗИЛ 131 резиновые гусеницы
ЗИЛ 131 резиновые гусеницы
Гусеничный вездеход ВАЕР 1800
Гусеничный вездеход ВАЕР 1800
Гусеница снегохода Talon Тайга-600
Гусеница снегохода Talon Тайга-600
Гусеницы Доминатор
Гусеницы Доминатор
Гусеничная лента ЗИС-42
Гусеничная лента ЗИС-42
Подвеска снегохода Тайга Барс 850
Подвеска снегохода Тайга Барс 850
Гусеничные вездеходы Тингер

Фотография Гусеничные вездеходы Тингер

Гусеничный движитель гусеницы муравей
Гусеничный движитель гусеницы муравей
Гусеничная приставка ГП-н1 для мотоблоков Нева
Гусеничная приставка ГП-н1 для мотоблоков Нева
Мерседес за 50 000 000
Мерседес за 50 000 000
Самодельная гусеница для снегохода
Самодельная гусеница для снегохода
Движитель гусеничный c40201000
Движитель гусеничный c40201000
Гусеничный вездеход Юкон чертежи
Гусеничный вездеход Юкон чертежи
Гусеничное ходовое оборудование
Гусеничное ходовое оборудование
ГАЗ 69 гусеничный
ГАЗ 69 гусеничный
Гусеничный привод снегохода Буран
Гусеничный привод снегохода Буран
Гусеничная платформа
Гусеничная платформа
Гусеничный вездеход MSR
Гусеничный вездеход MSR
Универсальное гусеничное шасси УТС-140
Универсальное гусеничное шасси УТС-140
0

Похожие фотографии

Комментарии (0)

Кликните на изображение чтобы обновить код, если он неразборчив