Конус воздухозаборника

0
Конус воздухозаборника миг-21
Конус воздухозаборника миг-21
Миг 21 воздухозаборник
Миг 21 воздухозаборник
Истребитель винтовой с воздухозаборником снизу
Истребитель винтовой с воздухозаборником снизу
Пластиковая модель
Пластиковая модель
Миг-25 воздухозаборники
Миг-25 воздухозаборники
Су-22 1/144
Су-22 1/144
Миг-21 Walkaround
Миг-21 Walkaround
Миг-21 Walkaround
Миг-21 Walkaround
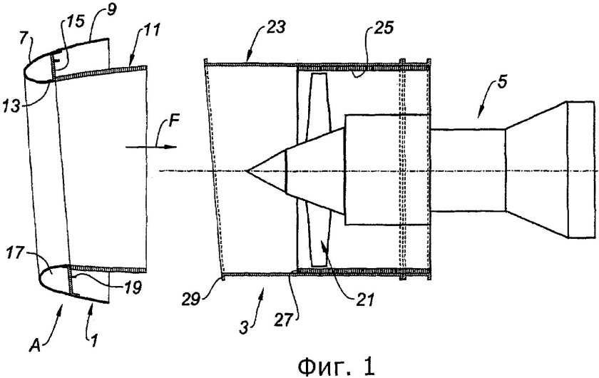
Обечайка воздухозаборника

Фотография Обечайка воздухозаборника

Конус воздухозаборника миг-21
Конус воздухозаборника миг-21
Автомобильный воздушный фильтр
Автомобильный воздушный фильтр
Моноциклон МТЗ 80
Моноциклон МТЗ 80
Су-22 1/144
Су-22 1/144
Конусный воздушный фильтр
Конусный воздушный фильтр
Воздухозаборный фильтр для мотоцикла
Воздухозаборный фильтр для мотоцикла
Треугольная конструкция воздухозаборника
Треугольная конструкция воздухозаборника
Конус дорожный сигнальный
Конус дорожный сигнальный
BMW 13 71 7 624 210
BMW 13 71 7 624 210
Универсальные автомобильные воздушные фильтры
Универсальные автомобильные воздушные фильтры
Фильтр конусный сетчатый

Фотография Фильтр конусный сетчатый

JDM воздушный фильтр
JDM воздушный фильтр
Переходник для вентиляции с квадрата на круг 200мм
Переходник для вентиляции с квадрата на круг 200мм
SUV Filter
SUV Filter
Воздухозаборник Шкода Рапид
Воздухозаборник Шкода Рапид
17228-1w200
17228-1w200
Фиксатор конус 20 мм
Фиксатор конус 20 мм
Воздухозаборник двигателя
Воздухозаборник двигателя
Аэродинамический гребень
Аэродинамический гребень
Воздушный фильтр для двигателей
Воздушный фильтр для двигателей
Шланг воздухопровода 4322-1109428 Урал
Шланг воздухопровода 4322-1109428 Урал
Спортивный воздушный фильтр
Спортивный воздушный фильтр
Детектор утечки дыма
Детектор утечки дыма
Фильтр конический для фильтра Green 400-600 серия
Фильтр конический для фильтра Green 400-600 серия
Воздушный фильтр для мотоцикла
Воздушный фильтр для мотоцикла
Сборная модель
Сборная модель
Конус раскраска
Конус раскраска
Конусный воздушный фильтр
Конусный воздушный фильтр
Перевёрнцтый конусный воздушный фильтр
Перевёрнцтый конусный воздушный фильтр
Фильтр конический для фильтра Green 400-600 серия
Фильтр конический для фильтра Green 400-600 серия
Конусный воздушный фильтр
Конусный воздушный фильтр
Конусный воздушный фильтр
Конусный воздушный фильтр
Рупор конус -1176625907
Рупор конус -1176625907
Воздуховод авто
Воздуховод авто
Конические фильтры
Конические фильтры
Cold Air Flow
Cold Air Flow
Грибок воздухозаборника МАЗ
Грибок воздухозаборника МАЗ
С фильтром 25 мм
С фильтром 25 мм
Воздушный фильтр 54мм
Воздушный фильтр 54мм
Су-22 1/144
Су-22 1/144
65-30-115 Mm фильтр
65-30-115 Mm фильтр
Воздухозаборник трактор МТЗ-82

Фотография Воздухозаборник трактор МТЗ-82

0

Похожие фотографии

Комментарии (0)

Кликните на изображение чтобы обновить код, если он неразборчив