Вспомогательный рудничный транспорт

0
Шахтный электровоз Ferrit
Шахтный электровоз Ferrit
Феррит 110 шахтовый монорельсовый дизелевоз
Феррит 110 шахтовый монорельсовый дизелевоз
Электровоз в шахте
Электровоз в шахте
Dlz110f дизелевоз
Dlz110f дизелевоз
Угольная шахта
Угольная шахта
Вагон самоходный шахтный вс - 17в
Вагон самоходный шахтный вс - 17в
Шахтный подвесной Локомотив dlz110f
Шахтный подвесной Локомотив dlz110f
Шахтный электровоз ferrit
Шахтный электровоз ferrit
Феррит 110 шахтовый монорельсовый дизелевоз

Фотография Феррит 110 шахтовый монорельсовый дизелевоз

Вагон самоходный шахтный вс - 17в
Вагон самоходный шахтный вс - 17в
Normet MF 540
Normet MF 540
Шахтный электровоз ferrit
Шахтный электровоз ferrit
Шахтный самосвал Sandvik
Шахтный самосвал Sandvik
Atlas Copco Scooptram st1030
Atlas Copco Scooptram st1030
Шахтный погрузчик ПДМ
Шахтный погрузчик ПДМ
ПДМ Caterpillar r1700
ПДМ Caterpillar r1700
БЕЛАЗ 74131
БЕЛАЗ 74131
Карьерный экскаватор УЗТМ ЭКГ 35
Карьерный экскаватор УЗТМ ЭКГ 35
Шахтный подвесной Локомотив dlz110f
Шахтный подвесной Локомотив dlz110f
Опэ1ам тяговый агрегат стационарный заземлитель
Опэ1ам тяговый агрегат стационарный заземлитель
Канатно-подвесной транспорт
Канатно-подвесной транспорт
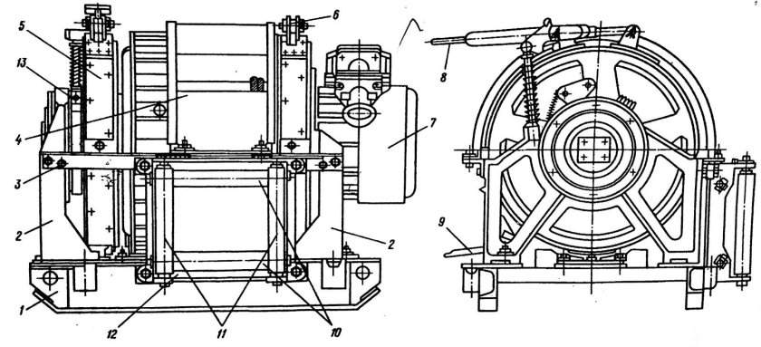
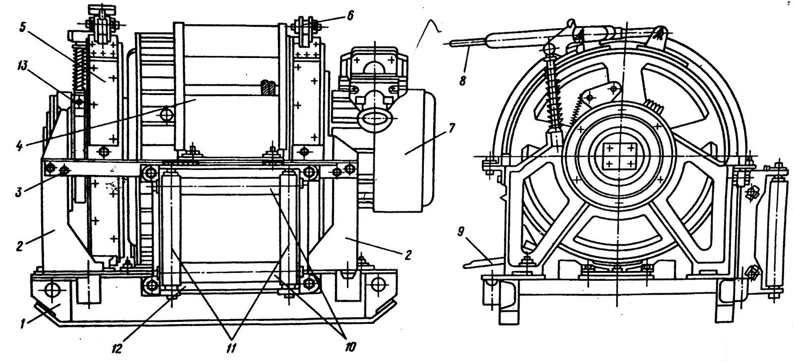
Лебедка лбу-1200
Лебедка лбу-1200
Лебединский ГОК
Лебединский ГОК
Сафьяновская медь реж
Сафьяновская медь реж
Спш1 конвейер шахтный
Спш1 конвейер шахтный
Конвейер ленточный магистральный
Конвейер ленточный магистральный
Схема проветривания угольной Шахты
Схема проветривания угольной Шахты
Проходческий комбайн КРП 3
Проходческий комбайн КРП 3
Шахтный дизелевоз феррит 110
Шахтный дизелевоз феррит 110
УЖДТ Лебединский ГОК
УЖДТ Лебединский ГОК
HIMEC MF 904

Фотография HIMEC MF 904

Михайловский ГОК погрузка руды
Михайловский ГОК погрузка руды
БЕЛАЗ Восточный рудник
БЕЛАЗ Восточный рудник
Принципиальная схема ленточного конвейера
Принципиальная схема ленточного конвейера
Конвейерный Штрек в шахте
Конвейерный Штрек в шахте
Шахтный электровоз аккумуляторный АРВ 8
Шахтный электровоз аккумуляторный АРВ 8
Dd421 буровая Сандвик
Dd421 буровая Сандвик
ПДМ Cat 1700
ПДМ Cat 1700
Лебедка ЛВД-24
Лебедка ЛВД-24
Шахтный транспорт
Шахтный транспорт
Дизель-гидравлический Локомотив
Дизель-гидравлический Локомотив
Крутонаклонный конвейер Михайловский ГОК
Крутонаклонный конвейер Михайловский ГОК
ПДМ машина шахтная
ПДМ машина шахтная
Горно шахтные машины
Горно шахтные машины
Шахтный самосвал Sandvik
Шахтный самосвал Sandvik
Шахтный подвесной Локомотив dlz110f

Фотография Шахтный подвесной Локомотив dlz110f

Лебединский Горно-обогатительный комбинат ЛГОК
Лебединский Горно-обогатительный комбинат ЛГОК
Вагонетка шахтная пассажирская ВПГ-18
Вагонетка шахтная пассажирская ВПГ-18
Роторный вагоноопрокидыватель ВРС 110
Роторный вагоноопрокидыватель ВРС 110
Шахтная Электровозная откатка
Шахтная Электровозная откатка
Шахтный дизелевоз феррит 110
Шахтный дизелевоз феррит 110
Уголь в вагонах Кузбасс
Уголь в вагонах Кузбасс
Электровоз подземный шахтный
Электровоз подземный шахтный
ПДМ Caterpillar r1700g
ПДМ Caterpillar r1700g
Самосвал Sandvik th540
Самосвал Sandvik th540
ФОСАГРО Апатит Кировск
ФОСАГРО Апатит Кировск
Лебедка шва-18000х0.25п
Лебедка шва-18000х0.25п
Феррит 110 шахтовый монорельсовый дизелевоз
Феррит 110 шахтовый монорельсовый дизелевоз
Самоходный вагон 5вс-15м
Самоходный вагон 5вс-15м
Лебёдка пневматическая шв 710 0.35 п
Лебёдка пневматическая шв 710 0.35 п
Вагонетка для Шахты
Вагонетка для Шахты
Комбайн проходческо-очистной «Урал-20р»
Комбайн проходческо-очистной «Урал-20р»
Гидравлический транспорт
Гидравлический транспорт
Машинист скреперной лебедки
Машинист скреперной лебедки
Очистной комбайн 2гш68б
Очистной комбайн 2гш68б
Шахтный электровоз ам8д
Шахтный электровоз ам8д
0

Похожие фотографии

Комментарии (0)

Кликните на изображение чтобы обновить код, если он неразборчив