Комбинированный воздушно реактивный двигатель

0
Прямоточный воздушно-реактивный двигатель (ПВРД).
Прямоточный воздушно-реактивный двигатель (ПВРД).
ТРД + прямоточный воздушно-реактивный двигатель
ТРД + прямоточный воздушно-реактивный двигатель
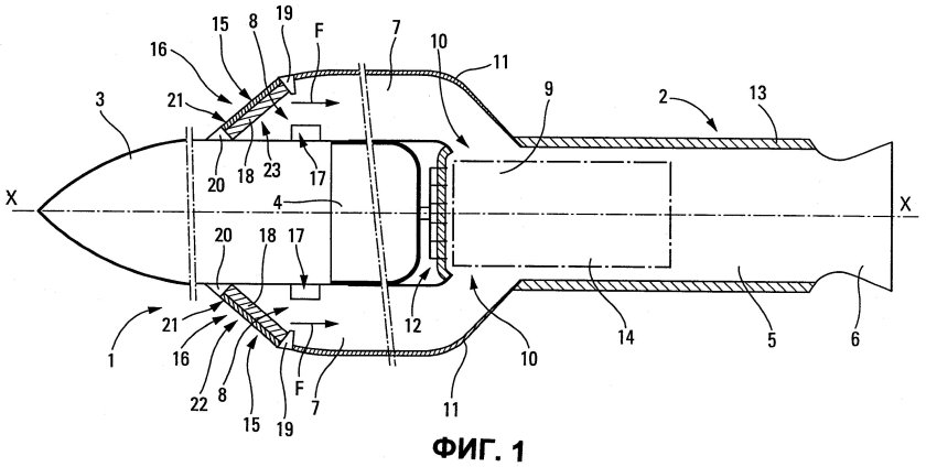
Sabre - гибридный воздушно-реактивный/ракетный двигатель
Sabre - гибридный воздушно-реактивный/ракетный двигатель
Турбовентиляторный реактивный двигатель
Турбовентиляторный реактивный двигатель
Гибридный ракетный двигатель (Грд)
Гибридный ракетный двигатель (Грд)
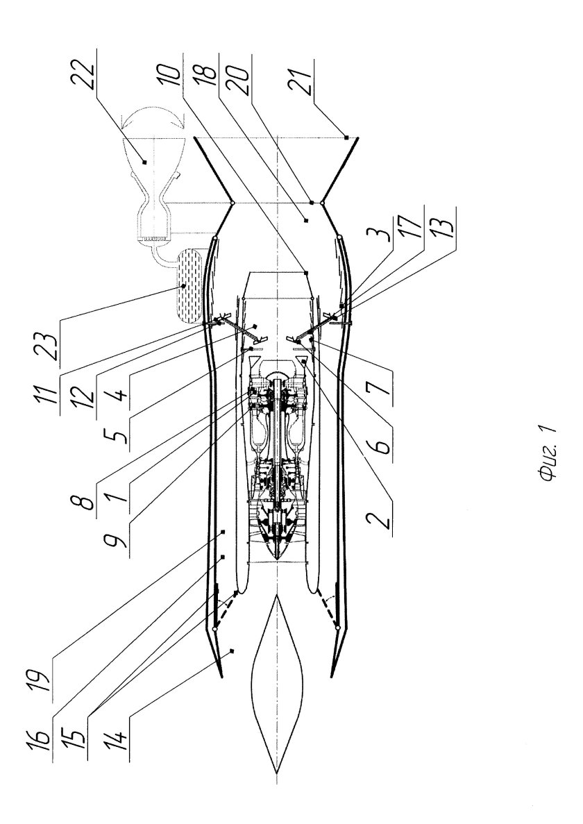
Реактивные двигатели Sabre
Реактивные двигатели Sabre
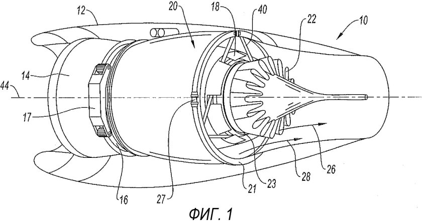
Турбопрямоточный двигатель
Турбопрямоточный двигатель
Гиперзвуковой прямоточный воздушно-реактивный двигатель
Гиперзвуковой прямоточный воздушно-реактивный двигатель
Прямоточный твердотопливный реактивный двигатель

Фотография Прямоточный твердотопливный реактивный двигатель

Rolls-Royce турбины
Rolls-Royce турбины
Мотокомпрессорный воздушно-реактивный двигатель
Мотокомпрессорный воздушно-реактивный двигатель
Прямоточный турбореактивный двигатель
Прямоточный турбореактивный двигатель
Воздушно реактивные двигатели
Воздушно реактивные двигатели
Стенд для испытания ракетных двигателей
Стенд для испытания ракетных двигателей
Испытательный стенд для ТРД
Испытательный стенд для ТРД
Схема двухконтурного двигателя турбореактивного
Схема двухконтурного двигателя турбореактивного
Авиационный двигатель genx
Авиационный двигатель genx
Турбовальный двигатель PBS ts100
Турбовальный двигатель PBS ts100
Воздушно-реактивный двигатель [ВРД
Воздушно-реактивный двигатель [ВРД
ТРД + прямоточный воздушно-реактивный двигатель

Фотография ТРД + прямоточный воздушно-реактивный двигатель

Входное устройство турбореактивного двигателя
Входное устройство турбореактивного двигателя
Воздушно-реактивный двигатель схема
Воздушно-реактивный двигатель схема
Pratt & Whitney f135
Pratt & Whitney f135
Cfm56 Jet engine
Cfm56 Jet engine
Пульсирующие воздушно-реактивные двигатели (ПУВРД)
Пульсирующие воздушно-реактивные двигатели (ПУВРД)
Пульсирующий реактивный двигатель
Пульсирующий реактивный двигатель
Гиперзвуковой прямоточный воздушно-реактивный
Гиперзвуковой прямоточный воздушно-реактивный
Ракетный двигатель РД 0110
Ракетный двигатель РД 0110
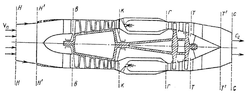
Конструктивная схема турбореактивного двигателя ТРД
Конструктивная схема турбореактивного двигателя ТРД
Пульсирующие воздушно-реактивные двигатели (ПУВРД)
Пульсирующие воздушно-реактивные двигатели (ПУВРД)
Форсажная камера двигателя f135
Форсажная камера двигателя f135
Прямоточный воздушно-реактивный двигатель
Прямоточный воздушно-реактивный двигатель
Пульсирующие воздушно-реактивные двигатели (ПУВРД)
Пульсирующие воздушно-реактивные двигатели (ПУВРД)
Прямоточный воздушно реактивный двигатель
Прямоточный воздушно реактивный двигатель
Схема прямоточного воздушно-реактивного двигателя
Схема прямоточного воздушно-реактивного двигателя
Турбовинтовой двигатель tp100
Турбовинтовой двигатель tp100
Схема турбовинтового двигателя самолета
Схема турбовинтового двигателя самолета
Воздушно-реактивный двигатель
Воздушно-реактивный двигатель
Двигатель 36мт (ТРДД-50ат).
Двигатель 36мт (ТРДД-50ат).
Прямоточный твердотопливный реактивный двигатель

Фотография Прямоточный твердотопливный реактивный двигатель

Cfm56 Jet engine
Cfm56 Jet engine
Мини реактивный двигатель JETCAT P-100
Мини реактивный двигатель JETCAT P-100
Воздушно-реактивный двигатель [ВРД
Воздушно-реактивный двигатель [ВРД
Scramjet двигатель
Scramjet двигатель
24.05.02 Проектирование авиационных и ракетных двигателей
24.05.02 Проектирование авиационных и ракетных двигателей
Реактивный двигатель
Реактивный двигатель
Прямоточный воздушно-реактивный двигатель на твердом топливе
Прямоточный воздушно-реактивный двигатель на твердом топливе
Термоядерный реактор схема и принцип работы
Термоядерный реактор схема и принцип работы
Сопло ракеты схема
Сопло ракеты схема
Двигатель самолета а 320
Двигатель самолета а 320
ТРДДФ Eurojet ej200
ТРДДФ Eurojet ej200
Рд1 люлька двигатель
Рд1 люлька двигатель
Pratt & Whitney j58
Pratt & Whitney j58
Микро турбореактивный двигатель Джет
Микро турбореактивный двигатель Джет
Турбореактивный двигатель KJ-66
Турбореактивный двигатель KJ-66
Jumo 004 двигатель
Jumo 004 двигатель
ТРДД Snecma
ТРДД Snecma
Двухконтурный турбореактивный двигатель
Двухконтурный турбореактивный двигатель
Прямоточный воздушно-реактивный
Прямоточный воздушно-реактивный
Межзвёздный двигатель

Фотография Межзвёздный двигатель

Импульсный воздушно реактивный двигатель
Импульсный воздушно реактивный двигатель
Бесклапанный пульсирующий воздушно-реактивный двигатель чертежи
Бесклапанный пульсирующий воздушно-реактивный двигатель чертежи
Турбореактивные двигатели
Турбореактивные двигатели
Afterburner Jet engine
Afterburner Jet engine
Двигатель Rolls-Royce Trent
Двигатель Rolls-Royce Trent
Воздушно-реактивный детонационный двигатель
Воздушно-реактивный детонационный двигатель
Реактивные двигатели Sabre
Реактивные двигатели Sabre
Д-36 двигатель схема
Д-36 двигатель схема
Турбо реактивный двигатель
Турбо реактивный двигатель
Пульсирующий реактивный двигатель для авиамоделей
Пульсирующий реактивный двигатель для авиамоделей
Осколочно пучковый снаряд
Осколочно пучковый снаряд
Прямоточный реактивный двигатель
Прямоточный реактивный двигатель
0

Похожие фотографии

Комментарии (0)

Кликните на изображение чтобы обновить код, если он неразборчив