Электромагнитная катапульта

0
Паровая катапульта на авианосце принцип действия
Паровая катапульта на авианосце принцип действия
Электромагнитная катапульта для авианосцев
Электромагнитная катапульта для авианосцев
USS Gerald r. Ford CVN-78
USS Gerald r. Ford CVN-78
Авианосец сша
Авианосец сша
Взлетная полоса шереметьево
Взлетная полоса шереметьево
Aircraft carrier
Aircraft carrier
Магнитный космический поезд Startram
Магнитный космический поезд Startram
F a 18 super hornet
F a 18 super hornet
Турбодетандер гелиймаш

Фотография Турбодетандер гелиймаш

Американские авианосцы
Американские авианосцы
Адмирал Кузнецов авианосец катапульта
Адмирал Кузнецов авианосец катапульта
Стартовая катапульта на авианосце
Стартовая катапульта на авианосце
Авианосец американский
Авианосец американский
Адмирал Кузнецов авианосец катапульта
Адмирал Кузнецов авианосец катапульта
Uss gerald r. ford cvn-78
Uss gerald r. ford cvn-78
Адмирал Кузнецов авианосец катапульта
Адмирал Кузнецов авианосец катапульта
Гидравлическая катапульта авианосца
Гидравлическая катапульта авианосца
Катапульта на Адмирале Кузнецове
Катапульта на Адмирале Кузнецове
Самолет на катапульте авианосца
Самолет на катапульте авианосца
SPINLAUNCH центрифуга

Фотография SPINLAUNCH центрифуга

Катапульта на авианосце
Катапульта на авианосце
Electromagnetic aircraft Launch System
Electromagnetic aircraft Launch System
Стартовая катапульта на авианосце
Стартовая катапульта на авианосце
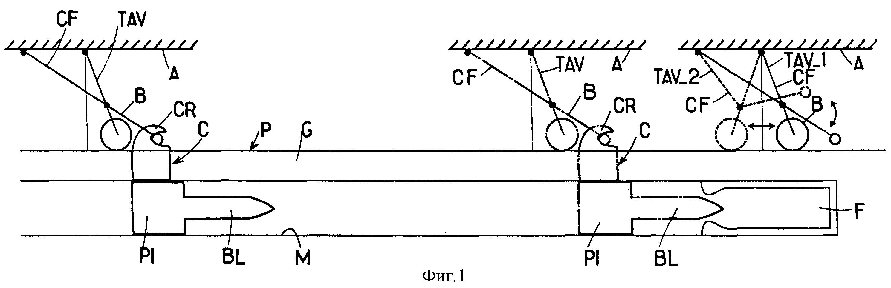
Устройство паровой катапульты авианосца
Устройство паровой катапульты авианосца
Блинчиковая катапульта
Блинчиковая катапульта
Паровая катапульта на авианосце
Паровая катапульта на авианосце
Мордор катапульта
Мордор катапульта
Устройство паровой катапульты авианосца
Устройство паровой катапульты авианосца
Катапульта из лего
Катапульта из лего
Взлет Су 33 с палубы Кузнецова
Взлет Су 33 с палубы Кузнецова
Паровая катапульта на авианосце
Паровая катапульта на авианосце
USS Enterprise CVN-65
USS Enterprise CVN-65
МИНДУСТРИЯ электромагнитная катапульта ветка исследований
МИНДУСТРИЯ электромагнитная катапульта ветка исследований
Катапульта

Фотография Катапульта

Электромагнитная рельсовая пушка
Электромагнитная рельсовая пушка
Стартовая катапульта на авианосце
Стартовая катапульта на авианосце
Катапульта на авианосце
Катапульта на авианосце
Trench Crusade Miniature
Trench Crusade Miniature
Рельсотрон на корабле
Рельсотрон на корабле
Астероидный гравитационный буксир
Астероидный гравитационный буксир
Китайский авианосец Фуцзянь
Китайский авианосец Фуцзянь
Рельсотрон Bae Systems
Рельсотрон Bae Systems
Дрон SCANEAGLE
Дрон SCANEAGLE
Электромагнитная рельсовая пушка
Электромагнитная рельсовая пушка
Катапульта на авианосце
Катапульта на авианосце
Катапультный взлет с авианосца
Катапультный взлет с авианосца
Dassault Etendard палубный истребитель-бомбардировщик
Dassault Etendard палубный истребитель-бомбардировщик
Космический поезд
Космический поезд
SCANEAGLE беспилотный летательный аппарат
SCANEAGLE беспилотный летательный аппарат
Паровая катапульта
Паровая катапульта
Баллиста стреломет
Баллиста стреломет
0

Похожие фотографии

Комментарии (0)

Кликните на изображение чтобы обновить код, если он неразборчив