Вычислитель управления полетом

0
Органы управления судном
Органы управления судном
Система управления самолетом
Система управления самолетом
FMS System
FMS System
Управления полетом самолета
Управления полетом самолета
SSJ 100 кабина
SSJ 100 кабина
Вычислитель УВП-280
Вычислитель УВП-280
Электродистанционная система управления самолетом
Электродистанционная система управления самолетом
Система траекторного управления
Система траекторного управления
Аналоговый компьютер

Фотография Аналоговый компьютер

MK III Torpedo data Computer
MK III Torpedo data Computer
Центр управления полётами (ЦУП)
Центр управления полётами (ЦУП)
MCDU a320
MCDU a320
A320 электродистанционная система управления
A320 электродистанционная система управления
Счетная суммирующая машина Блеза Паскаля
Счетная суммирующая машина Блеза Паскаля
ЭВМ Эльбрус 2
ЭВМ Эльбрус 2
Схема е253642 yd
Схема е253642 yd
Танковый баллистический вычислитель т-80
Танковый баллистический вычислитель т-80
Компьютер Аполлона 11
Компьютер Аполлона 11
UAV ground Control Station
UAV ground Control Station
Бортовой комплекс управления космического аппарата
Бортовой комплекс управления космического аппарата
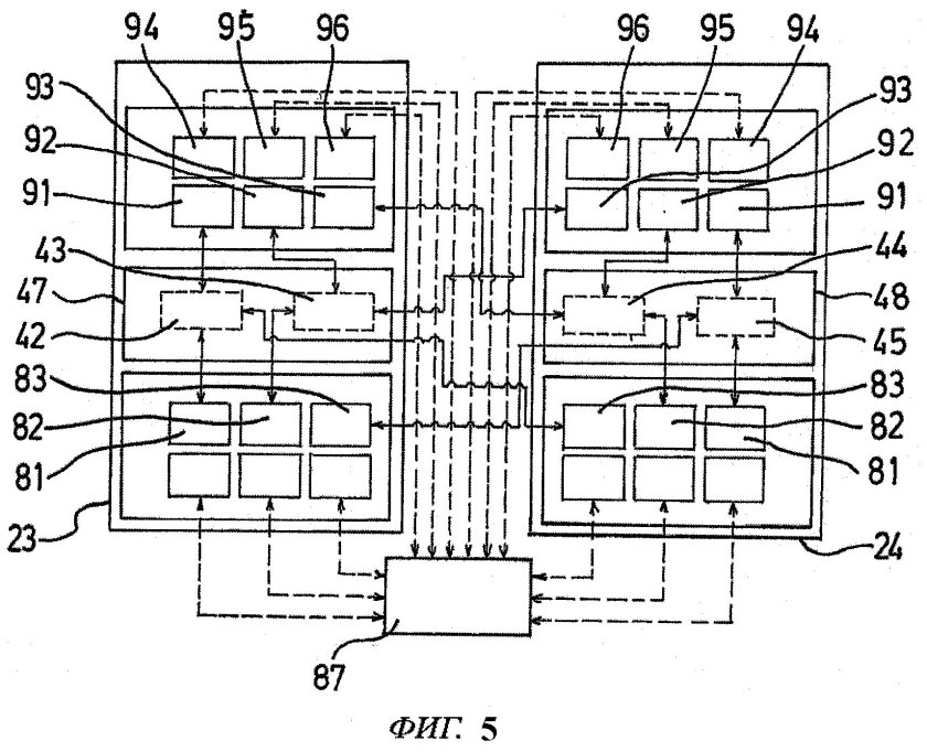
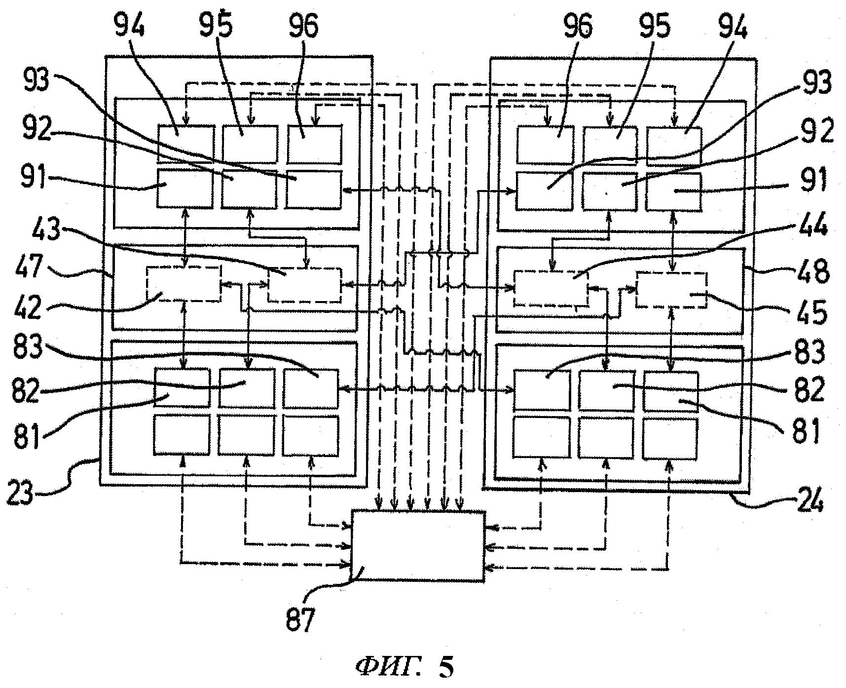
Бортового радиоэлектронного оборудования
Бортового радиоэлектронного оборудования
Расходомер-счетчик электромагнитный взлет тэр
Расходомер-счетчик электромагнитный взлет тэр
Ка-32 модель
Ка-32 модель
Приборная панель Восток 1
Приборная панель Восток 1
Apollo 8 1968
Apollo 8 1968
Чертежи БПЛА самолетного типа
Чертежи БПЛА самолетного типа
Eniac 1946 г
Eniac 1946 г
Авиадиспетчер СССР
Авиадиспетчер СССР
Счетчик СТД ВТД-Г
Счетчик СТД ВТД-Г
1951г. UNIVAC-1. (Англия)
1951г. UNIVAC-1. (Англия)
Автоматическая бортовая система управления АБСУ-154
Автоматическая бортовая система управления АБСУ-154
БЦВМ аргон-15
БЦВМ аргон-15
Тепловычислитель СКМ-2
Тепловычислитель СКМ-2
Телеметрическая система трал
Телеметрическая система трал
Пилот s7

Фотография Пилот s7

Пульт бук м1
Пульт бук м1
Пульт Космонавтов "Нептун-МЭ"
Пульт Космонавтов "Нептун-МЭ"
ЦУП ЦНИИМАШ
ЦУП ЦНИИМАШ
Inside hq
Inside hq
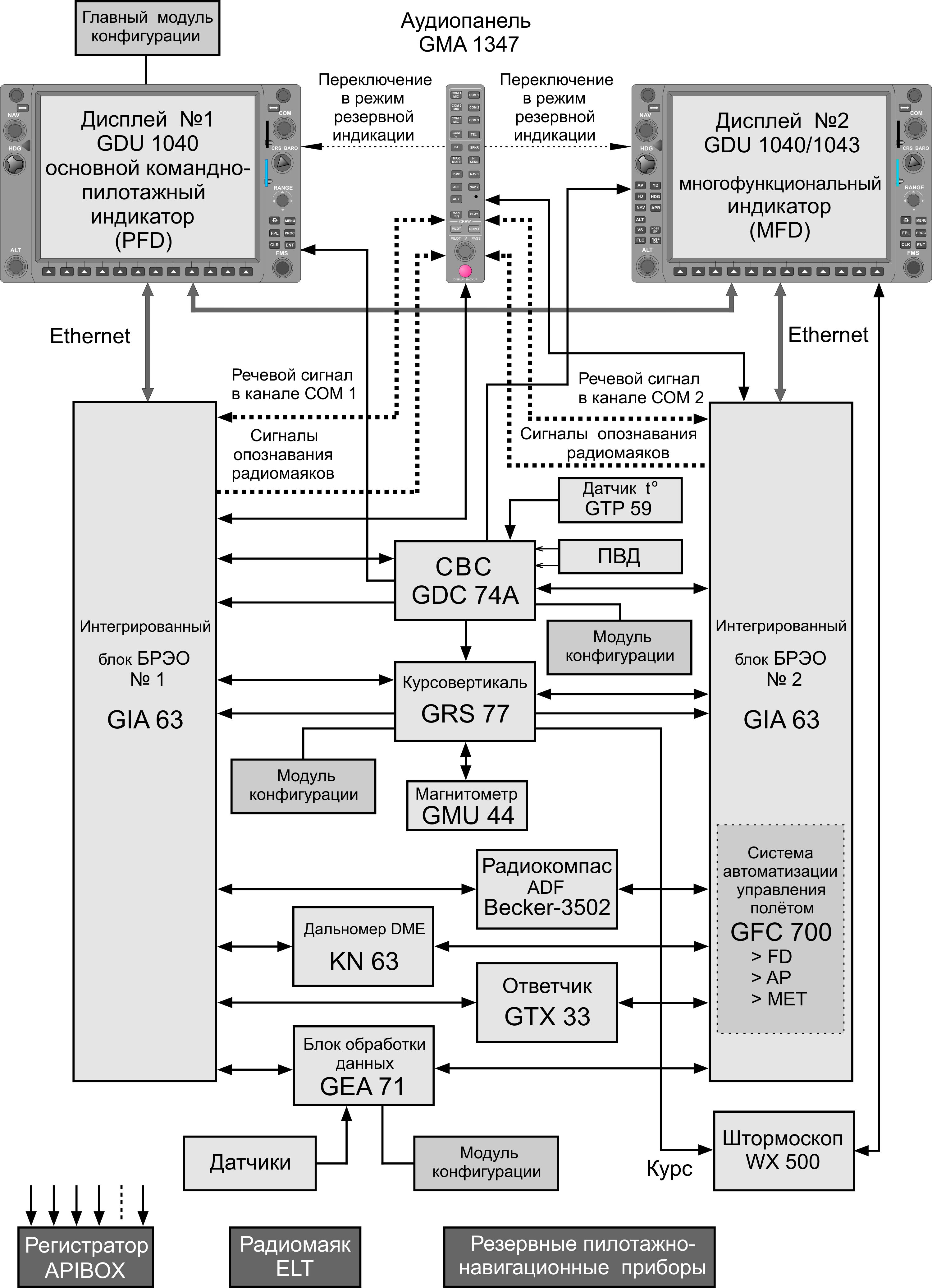
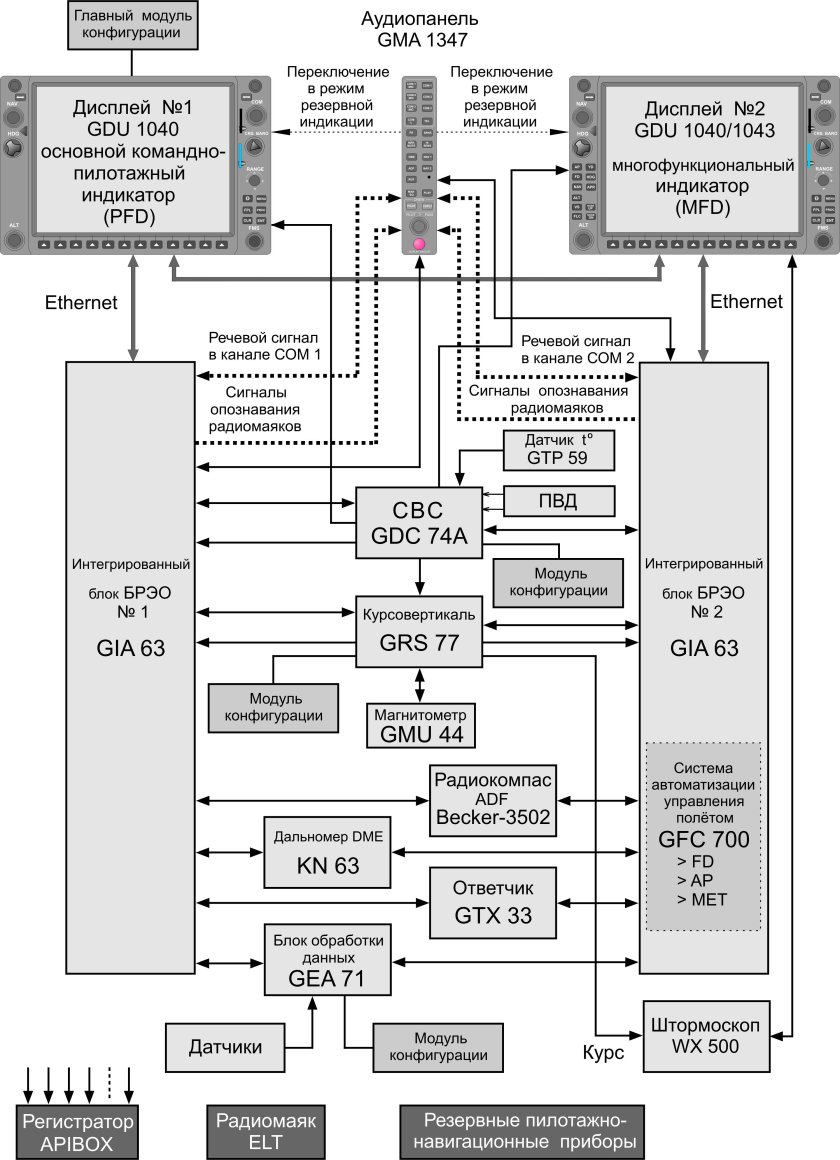
Система воздушных сигналов СВС
Система воздушных сигналов СВС
Наземная станция управления БПЛА Форпост
Наземная станция управления БПЛА Форпост
Центр управления полетами
Центр управления полетами
Summit 8800
Summit 8800
Центр управления полетами НАСА
Центр управления полетами НАСА
Пневматический вычислитель
Пневматический вычислитель
Вячеслав Георгиевич Довгань
Вячеслав Георгиевич Довгань
Эдвард Гибсон
Эдвард Гибсон
Zala 421-04m
Zala 421-04m
Управление воздушным движением
Управление воздушным движением
Центр управления полётами королёв
Центр управления полётами королёв
Тепловычислитель ТСРВ-024м

Фотография Тепловычислитель ТСРВ-024м

Космопроходцы
Космопроходцы
0

Похожие фотографии

Комментарии (0)

Кликните на изображение чтобы обновить код, если он неразборчив