Газовый двигатель с искровым зажиганием

0
Схема двигателя с искровым зажиганием
Схема двигателя с искровым зажиганием
Двухимпульсный регулятор питания
Двухимпульсный регулятор питания
Двигатель ман v12
Двигатель ман v12
Газовый двигатель man e3262 le202
Газовый двигатель man e3262 le202
Газопоршневой двигатель Катерпиллер
Газопоршневой двигатель Катерпиллер
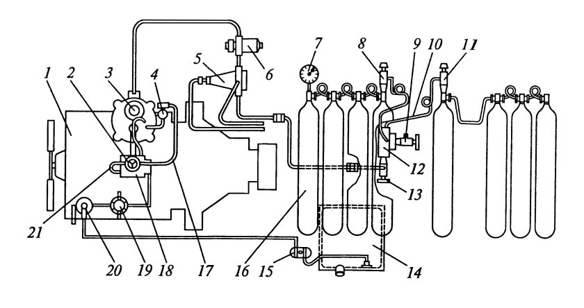
Схема автомобильной газобаллонной установки для сжатого газа:
Схема автомобильной газобаллонной установки для сжатого газа:
Газовый двигатель man e3262 le202
Газовый двигатель man e3262 le202
Газовый двигатель т12.42
Газовый двигатель т12.42
Форкамерно факельная система зажигания

Фотография Форкамерно факельная система зажигания

Газовый двигатель т12.42
Газовый двигатель т12.42
Двигатель Yuchai
Двигатель Yuchai
Газопоршневая электростанция
Газопоршневая электростанция
Мотор скания v8
Мотор скания v8
Газовый двигатель т12.42
Газовый двигатель т12.42
D12.42-40 Sinotruk
D12.42-40 Sinotruk
Двигатель на природном газе
Двигатель на природном газе
Камаз двигатель
Камаз двигатель
Принцип работы газового двигателя
Принцип работы газового двигателя
Двигатели для спецтехники
Двигатели для спецтехники
КАМАЗ 65115 на метане

Фотография КАМАЗ 65115 на метане

HOWO a7
HOWO a7
Двигатель с искровым зажиганием
Двигатель с искровым зажиганием
Газовый двигатель схема
Газовый двигатель схема
Гдг90 гдг500/1000
Гдг90 гдг500/1000
Двигатель yc6mk375n-50
Двигатель yc6mk375n-50
Отто Николаус первый двигатель внутреннего сгорания
Отто Николаус первый двигатель внутреннего сгорания
Давление сжатия дизеля д49
Давление сжатия дизеля д49
DLE 130
DLE 130
Принцип работы двигателя
Принцип работы двигателя
Свеча зажигания в двигателе внутреннего сгорания схема
Свеча зажигания в двигателе внутреннего сгорания схема
Двигатель с ГБО
Двигатель с ГБО
Система ГБО 4-го поколения
Система ГБО 4-го поколения
Мотор ГАЗ 52
Мотор ГАЗ 52
Криогенный бак спг
Криогенный бак спг
Двигатель для HOWO a7 2019
Двигатель для HOWO a7 2019
Интернационал дизель 7.3л
Интернационал дизель 7.3л
Водородные двигатели
Водородные двигатели
Трехцилиндровый радиальный двигатель Saito fa-170r.
Трехцилиндровый радиальный двигатель Saito fa-170r.
Мотор b201 Saab
Мотор b201 Saab
Ротор HP МС-10

Фотография Ротор HP МС-10

Впрыск на двигатель ГАЗ 21
Впрыск на двигатель ГАЗ 21
Турбина КАМАЗ 6520 евро 2
Турбина КАМАЗ 6520 евро 2
Николаус Отто двигатель внутреннего сгорания
Николаус Отто двигатель внутреннего сгорания
Двигатель Ленуара Отто
Двигатель Ленуара Отто
DLE 130
DLE 130
Двигатель бензиновый авиамодельный 26 кубов
Двигатель бензиновый авиамодельный 26 кубов
Газовый двигатель Катерпиллер 3616
Газовый двигатель Катерпиллер 3616
Газовые двигатели
Газовые двигатели
DLE 130
DLE 130
ГАЗ 51ф двигатель
ГАЗ 51ф двигатель
0

Похожие фотографии

Комментарии (0)

Кликните на изображение чтобы обновить код, если он неразборчив