Бак вертолета

0
Вертолет ми 8
Вертолет ми 8
Ми 8 подвесные топливные баки
Ми 8 подвесные топливные баки
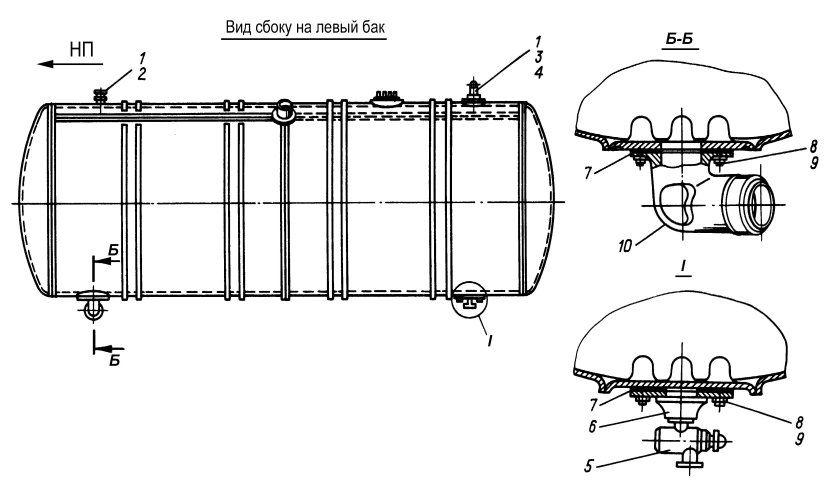
Бак вертолета ми 8
Бак вертолета ми 8
Ми 24 топливный бак
Ми 24 топливный бак
Ми-8 вертолёт
Ми-8 вертолёт
Ми 8 топливные баки
Ми 8 топливные баки
Ми 8 топливные баки
Ми 8 топливные баки
Ми 8 топливные баки
Ми 8 топливные баки
Robinson r66 дополнительный бак

Фотография Robinson r66 дополнительный бак

Ми 8 топливные баки
Ми 8 топливные баки
Ми 24 топливный бак
Ми 24 топливный бак
Ми 26 кабина
Ми 26 кабина
Подвесной топливный бак ми-8
Подвесной топливный бак ми-8
Ми 8 подвесные топливные баки
Ми 8 подвесные топливные баки
Ми-8 грузовой люк
Ми-8 грузовой люк
Ми 8 топливные баки
Ми 8 топливные баки
Подвесной топливный бак ка 52
Подвесной топливный бак ка 52
Вертолет Казанского завода Ансат
Вертолет Казанского завода Ансат
Подвесной топливный бак ПТБ 3000
Подвесной топливный бак ПТБ 3000
Турбина вертолета

Фотография Турбина вертолета

Вертолёт ми-8амт
Вертолёт ми-8амт
Robinson r66
Robinson r66
Подвесные топливные баки вертолета ми-8
Подвесные топливные баки вертолета ми-8
Ми-8 вертолёт
Ми-8 вертолёт
Вертолет ми 8 мчс
Вертолет ми 8 мчс
Ми-8мтв-1 кабина
Ми-8мтв-1 кабина
Додж рам топливный бак
Додж рам топливный бак
Ми 8 топливные баки
Ми 8 топливные баки
Стойка шасси ми-8
Стойка шасси ми-8
Ми 8 топливные баки
Ми 8 топливные баки
Бак ми 8
Бак ми 8
Вертолет ми-8амтш Терминатор
Вертолет ми-8амтш Терминатор
Вертолет ми-28 н
Вертолет ми-28 н
Robinson r66 дополнительный бак
Robinson r66 дополнительный бак
Мягкий топливный бак вертолет
Мягкий топливный бак вертолет
Подкрылок Мазда cx5 sat
Подкрылок Мазда cx5 sat
Вертолет ка-52 "Аллигатор"
Вертолет ка-52 "Аллигатор"
Топливный бак вертолета
Топливный бак вертолета
Ми 8 топливные баки
Ми 8 топливные баки
Ка-52 Аллигатор

Фотография Ка-52 Аллигатор

Топливная система вертолета ми-8
Топливная система вертолета ми-8
Мягкий топливный бак вертолет
Мягкий топливный бак вертолет
Где находится бензиновый бак
Где находится бензиновый бак
Мягкий топливный бак вертолет
Мягкий топливный бак вертолет
Топливный бак самолёта 800л
Топливный бак самолёта 800л
Соосная система винтов вертолета
Соосная система винтов вертолета
Гидравлическая система вертолета ми-8
Гидравлическая система вертолета ми-8
Двигатель вертолета ка 26
Двигатель вертолета ка 26
Вертолеты ми-28уб
Вертолеты ми-28уб
Топливные баки ми-8 вертолёт
Топливные баки ми-8 вертолёт
Вертолет "ми-24а"
Вертолет "ми-24а"
Вертолёт ми-8 АМТШ
Вертолёт ми-8 АМТШ
Топливная система вертолета ми-24
Топливная система вертолета ми-24
Вертолет ка-52 "Аллигатор"
Вертолет ка-52 "Аллигатор"
Топливный бак вертолета
Топливный бак вертолета
Ка-52 топливный бак
Ка-52 топливный бак
Гидравлическая система вертолета ми-8
Гидравлическая система вертолета ми-8
Шасси вертолет ми171
Шасси вертолет ми171
Подвесные баки bf-109
Подвесные баки bf-109
Ми 8 топливные баки

Фотография Ми 8 топливные баки

Двигатель вертолета ми 24
Двигатель вертолета ми 24
Ми 17 АМТШ
Ми 17 АМТШ
ЭВУ вертолета ми 24
ЭВУ вертолета ми 24
Пулемет корд ми-24
Пулемет корд ми-24
Шасси ми 8 МТ
Шасси ми 8 МТ
Bell 412 Азербайджана
Bell 412 Азербайджана
Запчасти для грузовиков
Запчасти для грузовиков
Кабина ми-8мтв
Кабина ми-8мтв
Грузоподъемность вертолета ми 8
Грузоподъемность вертолета ми 8
Ми 8 МТ грузовая кабина
Ми 8 МТ грузовая кабина
Вертолёт ми-8 пассажирский салон
Вертолёт ми-8 пассажирский салон
Корректируемая авиационная бомба каб-1500лг
Корректируемая авиационная бомба каб-1500лг
Ми-24 кабина
Ми-24 кабина
Ми-8 кабина
Ми-8 кабина
Heli-Resin Kits
Heli-Resin Kits
Подвесные топливные баки ПТБ-800
Подвесные топливные баки ПТБ-800
Шасси вертолета ми-8
Шасси вертолета ми-8
Ка-52 Аллигатор 061
Ка-52 Аллигатор 061
Robinson r66 двигатель
Robinson r66 двигатель
Ми 6 Чебеньки
Ми 6 Чебеньки
Подвесные топливные баки Су-24
Подвесные топливные баки Су-24
Вертолет "ми-24а"
Вертолет "ми-24а"
Ми-8 вертолёт
Ми-8 вертолёт
0

Похожие фотографии

Комментарии (0)

Кликните на изображение чтобы обновить код, если он неразборчив