Дифференциал повышенного трения принцип работы

0
Система электронной блокировки дифференциала
Система электронной блокировки дифференциала
Дифференциал повышенного трения LSD
Дифференциал повышенного трения LSD
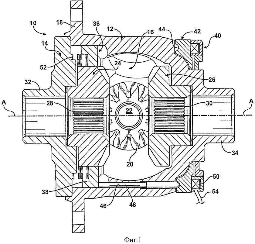
Червячный дифференциал торсен
Червячный дифференциал торсен
Червячный самоблокирующийся дифференциал
Червячный самоблокирующийся дифференциал
Самоблокирующийся дифференциал Torsen
Самоблокирующийся дифференциал Torsen
Дифференциал повышенного трения LSD
Дифференциал повышенного трения LSD
Дифференциал повышенного трения LSD
Дифференциал повышенного трения LSD
Самоблокирующийся дифференциал Красикова
Самоблокирующийся дифференциал Красикова
Дифференциал винтовой, самоблокирующийся 2108

Фотография Дифференциал винтовой, самоблокирующийся 2108

Дифференциал повышенного трения
Дифференциал повышенного трения
Дисковая блокировка дифференциала ВАЗ 2107
Дисковая блокировка дифференциала ВАЗ 2107
Дифференциал торсен принцип работы
Дифференциал торсен принцип работы
Кулачковый дифференциал ГАЗ 66
Кулачковый дифференциал ГАЗ 66
Самоблокирующийся дифференциал схема
Самоблокирующийся дифференциал схема
Дифференциал Toyota Crown
Дифференциал Toyota Crown
Дифференциал ограниченного проскальзывания
Дифференциал ограниченного проскальзывания
Самоблокирующийся дифференциал 2108
Самоблокирующийся дифференциал 2108
Limited Slip Differential Clutch
Limited Slip Differential Clutch
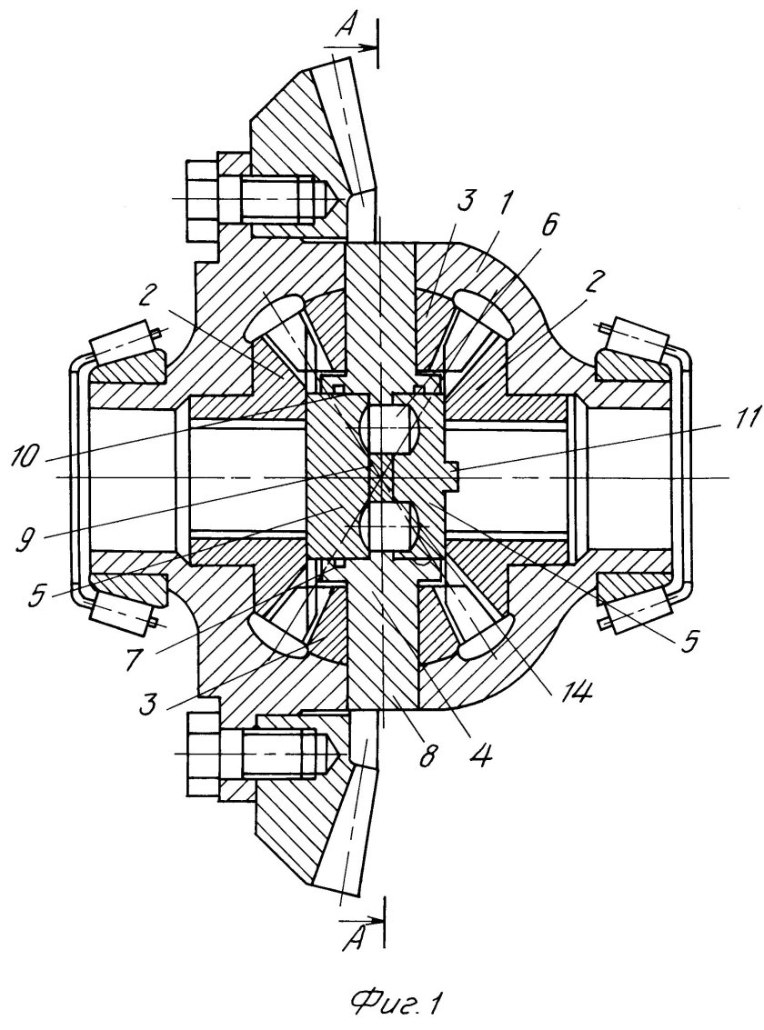
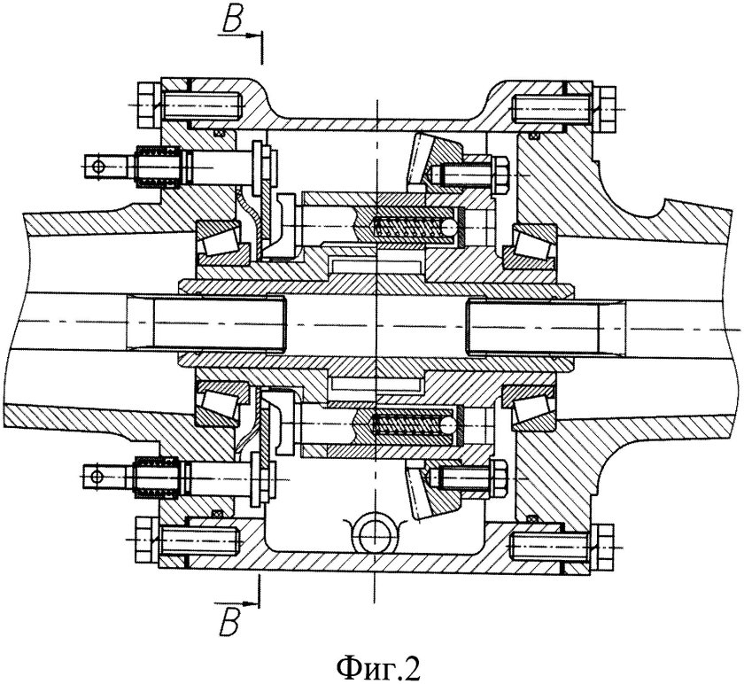
Червячный дифференциал
Червячный дифференциал
Дифференциал повышенного трения схема

Фотография Дифференциал повышенного трения схема

Самоблокирующийся дифференциал Torsen
Самоблокирующийся дифференциал Torsen
Дисковая блокировка дифференциала ВАЗ 2107
Дисковая блокировка дифференциала ВАЗ 2107
Дифференциал LSD Toyota
Дифференциал LSD Toyota
Самоблокирующийся дифференциал схема устройства
Самоблокирующийся дифференциал схема устройства
Gaz 69 блокировка заднего моста
Gaz 69 блокировка заднего моста
Присадка для LSD дифференциал
Присадка для LSD дифференциал
Блокировка дисковая 2108
Блокировка дисковая 2108
Дифференциал с повышенным внутренним трением
Дифференциал с повышенным внутренним трением
2way Cusco
2way Cusco
Электрическая блокировка дифференциала УАЗ Патриот
Электрическая блокировка дифференциала УАЗ Патриот
Дифф повышенного трения
Дифф повышенного трения
Val Racing самоблокирующийся дифференциал
Val Racing самоблокирующийся дифференциал
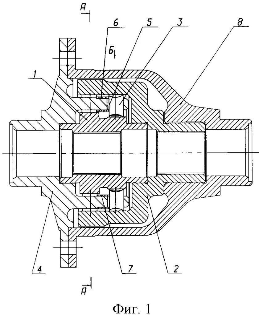
Корпус дифференциала ВАЗ 2101 чертеж
Корпус дифференциала ВАЗ 2101 чертеж
Самоблокирующийся дифференциал на ниву
Самоблокирующийся дифференциал на ниву
Дисковая блокировка
Дисковая блокировка
LSD дифференциал устройство
LSD дифференциал устройство
Дифференциал ВАЗ 2108 чертеж
Дифференциал ВАЗ 2108 чертеж
Limited slip differential
Limited slip differential
Дифференциал самоблокирующийся на уаз спайсер
Дифференциал самоблокирующийся на уаз спайсер
Схема дифференциалов ЛУАЗ

Фотография Схема дифференциалов ЛУАЗ

Торсен и халдекс
Торсен и халдекс
Самоблокирующийся дифференциал на ВАЗ 2110
Самоблокирующийся дифференциал на ВАЗ 2110
Кулачковый дифференциал ГАЗ 66 схема
Кулачковый дифференциал ГАЗ 66 схема
Самоблок ТЗС на ниву
Самоблок ТЗС на ниву
Самоблок LSD дифференциал
Самоблок LSD дифференциал
Дифференциал mtx75
Дифференциал mtx75
Межосевой дифференциал
Межосевой дифференциал
Дифференциал Газель
Дифференциал Газель
Червячный дифференциал торсен
Червячный дифференциал торсен
Устройство дифференциала
Устройство дифференциала
0

Похожие фотографии

Комментарии (0)

Кликните на изображение чтобы обновить код, если он неразборчив