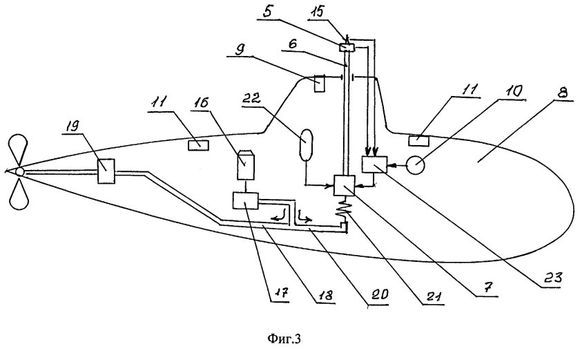
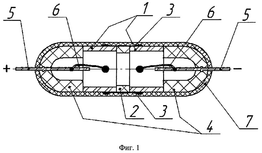
Буксируемая антенна подводной лодки

0
Гибкая протяженная буксируемая антенна ГПБА
Гибкая протяженная буксируемая антенна ГПБА
Буксируемая антенна подводной лодки параван
Буксируемая антенна подводной лодки параван
Гидроакустическая станция Гас
Гидроакустическая станция Гас
Подводная лодка 671ртмк
Подводная лодка 671ртмк
Подводная лодка h. l. Hunley
Подводная лодка h. l. Hunley
Буксируемая антенна подводной лодки параван
Буксируемая антенна подводной лодки параван
Гас Минотавр-м
Гас Минотавр-м
Подводные лодки стреляют
Подводные лодки стреляют
Стелс подводная лодка

Фотография Стелс подводная лодка

Сверхмалая подводная лодка «Тритон-2»
Сверхмалая подводная лодка «Тритон-2»
Гас мг-325 "Вега"
Гас мг-325 "Вега"
Гидроакустическая станция МГС-407
Гидроакустическая станция МГС-407
Автономные необитаемые подводные аппараты (АНПА).
Автономные необитаемые подводные аппараты (АНПА).
Антенны подводных лодок
Антенны подводных лодок
Подводная лодка u96 затонула
Подводная лодка u96 затонула
Подводная лодка Томск
Подводная лодка Томск
Антенное устройство "параван"
Антенное устройство "параван"
Перископ подводной лодки
Перископ подводной лодки
Буксируемая антенна подводной лодки параван
Буксируемая антенна подводной лодки параван
Гидролокатор подводной лодки

Фотография Гидролокатор подводной лодки

Система обнаружения подводных лодок SOSUS
Система обнаружения подводных лодок SOSUS
Гидроакустический комплекс Полином
Гидроакустический комплекс Полином
Гидроакустический комплекс подводной лодки
Гидроакустический комплекс подводной лодки
Гидроакустическая станция an/SQS-53b
Гидроакустическая станция an/SQS-53b
Буксируемая антенна подводной лодки параван
Буксируемая антенна подводной лодки параван
Спускаемый аппарат Меркурий
Спускаемый аппарат Меркурий
МГК-335эм-03 гидроакустический комплекс
МГК-335эм-03 гидроакустический комплекс
Б-396 подводная лодка
Б-396 подводная лодка
SMX 31 подлодка
SMX 31 подлодка
Связь с подводными лодками
Связь с подводными лодками
Скипджек подводная лодка
Скипджек подводная лодка
Подводная лодка к-324 проекта 671ртм
Подводная лодка к-324 проекта 671ртм
Внутри подводной лодки Малютка
Внутри подводной лодки Малютка
С-189 внутри
С-189 внутри
Американская стелс субмарина
Американская стелс субмарина
Гидроакустическая волоконно-оптическая антенна
Гидроакустическая волоконно-оптическая антенна
Гидроакустические системы обнаружения
Гидроакустические системы обнаружения
Варшавянка подводная лодка
Варшавянка подводная лодка
Вирджиния SSN-774
Вирджиния SSN-774
АПЛ к178 в бухте Павловского

Фотография АПЛ к178 в бухте Павловского

Подводные лодки проекта 941 «акула»
Подводные лодки проекта 941 «акула»
Гидроакустические системы обнаружения
Гидроакустические системы обнаружения
Гидроакустический комплекс подводной лодки
Гидроакустический комплекс подводной лодки
Подводная лодка 633 "Ромео"
Подводная лодка 633 "Ромео"
Схема размыва донных отложений в резервуарах
Схема размыва донных отложений в резервуарах
667бдрм «Дельфин»
667бдрм «Дельфин»
Подводная лодка Джимми Картер
Подводная лодка Джимми Картер
Гидроакустическая станция an/SQS-53b
Гидроакустическая станция an/SQS-53b
Подводная лодка Дельфин 1904
Подводная лодка Дельфин 1904
Бибер подводная лодка
Бибер подводная лодка
Буксируемая антенна
Буксируемая антенна
Гидроакустический комплекс МГК-300 "Рубин"
Гидроакустический комплекс МГК-300 "Рубин"
Подводная лодка
Подводная лодка
Подводная лодка Барракуда
Подводная лодка Барракуда
Гидроакустический комплекс МГК-400
Гидроакустический комплекс МГК-400
МГК-540 Скат-3
МГК-540 Скат-3
Проект 675 подводная лодка
Проект 675 подводная лодка
Гидроакустический комплекс МГК-400 «Рубикон»
Гидроакустический комплекс МГК-400 «Рубикон»
Сонар подводная лодка
Сонар подводная лодка
Подводная лодка 941

Фотография Подводная лодка 941

Подводный аппарат AUV-200
Подводный аппарат AUV-200
Проект 941 акула
Проект 941 акула
Судно сонар
Судно сонар
Модель пл 667а
Модель пл 667а
Подводные лодки проекта 941 «акула»
Подводные лодки проекта 941 «акула»
Аварийно спасательный буй на подводной лодке
Аварийно спасательный буй на подводной лодке
Подводная лодка акула проект 941
Подводная лодка акула проект 941
К-141 «Курск» подводная лодка
К-141 «Курск» подводная лодка
Параван трал
Параван трал
Radiodetection rd7200
Radiodetection rd7200
Гидроакустическая антенна
Гидроакустическая антенна
Подводная лодка акула
Подводная лодка акула
Гидроакустическая связь
Гидроакустическая связь
АПЛ 627 проекта
АПЛ 627 проекта
Гидролокация метод обнаружения подводной лодки
Гидролокация метод обнаружения подводной лодки
Подводная лодка Шильдера 1834
Подводная лодка Шильдера 1834
Гидроакустический комплекс МГК-608
Гидроакустический комплекс МГК-608
0

Похожие фотографии

Комментарии (0)

Кликните на изображение чтобы обновить код, если он неразборчив